LEMON Manuals: Even more car manuals for everyone
Home >> Scion >> 2008 >> xD Automatic >> Repair and Diagnosis >> Engine Performance >> 2ZR-FE Engine Control System >> SFI System >> DTC P2118 Throttle Actuator Control Motor Current Range / Performance >> Description

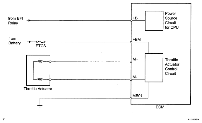
DTC P2118 Throttle Actuator Control Motor Current Range / Performance: Description

The ETCS (Electronic Throttle Control System) has a dedicated power supply circuit. The voltage (+BM) is monitored and when it is low (less than 4 V), the ECM determines that there is a malfunction in the ETCS and cuts off the current to the throttle actuator.

When the voltage becomes unstable, the ETCS itself becomes unstable. For this reason, when the voltage is low, the current to the throttle actuator is cut. If repairs are made and the system returns to normal, turn the ignition switch to OFF. The ECM then allows the current to flow to the throttle actuator so that it can be restarted.

HINT:

The ETCS does not use a throttle cable.

Fig 1: Electronic Throttle Control System Diagram
G05149437Courtesy of © TOYOTA, LICENSE AGREEMENT TMS1002
DTC DETECTION CONDITION AND TROUBLE AREA

DTC No. DTC Detection Condition Trouble Area
P2118 Open in ETCS power source (+BM) circuit (1 trip detection logic)
  • Open in ETCS power source circuit
  • Battery
  • Battery terminals
  • ETCS fuse
  • ECM