LEMON Manuals: Even more car manuals for everyone
Home >> Scion >> 2008 >> xB Standard >> Repair and Diagnosis >> Engine Performance >> System >> 2AZ-FE Engine Control System - SFI System Precautions And Diagnostic Introduction, Problem Symptoms Table, Diagnostic Trouble Code Chart >> SFI System >> Registration

SFI System: Registration

NOTE: The Vehicle Identification Number (VIN) must be input into the replacement ECM.

HINT:

The VIN is in the form of a 17-digit alphanumeric vehicle identification number. An intelligent tester or a Techstream is required to register the VIN.

  1. DESCRIPTION (Using Intelligent Tester) 

    This registration information consists of three parts: Input Instructions, Read VIN and Write VIN.

    1. Input Instructions: Explains the general VIN input instructions using an intelligent tester.
    2. Read VIN: Explains the VIN reading process in a flowchart. This process allows the VIN stored in the ECM to be read in order to confirm that the two VINs, provided with the vehicle and stored in the vehicle's ECM, are the same.
    3. Write VIN: Explains the VIN writing process in a flowchart. This process allows the VIN to be input into the ECM. If the ECM is changed, or the ECM VIN and vehicle VIN do not match, the VIN can be registered, or overwritten in the ECM by following this procedure.
  2. INPUT INSTRUCTIONS 
    1. Intelligent tester
      1. The arrow buttons (UP, DOWN, RIGHT and LEFT) and numerical buttons (0 to 9) are used, in order to input the VIN.
    2. Cursor Operation
      1. To move the cursor around the tester screen, press the RIGHT and LEFT buttons.
    3. Alphabetical Character Input
      1. Press the UP and DOWN buttons to select the desired alphabetical character.
      2. After selection, the cursor should move.
    4. Numeric Character Input
      1. Press the numerical button corresponding to the number that you want to input.
      2. After input, the cursor should move.

        HINT:

        Numerical characters can be selected by using the UP and DOWN buttons.

    5. Correction
      1. When correcting the input character(s), put the cursor onto the character using the RIGHT or LEFT buttons.
      2. Select or input the correct character using the UP/DOWN buttons, or the numerical buttons.
    6. Finishing Input Operation
      1. Make sure that the input VIN matches the vehicle VIN after input.
      2. Press the ENTER button on the tester.
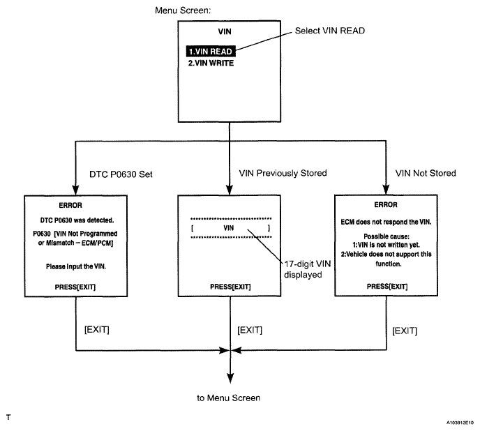
  3. READ VIN 
    1. Confirm the vehicle VIN.
    2. Connect the intelligent tester to the DLC3.
    3. Turn the ignition switch to ON.
    4. Turn the tester ON.
    5. Select the following menu items: DIAGNOSIS / ENHANCED OBD II/VIN.
      Fig 1: VIN READ Flow Diagram
      G05157054Courtesy of © TOYOTA, LICENSE AGREEMENT TMS1002
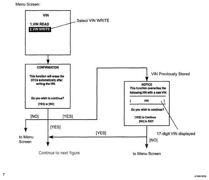
  4. WRITE VIN 
    1. Confirm the vehicle VIN.
    2. Connect the intelligent tester to the DLC3.
    3. Turn the ignition switch to ON.
    4. Turn the tester ON.
    5. Select the following menu items: DIAGNOSIS / ENHANCED OBD II/VIN.
      Fig 2: VIN Write Procedure Flow Chart (1 Of 3)
      G05157055Courtesy of © TOYOTA, LICENSE AGREEMENT TMS1002
      Fig 3: VIN Write Procedure Flow Chart (2 Of 3)
      G04828013Courtesy of © TOYOTA, LICENSE AGREEMENT TMS1002
      Fig 4: VIN Write Procedure Flow Chart (3 Of 3)
      G05157057Courtesy of © TOYOTA, LICENSE AGREEMENT TMS1002
  5. DESCRIPTION (Using Techstream) 

    HINT:

    This registration information consists of two parts: Read VIN and Write VIN.

    1. Read VIN: Explains the VIN reading process in a flowchart. This process allows the VIN stored in the ECM to be read in order to confirm that the two VINs, provided with the vehicle and stored in the vehicle's ECM, are the same.
    2. Write VIN: Explains the VIN writing process in a flowchart. This process allows the VIN to be input into the ECM. If the ECM is changed, or the ECM VIN and vehicle VIN do not match, the VIN can be registered, or overwritten in the ECM by following this procedure.
  6. READ VIN 
    1. Confirm the vehicle VIN.
    2. Connect a Techstream to the DLC3.
    3. Turn the ignition switch to ON.
    4. Turn the tester ON.
    5. Select the following menu items: Powertrain / Engine and ECT / Utility / VIN / VIN Read.
  7. WRITE VIN 
    1. Confirm the vehicle VIN.
    2. Connect the Techstream to the DLC3.
    3. Turn the ignition switch to ON.
    4. Turn the tester ON.
    5. Select the following menu items: Powertrain / Engine and ECT / Utility / VIN / VIN Write.