LEMON Manuals: Even more car manuals for everyone
Home >> Scion >> 2007 >> tC Base, Standard >> Repair and Diagnosis >> General Information >> Identification >> Introduction >> Repair Instruction >> Precaution

Repair Instruction: Precaution

  1. BASIC REPAIR HINT 
    1. HINTS ON OPERATIONS
      Fig 1: Precaution For Basic Repair
      G04864901Courtesy of © TOYOTA, LICENSE AGREEMENT TMS1002
    2. JACKING UP AND SUPPORTING VEHICLE
      1. Care must be taken when jacking up and supporting the vehicle. Be sure to lift and support the vehicle at the proper locations.
    3. PRECOATED PARTS
      1. Precoated parts are bolts and nuts that are coated with a seal lock adhesive at the factory.
      2. If a precoated part is retightened, loosened or moved in any way, it must be recoated with the specified adhesive.
      3. When reusing a precoated part, clean off the old adhesive and dry the part with compressed air. Then apply new seal lock adhesive appropriate to that part.
      4. Some seal lock agents harden slowly. You may have to wait for the seal lock adhesive to harden.
        Fig 2: Identifying Seal Lock Adhesive
        G04864902Courtesy of © TOYOTA, LICENSE AGREEMENT TMS1002
    4. GASKETS
      1. When necessary, use a sealer on gaskets to prevent leaks.
    5. BOLTS, NUTS AND SCREWS
      1. Carefully follow all the specifications for tightening torques. Always use a torque wrench.
    6. FUSES
      1. When inspecting a fuse, check that the wire of the fuse is not broken.
      2. When replacing fuses, be sure that the new fuse has the correct amperage rating. Do not exceed the rating or use one with a lower rating.
        Fig 3: Identifying Fuses (Incorrect And Correct)
        G04864903Courtesy of © TOYOTA, LICENSE AGREEMENT TMS1002
        FUSES SPECIFICATION

        Illustration Symbol Part Name Abbreviation
        G04864904Courtesy of © TOYOTA, LICENSE AGREEMENT TMS1002
        G04864905Courtesy of © TOYOTA, LICENSE AGREEMENT TMS1002
        FUSE FUSE
        G04864906Courtesy of © TOYOTA, LICENSE AGREEMENT TMS1002
        G04864907Courtesy of © TOYOTA, LICENSE AGREEMENT TMS1002
        MEDIUM CURRENT FUSE M-FUSE
        G04864908Courtesy of © TOYOTA, LICENSE AGREEMENT TMS1002
        G04864909Courtesy of © TOYOTA, LICENSE AGREEMENT TMS1002
        HIGH CURRENT FUSE H-FUSE
        G04864910Courtesy of © TOYOTA, LICENSE AGREEMENT TMS1002
        G04864911Courtesy of © TOYOTA, LICENSE AGREEMENT TMS1002
        FUSIBLE LINK FL
        G04864912Courtesy of © TOYOTA, LICENSE AGREEMENT TMS1002
        G04864913Courtesy of © TOYOTA, LICENSE AGREEMENT TMS1002
        CIRCUIT BREAKER CB
    7. CLIPS
      1. The removal and installation methods of typical clips used for vehicle body parts are shown in the table below.

        HINT:

        If clips are damaged during a procedure, always replace the damaged clip with a new clip.

        CLIPS SPECIFICATION

        Shape (Example) Illustration Procedures
        G04864914Courtesy of © TOYOTA, LICENSE AGREEMENT TMS1002
        G04864915Courtesy of © TOYOTA, LICENSE AGREEMENT TMS1002
        1. Remove clips with clip remover or pliers.
        G04864916Courtesy of © TOYOTA, LICENSE AGREEMENT TMS1002
        G04864917Courtesy of © TOYOTA, LICENSE AGREEMENT TMS1002
        1. Remove fasteners with clip remover or screwdriver.
        G04864918Courtesy of © TOYOTA, LICENSE AGREEMENT TMS1002
        G04864919Courtesy of © TOYOTA, LICENSE AGREEMENT TMS1002
        1. Remove clips with wide scraper to prevent panel damage.
        G04864920Courtesy of © TOYOTA, LICENSE AGREEMENT TMS1002
        G04864921Courtesy of © TOYOTA, LICENSE AGREEMENT TMS1002
        1. Remove clips by pushing center pin through and prying out shell.
        G04864922Courtesy of © TOYOTA, LICENSE AGREEMENT TMS1002
        G04864923Courtesy of © TOYOTA, LICENSE AGREEMENT TMS1002
        1. Remove clips by unscrewing center pin and prying out shell.
        G04864924Courtesy of © TOYOTA, LICENSE AGREEMENT TMS1002
        G04864925Courtesy of © TOYOTA, LICENSE AGREEMENT TMS1002
        1. Remove clips by prying out pin and then prying out shell.
    8. CLAWS
      1. The removal and installation methods of typical claws used for vehicle body parts are shown in the table below.

        HINT:

        If claws are damaged during a procedure, always replace the damaged claws with a new caps or covers.

        CLAWS SPECIFICATION

        Shape (Example) Illustration Procedures
        G04864926Courtesy of © TOYOTA, LICENSE AGREEMENT TMS1002
        G04864927Courtesy of © TOYOTA, LICENSE AGREEMENT TMS1002
        1. Using a screwdriver, detach the claws and remove the cap or covers.
        G04864928Courtesy of © TOYOTA, LICENSE AGREEMENT TMS1002
        G04864929Courtesy of © TOYOTA, LICENSE AGREEMENT TMS1002
        1. Using a screwdriver, detach the claws and remove the cap or covers.
        G04864930Courtesy of © TOYOTA, LICENSE AGREEMENT TMS1002
        G04864931Courtesy of © TOYOTA, LICENSE AGREEMENT TMS1002
        1. Using a screwdriver, detach the claws and remove the cap or covers.
    9. REMOVAL AND INSTALLATION OF VACUUM HOSES
      1. To disconnect a vacuum hose, pull and twist from the end of the hose. Do not pull from the middle of the hose as this may cause damage.
        Fig 4: Identifying Incorrect And Correct Way Of Disconnecting Vacuum Hose
        G04864932Courtesy of © TOYOTA, LICENSE AGREEMENT TMS1002
      2. When disconnecting vacuum hoses, use tags to identify where they should be reconnected.
      3. Fig 5: Identifying Tags On Vacuum Hoses
        G04864933Courtesy of © TOYOTA, LICENSE AGREEMENT TMS1002
      4. After completing any hose related repairs, double check that the vacuum hoses are properly connected. The label under the hood shows the proper layout.
      5. When using a vacuum gauge, never force the hose onto a connector that is too large. If a hose has been stretched, it may leak air. Use a step-down adapter if necessary.
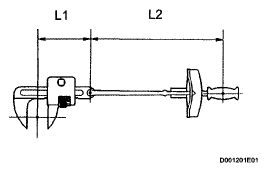
    10. TORQUE WHEN USING TORQUE WRENCH WITH EXTENSION TOOL
      Fig 6: Identifying Torque Wrench Dimensions
      G04864934Courtesy of © TOYOTA, LICENSE AGREEMENT TMS1002
      1. Use the formula below to calculate special torque values for situations where SST or an extension tool is combined with the torque wrench.

        Formula: 

        T' = L2/(L1 + L2) * T 

        TORQUE VALUES REFERENCE CHART

        T' Reading of torque wrench {N*m (kgf*cm, ft.*lbf)}
        T Torque {N*m (kgf*cm, ft.lbf)}
        L1 Length of SST or extension tool {cm (in.)}
        L2 Length of torque wrench {cm (in.)}
        Fig 7: Identifying SST Or Extension Tool Combined With Torque Wrench
        G04864935Courtesy of © TOYOTA, LICENSE AGREEMENT TMS1002
        NOTE: If an extension tool or SST is combined with a torque wrench and the wrench is used to tighten to a torque specification in this manual, the actual torque will be excessive and parts will be damaged.
  2. FOR VEHICLES EQUIPPED WITH SRS AIRBAG AND SEAT BELT PRETENSIONER 

    The SCION tC is equipped with a Supplemental Restraint System (SRS) and seat belt pretensioner.

    CAUTION: Failure to carry out the service operations in the correct sequence could cause the SRS to unexpectedly deploy during servicing and lead to serious injury. Furthermore, if a mistake is made when servicing the SRS, it is possible that the SRS may fail to operate properly. Before servicing (including removal, installation, inspection or replacement of parts), be sure to read the following section carefully.
    1. GENERAL NOTICE
      1. As malfunctions of the SRS are difficult to confirm, the Diagnostic Trouble Codes (DTCs) become the most important source of information when troubleshooting. When troubleshooting the SRS, always check the DTCs before disconnecting the battery.
      2. Work must be started at least 90 seconds after the ignition switch is turned OFF and after the cable is disconnected from the negative (-) battery terminal.

        The SRS is equipped with a back-up power source. If work is started within 90 seconds after turning the ignition switch OFF and disconnecting the cable from the negative (-) battery terminal, the SRS may deploy.

        When the cable is disconnected from the negative (-) battery terminal, clock and audio system memory is erased. Before starting work, make a note of the settings of each memory system. When work is finished, reset the clock and audio system as before.

        CAUTION: Never use a back-up power source (battery or other) to avoid erasing system memory. The back-up power source may inadvertently power the SRS and cause it to deploy.
      3. In minor collisions where the SRS does not deploy, the steering pad, front passenger airbag assembly, curtain shield airbag assembly, front seat side airbag assembly, instrument panel lower airbag assembly and front seat outer belt assembly with pretensioner should be inspected before further use of the vehicle.
      4. Never use SRS parts from another vehicle. When replacing parts, use new parts.
      5. Before repairs, remove the airbag sensor assemblies if impacts are likely to be applied to the sensor during repairs.
      6. Never disassemble and attempt to repair the steering pad, front passenger airbag assembly, curtain shield airbag assembly, front seat side airbag assembly, instrument panel lower airbag assembly and front seat outer belt assembly with pretensioner.
      7. Replace the steering pad, front passenger airbag assembly, curtain shield airbag assembly, front seat side airbag assembly, instrument panel lower airbag assembly and front seat outer belt assembly with pretensioner if: 1) damage has occurred from being dropped, or 2) cracks, dents or other defects in the case, bracket or connector are present.
      8. Do not directly expose the airbag sensor assembly or airbag assembly to hot air or flames.
      9. Use a voltmeter / ohmmeter with high impedance (minimum=10 kΩ) for troubleshooting electrical circuits.
      10. Information labels are attached to the SRS components. Follow the instructions on the labels.
      11. After work on the SRS is completed, check the SRS warning light.
    2. SPIRAL CABLE
      1. The steering wheel must be fitted correctly to the steering column with the spiral cable at the neutral position, as cable disconnection and other problems may occur. Refer to the information about correct installation of the steering wheel.
      2. Fig 8: Identifying Align Mark On Steering Column
        G04864936Courtesy of © TOYOTA, LICENSE AGREEMENT TMS1002
    3. STEERING PAD
      1. Always place a removed or new steering pad surface upward as shown in the illustration. Placing the horn button with the pad surface facing down could cause a serious accident if the airbag inflates. Also, do not place anything on top of the horn button.
        Fig 9: Precaution For Handling Steering Pad With Pad (1 Of 2)
        G04864937Courtesy of © TOYOTA, LICENSE AGREEMENT TMS1002
      2. Never measure the resistance of the airbag squib. This may cause the airbag to inflate, which could cause serious injury.
        Fig 10: Precaution For Handling Steering Pad With Pad (2 Of 2)
        G04864938Courtesy of © TOYOTA, LICENSE AGREEMENT TMS1002
      3. Grease or detergents of any kind should not be applied to the horn button.
      4. Store the horn button assembly in an area where the ambient temperature is below 93°C (200°F), the humidity is not high and there is no electrical noise.
      5. When using electric welding anywhere on the vehicle, disconnect the airbag ECU connectors (4 pins). These connectors contain shorting springs. This feature reduces the possibility of the airbag deploying due to currents entering the squib wiring.
      6. When disposing of the vehicle or the horn button assembly by itself, the airbag should be deployed using SST before disposal. Activate the airbag in a safe place away from electrical noise.
    4. FRONT PASSENGER AIRBAG ASSEMBLY
      1. Always place a removed or new front passenger airbag assembly with the pad surface facing upward as shown in the illustration. Placing the airbag assembly with the airbag inflation direction facing down could cause a serious accident if the airbag inflates.
        Fig 11: Precaution For Handling Front Passenger Airbag Assembly (1 Of 2)
        G04864939Courtesy of © TOYOTA, LICENSE AGREEMENT TMS1002
      2. Never measure the resistance of the airbag squib. This may cause the airbag to inflate, which could cause serious injury.
        Fig 12: Precaution For Handling Front Passenger Airbag Assembly (2 Of 2)
        G04864940Courtesy of © TOYOTA, LICENSE AGREEMENT TMS1002
      3. Grease or detergents of any kind should not be applied to the front passenger airbag assembly.
      4. Store the airbag assembly in an area where the ambient temperature is below 93°C (200°F), the humidity is not high and there is no electrical noise.
      5. When using electric welding anywhere on the vehicle, disconnect the airbag ECU connectors (4 pins). These connectors contain shorting springs. This feature reduces the possibility of the airbag deploying due to currents entering the squib wiring.
      6. When disposing of the vehicle or the airbag assembly unit by itself, the airbag should be deployed using SST before disposal. Activate in a safe place away from electrical noise.
    5. CURTAIN SHIELD AIRBAG ASSEMBLY
      1. Always place a removed or new curtain shield airbag assembly in a clear plastic bag, and keep it in a safe place.
        Fig 13: Precaution For Handling Curtain Shield Airbag Assembly (1 Of 2)
        G04864941Courtesy of © TOYOTA, LICENSE AGREEMENT TMS1002
        CAUTION: The plastic bag is not reusable.
        NOTE: Never disassemble the curtain shield airbag assembly.
      2. Never measure the resistance of the airbag squib. This may cause the airbag to inflate, which could cause serious injury.
        Fig 14: Precaution For Handling Curtain Shield Airbag Assembly (2 Of 2)
        G04864942Courtesy of © TOYOTA, LICENSE AGREEMENT TMS1002
      3. Grease or detergents of any kind should not be applied to the curtain shield airbag assembly.
      4. Store the airbag assembly in an area where the ambient temperature is below 93°C (200°F), the humidity is not high and there is no electrical noise.
      5. When using electric welding anywhere on the vehicle, disconnect the airbag ECU connectors (4 pins). These connectors contain shorting springs. This feature reduces the possibility of the airbag deploying due to currents entering the squib wiring.
      6. When disposing of a vehicle or the airbag assembly unit by itself, the airbag should be deployed using SST before disposal. Activate in a safe place away from electrical noise.
    6. FRONT SEAT SIDE AIRBAG ASSEMBLY
      1. Always place a removed or new front seat airbag assembly with the airbag inflation direction facing up.
        Fig 15: Precaution For Handling Front Seat Airbag Assembly (1 Of 2)
        G04864943Courtesy of © TOYOTA, LICENSE AGREEMENT TMS1002
      2. Never measure the resistance of the airbag squib. This may cause the airbag to inflate, which could cause serious injury.
        Fig 16: Precaution For Handling Front Seat Airbag Assembly (2 Of 2)
        G04864944Courtesy of © TOYOTA, LICENSE AGREEMENT TMS1002
      3. Grease or detergents of any kind should not be applied to the front seat airbag assembly.
      4. Store the airbag assembly in an area where the ambient temperature is below 93°C (200°F), the humidity is not high and there is no electrical noise.
      5. When using electric welding anywhere on the vehicle, disconnect the airbag ECU connectors (2 pins). These connectors contain shorting springs. This feature reduces the possibility of the airbag deploying due to currents entering the squib wiring.
      6. When disposing of a vehicle or the airbag assembly unit by itself, the airbag should be deployed using SST before disposal. Activate in a safe place away from electrical noise.
    7. DRIVER SEAT SIDE KNEE AIRBAG ASSEMBLY AND FRONT PASSENGER SEAT SIDE KNEE AIRBAG ASSEMBLY
      1. Always place a removed or new knee airbag assembly with the airbag inflation direction facing upward. Placing the airbag assembly with the airbag inflation direction facing downward could cause a serious accident if the airbag inflates.
        Fig 17: Precaution For Handling Knee Airbag Assembly (1 Of 2)
        G04864945Courtesy of © TOYOTA, LICENSE AGREEMENT TMS1002
      2. Never measure the resistance of the airbag squib. This may cause the airbag to inflate, which could cause serious injury.
        Fig 18: Precaution For Handling Knee Airbag Assembly (2 Of 2)
        G04864946Courtesy of © TOYOTA, LICENSE AGREEMENT TMS1002
      3. Grease or detergents of any kind should not be applied to the knee airbag assembly.
      4. Store the knee airbag assembly where the ambient temperature is below 93°C (200°F), the humidity is not high and there is no electrical noise.
      5. When using electric welding anywhere on the vehicle, disconnect the airbag ECU connectors (2 pins). These connectors contain shorting springs. This feature reduces the possibility of the airbag deploying due to currents entering the squib wiring.
      6. When disposing of a vehicle or knee airbag assembly unit by itself, the airbag should be inflated using SST before disposal. Activate in a safe place away from electrical noise.
    8. FRONT SEAT OUTER BELT ASSEMBLY with PRETENSIONER
      1. Never measure the resistance of the seat outer belt. This may cause the pretensioner of the seat belt to activate, which could cause serious injury.
        Fig 19: Precaution For Handling Front Seat Outer Belt Assembly With Pretensioner
        G04864947Courtesy of © TOYOTA, LICENSE AGREEMENT TMS1002
      2. Never disassemble the seat outer belt.
      3. Never install the seat outer belt on another vehicle.
      4. Store the seat outer belt in an area where the ambient temperature is below 80°C (176°F), the humidity is not high and there is no electrical noise.
      5. When using electric welding anywhere on the vehicle, disconnect the airbag ECU connectors (2 pins). These connectors contain shorting springs. This feature reduces the possibility of the pretensioner deploying due to currents entering the squib wiring.
      6. When disposing of a vehicle or the seat outer belt assembly by itself, the seat outer belt should be activated before disposal. Activate in a safe place away from electrical noise.
      7. As the seat outer belt is hot after the pretensioner is activated, allow some time for it to cool down sufficiently before disposal. Never apply water to try to cool down the seat outer belt.
      8. Grease, detergents, oil or water should not be applied to the front seat outer belt.
    9. AIRBAG SENSOR ASSEMBLY
      1. Never reuse an airbag sensor assembly that has been involved in a collision where the SRS has deployed.
      2. The connectors to the airbag sensor assembly should be connected or disconnected with the sensor placed on the floor. If the connectors are connected or disconnected while the airbag sensor assembly is not placed on the floor, the SRS may activate.
      3. Work must be started at least 90 seconds after the ignition switch is turned OFF and the cable is disconnected from the negative (-) battery terminal, even if only loosening the set bolts of the airbag sensor assembly.
    10. WIRE HARNESS AND CONNECTOR
      1. The SRS wire harness is integrated with the instrument panel wire harness assembly. All the connectors in the system are a standard yellow color. If the SRS wire harness becomes disconnected or the connector becomes broken, repair or replace it.
  3. ELECTRONIC CONTROL 
    1. REMOVAL AND INSTALLATION OF BATTERY TERMINAL
      NOTE: Certain systems need to be initialized after disconnecting and reconnecting the cable from the negative (-) battery terminal.
      1. Before performing electronic work, disconnect the cable from the negative (-) battery terminal to prevent component and wire damage caused by accidental short circuits.
        Fig 20: Disconnecting Battery Terminal
        G04864948Courtesy of © TOYOTA, LICENSE AGREEMENT TMS1002
      2. When disconnecting the cable, turn the ignition switch OFF and headlight dimmer switch OFF and loosen the cable nut completely. Perform these operations without twisting or prying the cable. Then disconnect the cable.
      3. Clock settings, radio settings, audio system memory, DTCs and other data are erased when the cable is disconnected from the negative (-) battery terminal. Write down any necessary data before disconnecting the cable.
    2. HANDLING OF ELECTRONIC PARTS
      1. Do not open the cover or case of the ECU unless absolutely necessary. If the IC terminals are touched, the IC may be rendered inoperative by static electricity.
      2. Do not pull the wires when disconnecting electronic connectors. Pull the connector itself.
      3. Be careful not to drop electronic components, such as sensors or relays. If they are dropped on a hard surface, they should be replaced.
        Fig 21: Precaution For Handling Of Electronic Parts
        G04864949Courtesy of © TOYOTA, LICENSE AGREEMENT TMS1002
      4. When cleaning the engine with steam, protect the electronic components, air filter and emission-related components from water.
      5. Never use an impact wrench to remove or install temperature switches or temperature sensors.
      6. When measuring the resistance of a wire connector, insert the tester probe carefully to prevent terminals from bending.
  4. REMOVAL AND INSTALLATION OF FUEL CONTROL PARTS 
    1. PLACE FOR REMOVING AND INSTALLING FUEL SYSTEM PARTS
      1. Work in a location with good air ventilation that does not have welders, grinders, drills, electric motors, stoves, or any other ignition sources.
      2. Never work in a pit or near a pit as vaporized fuel will collect in those places.
    2. REMOVING AND INSTALLING FUEL SYSTEM PARTS
      1. Prepare a fire extinguisher before starting the operation.
      2. To prevent static electricity, install a ground wire to the fuel changer, vehicle and fuel tank, and do not spray the surrounding area with water. Be careful when performing work in this area, as the work surface will become slippery. Do not clean up gasoline spills with water, as this may cause the gasoline to spread, and possibly create a fire hazard.
      3. Avoid using electric motors, working lights and other electric equipment that can cause sparks or high temperatures.
      4. Avoid using iron hammers as they may create sparks.
      5. Dispose of fuel-contaminated cloth separately using a fire resistant container.
  5. REMOVAL AND INSTALLATION OF ENGINE INTAKE PARTS 
    1. If any metal particles enter inlet system parts, this may damage the engine.
    2. When removing and installing inlet system parts, cover the openings of the removed parts and engine openings. Use gummed tape or other suitable materials.
    3. When installing inlet system parts, check that no metal particles have entered the engine or the installed parts.
      Fig 22: Handling Of Removal/Installation Inlet System Parts
      G04864950Courtesy of © TOYOTA, LICENSE AGREEMENT TMS1002
  6. HANDLING OF HOSE CLAMPS 
    1. Before removing the hose, check the clamp position so that it can be reinstalled in the same position.
    2. Replace any deformed or dented clamps with new ones.
    3. When reusing a hose, attach the clamp on the clamp track portion of the hose.
    4. For a spring type clamp, you may want to spread the tabs slightly after installation by pushing in the direction of the arrows as shown in the illustration.
      Fig 23: Handling Of Hose Clamps
      G04864951Courtesy of © TOYOTA, LICENSE AGREEMENT TMS1002
  7. FOR VEHICLES EQUIPPED WITH MOBILE COMMUNICATION SYSTEMS 
    1. Install the antenna as far away from the ECU and sensors of the vehicle electronic systems as possible.
    2. Install an antenna feeder at least 20 cm (7.87 in.) away from the ECU and sensors of the vehicle electronic systems. For details about ECU and sensors locations, refer to the section on the applicable components.
      Fig 24: Identifying Vehicles Equipped With Mobile Communication Systems
      G04864952Courtesy of © TOYOTA, LICENSE AGREEMENT TMS1002
    3. Keep the antenna and feeder separate from other wirings as much as possible. This will prevent signals from the communication equipment from affecting vehicle equipment and vice versa.
    4. Check that the antenna and feeder are correctly adjusted.
    5. Do not install any high-powered mobile communication system.
  8. FOR VEHICLES EQUIPPED WITH CATALYTIC CONVERTER 
    CAUTION: If a large amount of unburned gasoline or gasoline vapors flow into the converter, it may cause overheating and create a fire hazard. To prevent this, observe the following precautions.
    1. Use only unleaded gasoline.
    2. Avoid idling the engine for more than 20 minutes.
    3. Avoid performing unnecessary spark jump tests.
      1. Perform a spark jump test only when absolutely necessary. Perform this test as rapidly as possible.
      2. While testing, never race the engine.
    4. Avoid a prolonged engine compression measurement. Engine compression measurements must be performed as rapidly as possible.
    5. Do not run the engine when the fuel tank is nearly empty. This may cause the engine to misfire and create an extra load on the converter.