LEMON Manuals: Even more car manuals for everyone
Home >> Scion >> 2007 >> tC Base, Standard >> Repair and Diagnosis >> General Information >> Computer Relearn >> Engine Control System (2AZ-FE) >> SFI System >> ECM Power Source Circuit >> Inspection Procedure

Inspection Procedure

  1. INSPECT ECM (+B VOLTAGE) 
    1. Disconnect the E4 and E8 ECM connectors.
    2. Turn the ignition switch to the ON position.
    3. Measure the voltage according to the value(s) in the table below.

      Standard voltage 

      ECM TESTER CONNECTION AND SPECIFIED CONDITION

      Tester Connection Specified Condition
      +B (E4-1) - E1 (E8-3) 9 to 14 V

    OK: PROCEED TO NEXT CIRCUIT INSPECTION SHOWN IN PROBLEM SYMPTOMS TABLE 

    Fig 1: Disconnecting E4 And E8 ECM Connectors
    G04869289Courtesy of © TOYOTA, LICENSE AGREEMENT TMS1002

    NG: GO TO NEXT STEP 

  2. CHECK WIRE HARNESS (ECM - BODY GROUND) 
    1. Disconnect the negative battery cable.
    2. Disconnect the E8 ECM connector.
    3. Measure the resistance according to the value(s) in the table below.

      Standard resistance 

      WIRE HARNESS TESTER CONNECTION AND SPECIFIED CONDITION

      Tester Connection Specified Condition
      E1 (E8-3) - Body ground Below 1 Ω

    NG: REPAIR OR REPLACE HARNESS OR CONNECTOR 

    Fig 2: Disconnecting E8 ECM Connector
    G04869290Courtesy of © TOYOTA, LICENSE AGREEMENT TMS1002

    OK: GO TO NEXT STEP 

  3. INSPECT ECM (IGSW VOLTAGE) 
    1. Disconnect the E4 and E8 ECM connectors.
    2. Turn the ignition switch to the ON position.
    3. Measure the voltage according to the value(s) in the table below.

      Standard voltage 

      ECM TESTER CONNECTION AND SPECIFIED CONDITION

      Tester Connection Specified Condition
      IGSW (E4-9) - E1 (E8-3) 9 to 14 V

    OK: Go to step   6 

    Fig 3: Inspecting ECM (IGSW Voltage)
    G04869291Courtesy of © TOYOTA, LICENSE AGREEMENT TMS1002

    NG: GO TO NEXT STEP 

  4. CHECK FUSE (AM2) 
    1. Remove the AM2 fuse from the engine room relay block.
    2. Measure the resistance of the AM2 fuse.

      Standard resistance: 

      Below 1 Ω 

    NG: CHECK FOR SHORT IN ALL HARNESSES AND COMPONENTS CONNECTED TO FUSE 

    Fig 4: Identifying AM2 Fuse
    G04869292Courtesy of © TOYOTA, LICENSE AGREEMENT TMS1002

    OK: GO TO NEXT STEP 

  5. INSPECT IGNITION SWITCH ASSEMBLY 
    1. Disconnect the 15 ignition switch connector.
    2. Measure the resistance according to the value(s) in the table below.

      Standard resistance 

      IGNITION SWITCH ASSEMBLY TESTER CONNECTION AND SPECIFIED CONDITION

      Switch Position Tester Connection Specified Condition
      LOCK All Terminals 10 kΩ or higher
      ON IG2 (6) - AM2 (7) Below 1 Ω

    NG: REPLACE IGNITION SWITCH ASSEMBLY 

    Fig 5: Identifying Ignition Switch Connector Terminals
    G04869293Courtesy of © TOYOTA, LICENSE AGREEMENT TMS1002

    OK: CHECK AND REPLACE HARNESS AND CONNECTOR (BATTERY - IGNITION SWITCH, IGNITION SWITCH - ECM) 

  6. INSPECT ECM (MREL VOLTAGE) 
    1. Turn the ignition switch to the ON position.
    2. Measure the voltage according to the value(s) in the table below.

      Standard voltage 

      ECM TESTER CONNECTION AND SPECIFIED CONDITION

      Tester Connection Specified Condition
      MREL (E4-8) - E1 (E8-3) 9 to 14 V

    NG: REPLACE ECM 

    Fig 6: Inspecting ECM (MREL Voltage)
    G04869294Courtesy of © TOYOTA, LICENSE AGREEMENT TMS1002

    OK: GO TO NEXT STEP 

  7. CHECK FUSE (EFI) 
    1. Remove the EFI fuse from the engine room relay block.
    2. Measure the resistance of the EFI fuse.

      Standard resistance: 

      Below 1 Ω 

    NG: CHECK FOR SHORT IN ALL HARNESSES AND COMPONENTS CONNECTED TO FUSE 

    Fig 7: Identifying EFI Fuse
    G04869157Courtesy of © TOYOTA, LICENSE AGREEMENT TMS1002

    OK: GO TO NEXT STEP 

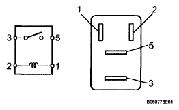
  8. INSPECT EFI RELAY (EFI) 
    1. Remove the EFI relay from the engine room relay block.
    2. Measure the resistance according to the value(s) in the table below.

      Standard resistance 

      EFI RELAY TESTER CONNECTION AND SPECIFIED CONDITION

      Tester Connection Specified Condition
      3-5 10 kΩ or higher
      3-5 Below 1 Ω (when battery voltage is applied to terminals 1 and 2)

    NG: REPLACE EFI RELAY 

    Fig 8: Identifying EFI Relay Connector Terminals
    G04868997Courtesy of © TOYOTA, LICENSE AGREEMENT TMS1002

    OK: GO TO NEXT STEP 

  9. CHECK WIRE HARNESS (EFI RELAY - ECM, BODY GROUND) 
    1. Check the wire harness between the EFI relay and ECM.
      1. Remove the EFI relay from the engine room relay block.
      2. Disconnect the E4 ECM connector.
      3. Measure the resistance according to the value(s) in the table below.

        Standard resistance 

        WIRE HARNESS TESTER CONNECTION AND SPECIFIED CONDITION

        Tester Connection Specified Condition
        Engine room relay block (EFI relay terminal 1) -MREL (E4-8) Below 1 Ω
        Engine room relay block (EFI relay terminal 3) -+B (E4-1) Below 1 Ω
        Engine room relay block (EFI relay terminal 1) or MREL (E4-8) - Body ground 10 kΩ or higher
        Engine room relay block (EFI relay terminal 3) or +B (E4-1) - Body ground 10 kΩ or higher
    2. Check the wire harness between the EFI relay and body ground.
      1. Remove the EFI relay from the engine room relay block.
      2. Measure the resistance according to the value(s) in the table below.

        Standard resistance 

        WIRE HARNESS TESTER CONNECTION AND SPECIFIED CONDITION

        Tester Connection Specified Condition
        Engine room relay block (EFI relay terminal 2) -Body ground Below 1 Ω
      3. Reinstall the EFI relay.

    NG: REPAIR OR REPLACE HARNESS OR CONNECTOR 

    Fig 9: Disconnecting E4 ECM Connector
    G04869297Courtesy of © TOYOTA, LICENSE AGREEMENT TMS1002

    OK: CHECK AND REPAIR HARNESS AND CONNECTOR (TERMINAL 5 OF EFI RELAY - BATTERY POSITIVE TERMINAL)