LEMON Manuals: Even more car manuals for everyone
Home >> Scion >> 2006 >> xA Standard >> Repair and Diagnosis >> Engine Performance >> Engine Control Systems >> Engine Control System (1NZ-FE) >> SFI System >> VC Output Circuit >> Wiring Diagram

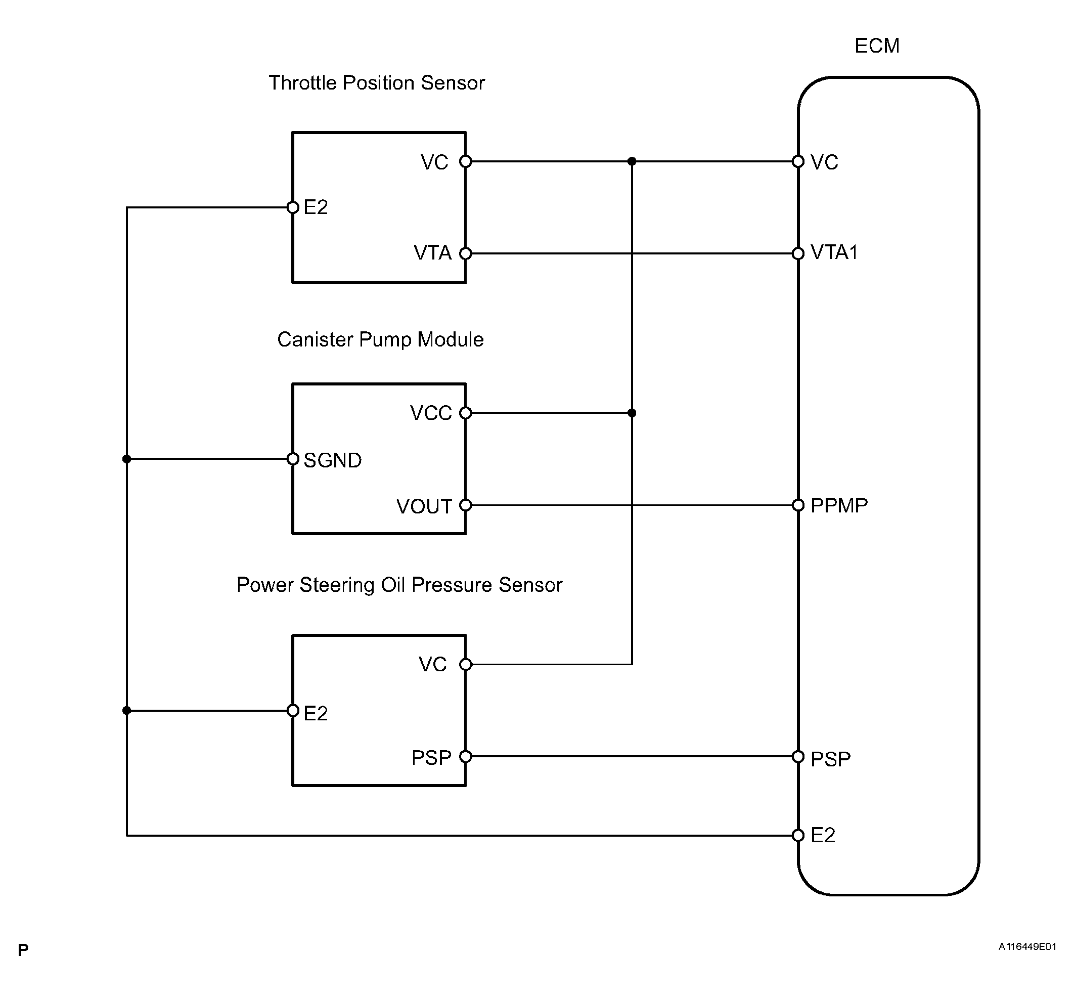
VC Output Circuit: Wiring Diagram

Fig 1: Wiring Diagram - VC Output Circuit
G04153150Courtesy of © TOYOTA, LICENSE AGREEMENT TMS1002