LEMON Manuals: Even more car manuals for everyone
Home >> Scion >> 2006 >> xA Automatic >> Repair and Diagnosis >> Engine Performance >> Engine Control Systems >> Engine Control System (1NZ-FE) >> SFI System >> Terminals Of ECM

Terminals Of ECM

Fig 1: Identifying ECM Terminals
G04152821Courtesy of © TOYOTA, LICENSE AGREEMENT TMS1002

HINT:

The standard normal voltage between each pair of ECM terminals is shown in the table below. The appropriate conditions for checking each pair of terminals are also indicated.

The result of checks should be compared with the standard normal voltage for that pair of terminals, displayed in the Specified Condition column.

The illustration above can be used as a reference to identify the ECM terminal locations.

TERMINAL DESCRIPTION SPECIFIED CONDITION CHART

Symbols (Terminal No.) Wiring Color Terminal Description Condition Specified Condition
BATT (E6-3) - E1 (E3-3) B-Y - BR Battery (for measuring battery voltage and for ECM memory) Always 9 to 14 V
IGSW (E6-9) - E1 (E3-3) B-R - BR Ignition switch Ignition switch ON 9 to 14 V
FC (E6-25) - E1 (E3-3) G - BR Fuel pump control Ignition switch ON 9 to 14 V
FC (E6-25) - E1 (E3-3) G - BR Fuel pump control Idling Below 1.5 V
W (E5-30) - E1 (E3-3) Y-R - BR MIL Idling 9 to 14 V
W (E5-30) - E1 (E3-3) Y-R - BR MIL Ignition switch ON Below 3.5 V
+B (E6-1) - E1 (E3-3) B-R - BR Power source of ECM Ignition switch ON 9 to 14 V
+B2 (E6-2) - E1 (E3-3) B-R - BR Power source of ECM Ignition switch ON 9 to 14 V
MREL (E6-8) - E1 (E3-3) GR - BR EFI relay Ignition switch ON 9 to 14 V
STP (E5-4) - E1 (E3-3) G-W - BR Stop light switch Ignition switch ON, Brake pedal depressed 9 to 14 V
STP (E5-4) - E1 (E3-3) G-W - BR Stop light switch Ignition switch ON, Brake pedal released Below 1.5 V
F/PS (E5-32) - E1 (E3-3) Y - BR Airbag sensor Ignition switch ON Pulse generation (see WAVEFORM 1 )
STA (E6-12) - E1 (E3-3) B-Y - BR Starter signal Cranking 5.5 V or more
PSP (E4-32) - E1 (E3-3) Y - BR Power steering oil pressure sensor Ignition switch ON 9 to 14 V
SPD (E5-8) - E1 (E3-3) V-W - BR Speed signal from combination meter Driving at 20 km/h (12 mph) Pulse generation (see WAVEFORM 2 )
TACH (E5-1) - E1 (E3-3) B - BR Engine speed Idling Pulse generation (see WAVEFORM 3 )
VC (E3-18) - E2 (E3-28) R-W - BR Power source of sensor (specific voltage) Ignition switch ON 4.5 to 5.5 V
PRG (E4-23) - E01 (E3-7) W-G - BR Purge VSV Ignition switch ON and engine stopping 9 to 14 V
PRG (E4-23) - E01 (E3-7) W-G - BR Purge VSV Idling with warm engine Pulse generation (see WAVEFORM 4 )
VG (E4-28) - E2G (E4-30) P - V Mass air flow meter Idling, A/C switch OFF 1.1 to 1.5 V
OX1A (E3-21) - E2 (E3-28) W - BR Heated oxygen sensor (Sensor 1) Engine speed maintained at 2,500 rpm for 2 minutes after warming up sensor Pulse generation (see WAVEFORM 5 )
HT1A (E3-1) - E03 (E4-4) B-R - BR Heated oxygen sensor heater (Sensor 1) Idling Below 3.0 V
HT1A (E3-1) - E03 (E4-4) B-R - BR Heated oxygen sensor heater (Sensor 1) Ignition switch ON 9 to 14 V
OX1B (E3-25) - E2 (E3-28) L - BR Heated oxygen sensor (Sensor 2) Engine speed maintained at 2,500 rpm for 2 minutes after warming up sensor Pulse generation (see WAVEFORM 6 )
HT1B (E3-2) - E03 (E4-4) W - BR Heated oxygen sensor heater (Sensor 2) Idling Below 3.0 V
HT1B (E3-2) - E03 (E4-4) W - BR Heated oxygen sensor heater (Sensor 2) Ignition switch ON 9 to 14 V
THW (E3-32) - E2 (E3-28) R-L - BR Engine coolant temperature sensor Idling, Engine coolant temperature 80°C (176°F) 0.2 to 1.0 V
G2+ (E3-26) - NE- (E3-34) B - W Camshaft position sensor Idling Pulse generation (see WAVEFORM 7 )
NE+ (E3-27) - NE- (E3-34) O - W Crankshaft position sensor Idling Pulse generation (see WAVEFORM 7 )
THA (E4-29) - E2 (E3-28) Y-B - BR Intake air temperature sensor Idling, Intake air temperature 20°C (68°F) 0.5 to 3.4 V
VTA1 (E3-20) - E2 (E3-28) Y-R - BR Throttle position sensor Ignition switch ON, Throttle valve fully closed 0.3 to 1.0 V
VTA1 (E3-20) - E2 (E3-28) Y-R - BR Throttle position sensor Ignition switch ON, Throttle valve fully open 3.2 to 4.9 V
#10 (E4-6) - E01 (E3-7)
#20 (E4-5) - E01 (E3-7)
#30 (E4-2) - E01 (E3-7)
#40 (E4-1) - E01 (E3-7)
B-O - BR
B-Y - BR
B-W - BR
B-L - BR
Injector gnition switch ON 9 to 14 V
#10 (E4-6) - E01 (E3-7)
#20 (E4-5) - E01 (E3-7)
#30 (E4-2) - E01 (E3-7)
#40 (E4-1) - E01 (E3-7)
B-O - BR
B-Y - BR
B-W - BR
B-L - BR
Injector Idling Pulse generation (see WAVEFORM 8 )
IGT1 (E3-17) - E1 (E3-3)
IGT2 (E3-16) - E1 (E3-3)
IGT3 (E3-15) - E1 (E3-3)
IGT4 (E3-14) - E1 (E3-3)
G-R - BR
G-B - BR
G-O - BR
G-Y - BR
Ignition coil (ignition signal) Idling Pulse generation (see WAVEFORM 9 )
IGF1 (E3-23) - E1 (E3-3) Y - BR Ignition coil (ignition confirmation signal) Ignition switch ON 4.5 to 5.5 V
IGF1 (E3-23) - E1 (E3-3) Y - BR Ignition coil (ignition confirmation signal) Idling Pulse generation (see WAVEFORM 9 )
RSD (E3-5) - E01 (E3-7) B-R - BR Idle air control valve Ignition switch ON 9 to 14 V
OC1+ (E3-13) - OC1- (E3-12) R-Y - R-B Camshaft timing oil control valve Ignition switch ON Pulse generation (see WAVEFORM 10 )
KNK1 (E3-29) - EKNK (E3-30) W - B Knock sensor Idling Pulse generation (see WAVEFORM 11 )
TC (E5-17) - E1 (E3-3) P-B - BR Terminal TC of DLC3 Ignition switch ON 9 to 14 V
NSW (E6-30)(1) - E1 (E3-3) B - BR Park/Neutral position switch signal Ignition switch ON and shift lever P or N position Below 1 V
NSW (E6-30)(1) - E1 (E3-3) B - BR Park/Neutral position switch signal Ignition switch ON and shift lever except P or N position 9 to 14 V
VPMP (E6-5) - E1 (E3-3) P - BR Vent valve (built into canister pump module) Ignition switch ON 9 to 14 V
MPMP (E6-6) - E1 (E3-3) V - BR Leak detection pump (built into canister pump module) Leak detection pump OFF 0 to 3 V
MPMP (E6-6) - E1 (E3-3) V - BR Leak detection pump (built into canister pump module) Leak detection pump ON 9 to 14 V
PPMP (E6-31) - E1 (E3-3) R - BR Canister pressure sensor (built into canister pump module) Ignition switch ON 3 to 3.6 V
CANH (E5-33) - E1 (E3-3) B - BR CAN communication line Ignition switch ON Pulse generation (see WAVEFORM 12 )
CANL (E5-34) - E1 (E3-3) W - BR CAN communication line Ignition switch ON Pulse generation (see WAVEFORM 13 )
(1) A/T only
  1. WAVEFORM 1 

    Airbag sensor assembly 

    WAVEFORM 1 REFERENCE

    ECM Terminal Names Between F/PS and E1
    Tester Ranges 5 V/DIV., 500 msec./DIV.
    Conditions Idling with warm engine
    Fig 2: Waveform 1 Reference Graph
    G04152822Courtesy of © TOYOTA, LICENSE AGREEMENT TMS1002
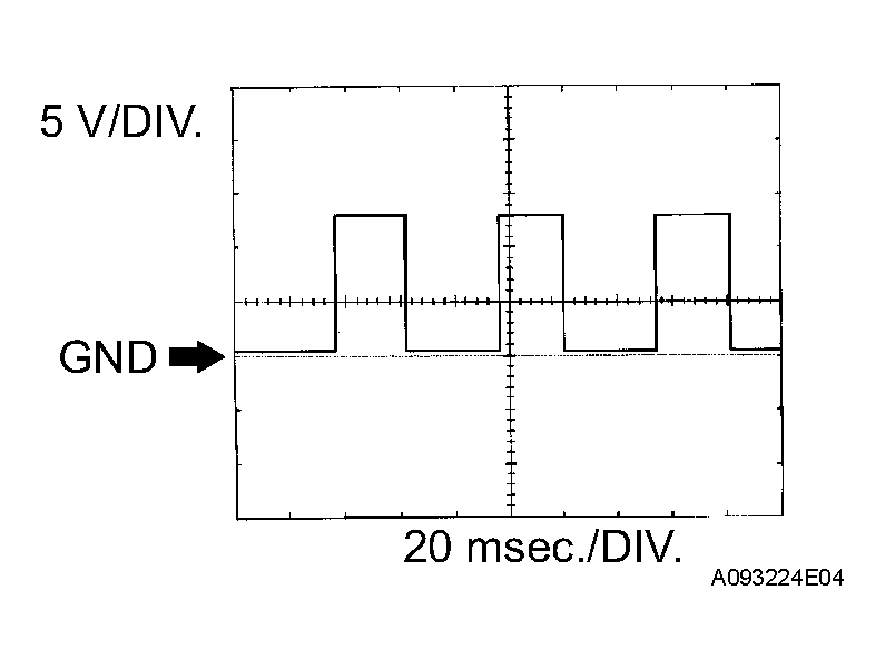
  2. WAVEFORM 2 

    Vehicle speed signal 

    WAVEFORM 2 REFERENCE

    ECM Terminal Names Between SPD and E1
    Tester Ranges 5 V/DIV., 20 msec./DIV.
    Conditions Driving at 25 mph (40 km/h)

    HINT:

    The wavelength becomes shorter as the vehicle speed increases.

    Fig 3: Waveform 2 Reference Graph
    G04152823Courtesy of © TOYOTA, LICENSE AGREEMENT TMS1002
  3. WAVEFORM 3 

    Engine speed signal 

    WAVEFORM 3 REFERENCE

    ECM Terminal Names Between TACH and E1
    Tester Ranges 5 V/DIV., 10 msec./DIV.
    Conditions Idling

    HINT:

    The wavelength becomes shorter as the engine rpm increases.

    Fig 4: Waveform 3 Reference Graph
    G04152824Courtesy of © TOYOTA, LICENSE AGREEMENT TMS1002
  4. WAVEFORM 4 

    Purge VSV 

    WAVEFORM 4 REFERENCE

    ECM Terminal Names Between PRG and E01
    Tester Ranges 10 V/DIV., 50 msec./DIV.
    Conditions Idling

    HINT:

    If the waveform is not similar to the illustration, check the waveform again after idling for 10 minutes or more.

    Fig 5: Waveform 4 Reference Graph
    G04152825Courtesy of © TOYOTA, LICENSE AGREEMENT TMS1002
  5. WAVEFORM 5 

    Heated Oxygen (HO2) sensor (sensor 1) 

    WAVEFORM 5 REFERENCE

    ECM Terminal Names Between OX1A and E2
    Tester Ranges 0.2 V/DIV., 200 msec./DIV.
    Conditions Engine maintained at 2,500 rpm when warmed up

    HINT:

    In the DATA LIST, item O2S B1S1 shows the ECM input values from the front HO2 sensor (sensor 1).

    Fig 6: Waveform 5 Reference Graph
    G04152826Courtesy of © TOYOTA, LICENSE AGREEMENT TMS1002
  6. WAVEFORM 6 

    Heated Oxygen (HO2) sensor (sensor 2) 

    WAVEFORM 6 REFERENCE

    ECM Terminal Names Between OX1B and E2
    Tester Ranges 0.2 V/DIV., 200 msec./DIV.
    Conditions Engine maintained at 2,500 rpm when warmed up

    HINT:

    In the DATA LIST, item O2S B1S2 shows the ECM input values from the rear HO2 sensor (sensor 2).

    Fig 7: Waveform 6 Reference Graph
    G04152827Courtesy of © TOYOTA, LICENSE AGREEMENT TMS1002
  7. WAVEFORM 7 

    Camshaft position sensor and crankshaft position sensor 

    WAVEFORM 7 REFERENCE

    ECM Terminal Names (a) Between G2+ and NE-
    (b) Between NE+ and NE-
    Tester Ranges 5 V/DIV., 20 msec./DIV.
    Conditions Idling

    HINT:

    The wavelength becomes shorter as the engine rpm increases.

    Fig 8: Waveform 7 Reference Graph
    G04152828Courtesy of © TOYOTA, LICENSE AGREEMENT TMS1002
  8. WAVEFORM 8 

    Fuel injector 

    WAVEFORM 8 REFERENCE

    ECM Terminal Names Between #10 (to 40) and E01
    Tester Ranges 20 V/DIV., 20 msec./DIV.
    Conditions Idling

    HINT:

    The wavelength becomes shorter as the engine rpm increases.

    Fig 9: Waveform 8 Reference Graph
    G04152829Courtesy of © TOYOTA, LICENSE AGREEMENT TMS1002
  9. WAVEFORM 9 

    Igniter IGT signal (from ECM to igniter) and igniter IGF signal (from igniter to ECM) 

    WAVEFORM 9 REFERENCE

    ECM Terminal Name (a) Between IGT (1 to 4) and E1
    (b) Between IGF and E1
    Tester Ranges 2 V/DIV., 20 msec./DIV.
    Conditions Idling

    HINT:

    The wavelength becomes shorter as the engine rpm increases.

    Fig 10: Waveform 9 Reference Graph
    G04152830Courtesy of © TOYOTA, LICENSE AGREEMENT TMS1002
  10. WAVEFORM 10 

    Camshaft timing oil control valve (OCV) 

    WAVEFORM 10 REFERENCE

    ECM Terminal Names Between OC1+ and OC1-
    Tester Ranges 5 V/DIV., 200 msec./DIV.
    Conditions Idling

    HINT:

    The wavelength becomes shorter as the engine rpm increases.

    Fig 11: Waveform 10 Reference Graph
    G04152831Courtesy of © TOYOTA, LICENSE AGREEMENT TMS1002
  11. WAVEFORM 11 

    Knock sensor 

    WAVEFORM 11 REFERENCE

    ECM Terminal Names Between KNK1 and EKNK
    Tester Ranges 0.01 to 10 V/DIV., 0.01 to 10 msec./DIV.
    Conditions Engine maintained at 4,000 rpm when warmed up

    HINT:

    • The wavelength becomes shorter as the engine rpm increases.
    • The waveforms and amplitudes displayed differ slightly depending on the vehicle.
      Fig 12: Waveform 11 Reference Graph
      G04152832Courtesy of © TOYOTA, LICENSE AGREEMENT TMS1002
  12. WAVEFORM 12 

    CAN communication signal 

    WAVEFORM 12 REFERENCE

    ECM Terminal Names Between CANH and E1
    Tester Ranges 1 V/DIV., 10 musec./DIV.
    Conditions Engine stopped and ignition switch ON

    HINT:

    The waveform varies depending on the CAN communication signal.

    Fig 13: Waveform 12 Reference Graph
    G04152833Courtesy of © TOYOTA, LICENSE AGREEMENT TMS1002
  13. WAVEFORM 13 

    CAN communication signal 

    WAVEFORM 13 REFERENCE

    ECM Terminal Names Between CANL and E1
    Tester Ranges 1 V/DIV., 10 musec./DIV.
    Conditions Engine stopped and ignition switch ON

    HINT:

    The waveform varies depending on the CAN communication signal.

    Fig 14: Waveform 13 Reference Graph
    G04152834Courtesy of © TOYOTA, LICENSE AGREEMENT TMS1002