LEMON Manuals: Even more car manuals for everyone
Home >> Scion >> 2005 >> xB Automatic >> Repair and Diagnosis >> Engine Performance >> Remove, Overhaul & Install >> Engine Control System >> SFI System >> Inspection

SFI System: Inspection

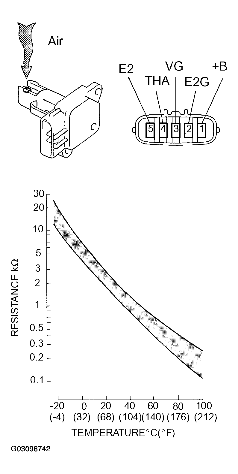
  1. INSPECT MASS AIR FLOW METER 
    1. Output voltage inspection.
      1. Apply battery voltage across terminals 1 (+B) and 2 (E2G).
      2. Connect the positive (+) tester probe to terminal VG, and negative (-) tester probe to terminal E2G.
      3. Blow air into the mass air flow meter, and check that the voltage output fluctuates.
    2. Inspect the resistance.
      1. Using an ohmmeter, measure the resistance between terminals 4 (THA) and 5 (E2).

    Resistance: 

    MASS AIR FLOW METER SPECIFICATIONS

    Terminals Resistance Temperature
    THA - E2 13.6 to 18.4 kΩ -20°C (-4°F)
    2.21 to 2.69 kΩ 20°C (68°F)
    0.49 to 0.67 kΩ 60°C (140°F)
    Fig 1: Identifying Mass Air Flow Meter Graph
    G03096742Courtesy of © TOYOTA, LICENSE AGREEMENT TMS1002
  2. INSPECT CAMSHAFT TIMING OIL CONTROL VALVE ASSY 
    1. Inspect the resistance.
      1. Using an ohmmeter, measure the resistance between the terminals.

      Resistance: 6.9 to 7.9 Ω at 20°C (68°F) 

    2. Check the operation.
      1. Connect the battery positive (+) lead to terminal 1 and negative (-) lead to terminal 2, and check the movement of the valve.
    NOTE: Confirm that the valve moves freely and is not stuck in any position.

    HINT:

    Foreign objects in the oil can cause subtle pressure leaks in the valve. The pressure leaks will cause the cam to advance. This condition will usually set a DTC.

    Fig 2: Checking Operation Of Camshaft Timing Oil Control Valve Assembly
    G03096743Courtesy of © TOYOTA, LICENSE AGREEMENT TMS1002
  3. INSPECT THROTTLE BODY ASSY 
    1. Check the throttle body.
      1. Check that the throttle valve shaft is not rickety.
      2. Check that all ports are not clogged.
      3. Check that the throttle valve opens and closes smoothly.
      4. Check that there is no clearance between the throttle stop screw and throttle lever at the throttle valve closed position.
    NOTE: Do not touch the throttle stop screw.
    Fig 3: Inspecting Throttle Body Assembly
    G03096744Courtesy of © TOYOTA, LICENSE AGREEMENT TMS1002
  4. INSPECT THROTTLE POSITION SENSOR 
    1. Inspect the resistance.
      1. Disconnect the throttle position sensor connector.
      2. Using an ohmmeter, measure the resistance between terminals VC and E2.

        Resistance: 2.5 to 6.0 kΩ 

      3. Check the variation in resistance between terminals VTA and E2.

      Variation in resistance: 

      The resistance value increases in proportion to the throttle lever opening value. 

      HINT:

      THROTTLE POSITION SENSOR SPECIFICATIONS

      Throttle Valve Movement Resistance
      Fully open 1.9 to 4.9 kΩ
      Fully close 0.2 to 1.0 kΩ
      Fig 4: Identifying Throttle Position Sensor
      G03096745Courtesy of © TOYOTA, LICENSE AGREEMENT TMS1002
  5. INSPECT ENGINE COOLANT TEMPERATURE SENSOR 
    1. Inspect the resistance.
      1. Using an ohmmeter, measure the resistance between each terminal.

      Resistance: 

      • 2.29 to 2.60 kΩ at 20°C (68°F) 
      • 0.301 to 0.327 kΩ at 80°C (176°F) 
    NOTE: If checking the engine coolant temperature sensor in water, be careful not to allow water to intrude the terminals. After checking, dry the sensor.
    Fig 5: Inspecting Engine Coolant Temperature Sensor Graph
    G03096746Courtesy of © TOYOTA, LICENSE AGREEMENT TMS1002
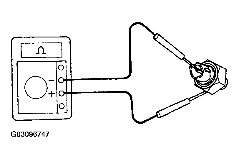
  6. INSPECT KNOCK SENSOR 
    1. Inspect the resistance.
      1. Using an ohmmeter, measure the resistance between the terminal and body.

      Standard resistance: 10 kΩ or higher 

    If the result is not as specified, replace the knock sensor.

    Fig 6: Inspecting Knock Sensor
    G03096747Courtesy of © TOYOTA, LICENSE AGREEMENT TMS1002
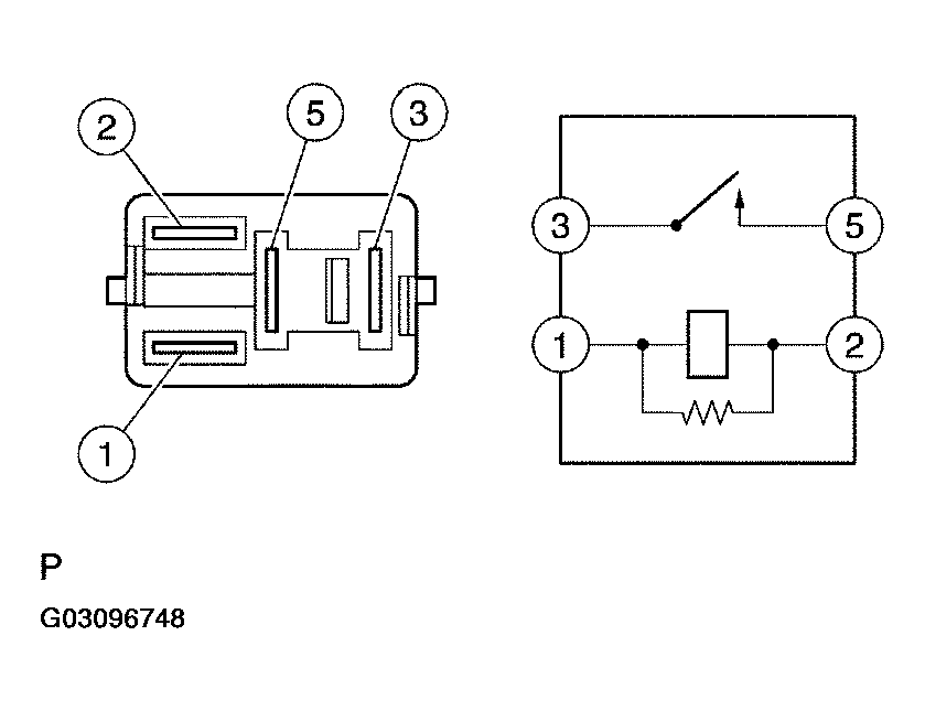
  7. INSPECT EFI RELAY 
    1. Inspection the resistance
      1. Using an ohmmeter, measure the resistance between each terminal.

    Specified condition: 

    EFI RELAY SPECIFICATIONS

    Tester Connection Specified Condition
    3 - 5 10 kΩ or higher
    3 - 5 Below 1Ω (Apply battery voltage to terminals 1 and 2)

    If the result is not as specified, replace the EFI relay.

    Fig 7: Inspecting EFI Relay
    G03096748Courtesy of © TOYOTA, LICENSE AGREEMENT TMS1002
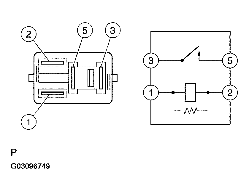
  8. INSPECT CIRCUIT OPENING RELAY 
    1. Inspect the resistance.
      1. Using an ohmmeter, measure the resistance between each terminal.

    Specified condition: 

    CIRCUIT OPENING RELAY SPECIFICATIONS

    Tester Connection Specified Condition
    3 - 5 10 kΩ or higher
    3 - 5 Below 1Ω (Apply battery voltage to terminals 1 and 2)

    If the result is not as specified, replace the EFI relay.

    Fig 8: Inspecting Circuit Opening Relay
    G03096749Courtesy of © TOYOTA, LICENSE AGREEMENT TMS1002