LEMON Manuals: Even more car manuals for everyone
Home >> Scion >> 2005 >> xA Standard >> Repair and Diagnosis >> Body & Frame >> Windows >> Windshield/WINDOWGLASS/Mirror >> Power Window Control System >> Power Mirror Control System >> Inspection

Power Mirror Control System: Inspection

  1. INSPECT OUTER MIRROR SWITCH ASSY 
    1. The L side of the left/right adjustment switch: Measure the resistance of the mirror switch.

      Standard (Left side): 

      TESTER CONNECTION AND SPECIFIED CONDITION SPECIFICATION

      Terminal Connection Switch Condition Specified Condition
      4 - 8 UP Below 1 Ω
      6 - 7
      4 - 7 DOWN
      6 - 8
      5 - 8 LEFT
      6 - 7
      5 - 7 RIGHT
      6 - 8

      If the result is not as specified, replace the switch assy.

    2. The R side of the left/right adjustment switch:

      Measure the resistance of the mirror switch.

      Standard (Right side): 

      TESTER CONNECTION AND SPECIFIED CONDITION SPECIFICATION

      Terminal Connection Switch Condition Specified Condition
      3 - 8 UP Below 1 Ω
      6 - 7
      3 - 7 DOWN
      6 - 8
      2 - 8 LEFT
      6 - 7
      2 - 7 RIGHT
      6 - 8
      Fig 1: Identifying Left/Right Adjustment Switch
      G03195672Courtesy of © TOYOTA, LICENSE AGREEMENT TMS1002

      If the result is not as specified, replace the switch assy.

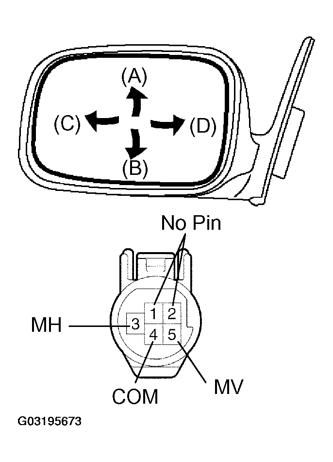
  2. INSPECT OUTER REAR VIEW MIRROR ASSY LH 
    1. Disconnect the mirror connector.
    2. Apply battery voltage to the mirror terminals and check operation of the mirror face, as shown in the table and illustration.

      Standard: 

      MEASUREMENT CONDITION AND MIRROR OPERATION

      Measurement Condition Mirror Operation
      Battery positive (+) --> 5 (MV) Battery negative (-) --> 4 (COM) Turns upward (A)
      Battery positive (+) --> 4 (COM) Battery negative (-) --> 5 (MV) Turns downward (B)
      Battery positive (+) --> 3 (MH) Battery negative (-) --> 4 (COM) Turns left (C)
      Battery positive (+) --> 4 (COM) Battery negative (-) --> 3 (MH) Turns right (D)
      Fig 2: Identifying Outer Rear View Mirror Assy LH
      G03195673Courtesy of © TOYOTA, LICENSE AGREEMENT TMS1002

      If the result is not as specified, replace the mirror assy.

  3. INSPECT OUTER REAR VIEW MIRROR ASSY RH 
    1. Disconnect the mirror connector.
    2. Apply battery voltage to the mirror terminals and check operation of the mirror face, as shown in the table and illustration.

      Standard: 

      MEASUREMENT CONDITION AND MIRROR OPERATION

      Measurement Condition Mirror Operation
      Battery positive (+) --> 5 (MV) Battery negative (-) --> 4 (COM) Turns upward (A)
      Battery positive (+) --> 4 (COM) Battery negative (-) --> 5 (MV) Turns downward (B)
      Battery positive (+) --> 3 (MH) Battery negative (-) --> 4 (COM) Turns right (C)
      Battery positive (+) --> 4 (COM) Battery negative (-) --> 3 (MH) Turns left (D)
      Fig 3: Identifying Outer Rear View Mirror Assy RH
      G03195674Courtesy of © TOYOTA, LICENSE AGREEMENT TMS1002

      If the result is not as specified, replace the mirror assy.