LEMON Manuals: Even more car manuals for everyone
Home >> Scion >> 2005 >> tC Automatic >> Repair and Diagnosis >> Body & Frame >> Windows >> Windshield/WINDOWGLASS/Mirror >> Power Window Control System >> Inspection

Power Window Control System: Inspection

  1. INSPECT POWER WINDOW REGULATOR MOTOR ASSY LH (DRIVER SIDE) 
    1. Check operation of the regulator motor.
      NOTE: Do not apply battery voltage to any terminal except 1 and 2.
      1. Apply battery voltage to the motor terminals.
      2. Check that the motor rotates smoothly.

      Ok: 

      MEASUREMENT CONDITION SPECIFICATIONS

      Measurement Condition Specified Condition
      Battery positive (+) -> Terminal 1 (D) Motor gear rotates clockwise
      Battery negative (-) -> Terminal 2 (U) Motor gear rotates clockwise
      Battery positive (+) -> Terminal 2 (U) Motor gear rotates counterclockwise
      Battery negative (-) -> Terminal 1 (D) Motor gear rotates counterclockwise
      Fig 1: Inspecting Power Window Regulator Motor Assy LH (Driver Side)
      G03073622Courtesy of © TOYOTA, LICENSE AGREEMENT TMS1002

      If the result is not as specified, replace the motor assy.

    2. Check operation of the PTC inside the regulator motor.
      NOTE: Work must be performed with the power window regulator and door glass installed to the vehicle.
      1. Set an electrical tester DC 400 A probe to the wire harness of terminal 2.
        NOTE: Match the arrow mark of the probe with the current direction.
      2. Fully close the door glass by operating the power window switch and keep the door glass there for approximately 60 seconds.
      3. With the door glass fully closed, operate the power window switch in the closing direction again. Check how long the current takes to change from a range of 16 A to 34 A, to less than 1 A.

        Standard: 4 to 90 seconds 

      4. Check that the door glass moves down when the power window regulator switch is pushed DOWN.

      If the result is not as specified, replace the motor assy.

  2. INSPECT POWER WINDOW REGULATOR MOTOR ASSY RH 
    1. Check operation of the regulator motor.
      NOTE: Do not apply battery voltage to any terminal except 1 and 2.
      Fig 2: Inspecting Power Window Regulator Motor Assembly RH
      G03073623Courtesy of © TOYOTA, LICENSE AGREEMENT TMS1002
      1. Apply battery voltage to the motor terminals.
      2. Check that the motor rotates smoothly.

      Ok: 

      MEASUREMENT CONDITION SPECIFICATIONS

      Measurement Condition Specified Condition
      Battery positive (+) -> Terminal 2 (U) Motor gear rotates clockwise
      Battery negative (-) -> Terminal 1 (D) Motor gear rotates clockwise
      Battery positive (+) -> Terminal 1 (D) Motor gear rotates counterclockwise
      Battery negative (-) -> Terminal 2 (U) Motor gear rotates counterclockwise

      If the result is not as specified, replace the motor assy.

    2. Check operation of the PTC inside the regulator motor.
      NOTE: Work must be performed with the power window regulator and door glass installed in the vehicle.
      1. Set an electrical tester DC 400 A probe to the wire harness of terminal 2.
        NOTE: Match the arrow mark of the probe with the current direction.
      2. Fully close the door glass by operating the power window switch and keep the door glass there for approximately 60 seconds.
      3. With the door glass fully closed, operate the power window switch in the closing direction again. Check how long the current takes to change from a range of 16 A to 34 A, to less than 1 A.

        Standard: 4 to 90 seconds 

      4. Check that the door glass moves down when the power window regulator switch is pushed DOWN.

      If the result is not as specified, replace the motor assy.

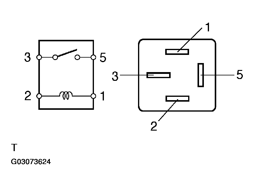
  3. INSPECT RELAY (Marking: IG1) 
    1. Remove the IG1 relay from the instrument panel J/B.
    2. Measure the resistance of the relay.

      Standard: 

      TESTER CONNECTION SPECIFICATIONS

      Tester Connection Specified Condition
      3 - 5 10 kΩ or higher
      3 - 5 Below 1 Ω (when battery voltage is applied to terminals 1 and 2)

      If the result is not as specified, replace the relay.

    Fig 3: Measuring Resistance Of Relay
    G03073624Courtesy of © TOYOTA, LICENSE AGREEMENT TMS1002