LEMON Manuals: Even more car manuals for everyone
Home >> Scion >> 2004 >> xB Standard >> Repair and Diagnosis >> General Information >> Identification >> Introduction >> Repair Instruction >> Precaution

Repair Instruction: Precaution

  1. BASIC REPAIR HINT 
    1. HINTS ON OPERATIONS
      Fig 1: Basic Repairing Diagram
      G03367458Courtesy of © TOYOTA, LICENSE AGREEMENT TMS1002
      BASIC REPAIRING CHART

      1 Looks
      • Always wear a clean uniform.
      • Hat and safety shoes must be worn.
      2 Vehicle protection
      • Set a grill cover, fender cover, seat cover and floor mat before starting the operation.
      3 Safe operation
      • In case of working with 2 or more persons, be sure to check safety in one another.
      • When working with the engine running, pay attention to the ventilation of the workshop.
      • In case of operating on a high temperature parts, rotating, moving and vibrating parts, pay attention not to burn or injure yourself.
      • When jacking up the vehicle, be sure to support the specified location with a safety stand.
      • When lifting up the vehicle, apply a safety equipment.
      4 Preparation of tools and measuring gauge
      • Before starting operation, prepare a tool stand, SST, gauge, oil, shop rag and parts for replacement.
      5 Removal and installation, disassembly and assembly operations
      • Diagnose with a thorough understanding of the trouble phenomenon and perform effective operation.
      • Before removing the parts, check the assembly for general condition, deformation and damage.
      • When a structure is complicated, take a note or put matchmakers so to avoid mistakes during reassembly.
      • Clean and wash the removed parts if necessary, and assemble them after a thorough check.
      6 Removed parts
      • Place the removed parts in the correct order to avoid mixing up or making them dirty.
      • As for non-reusable parts such as a gasket, an O-ring, and a self-lock nut, change them to new ones following the instruction of this manual.
      • Organize the replaced parts in a box and keep them for customer inspection, if necessary.
    2. JACKING UP AND SUPPORTING VEHICLE
      1. Care must be taken when jacking up and supporting the vehicle. Be sure to lift and support the vehicle at the proper locations (See VEHICLE LIFT AND SUPPORT LOCATIONS  ).
    3. PRECOATED PARTS
      1. Precoated parts are bolts, nuts, etc. that are coated with a seal lock adhesive at the factory.
      2. If a precoated part is retightened, loosened or moved in any way, it must be recoated with the specified adhesive.
      3. When reusing precoated parts, clean off the old adhesive and dry the part with compressed air.

        Then apply new seal lock adhesive appropriate to the bolt, nut, etc.

        NOTE: Perform the torque with the lower limit value of the torque tolerance.
      4. Depending on the seal lock agent to apply, there may be a cases where it is necessary to leave it for a specified time until it hardens.
      5. Fig 2: Applying Thread Lock
        G03367459Courtesy of © TOYOTA, LICENSE AGREEMENT TMS1002
    4. GASKETS
      1. When necessary, use a sealer on gaskets to prevent leaks.
    5. BOLTS, NUTS AND SCREWS
      1. Carefully observe all the specifications for tightening torques. Always use a torque wrench.
    6. FUSES
      1. When replacing fuses, be sure that a new fuse has the correct amperage rating. DO NOT exceed the rating or use one with a lower rating.
      2. Fig 3: Identifying Fuse Amperage Rating
        G03367460Courtesy of © TOYOTA, LICENSE AGREEMENT TMS1002
        Fig 4: Identifying Fuse Symbols
        G03367461Courtesy of © TOYOTA, LICENSE AGREEMENT TMS1002
    7. CLIPS
      1. The removal and installation methods of typical clips used in body parts are shown in the table below.

        HINT: If the clip is damaged during the a procedure, always replace it with a new clip.

      2. Fig 5: Identifying Typical Clips (1 Of 2)
        G03367462Courtesy of © TOYOTA, LICENSE AGREEMENT TMS1002
        Fig 6: Identifying Typical Clips (2 Of 2)
        G03367463Courtesy of © TOYOTA, LICENSE AGREEMENT TMS1002
    8. REMOVAL AND INSTALLATION OF VACUUM HOSES
      1. To disconnect vacuum hoses, pull off the end of the hose, not the middle.
      2. Fig 7: Disconnecting Vacuum Hoses
        G03367464Courtesy of © TOYOTA, LICENSE AGREEMENT TMS1002
      3. When disconnecting vacuum hoses, use tags to identify where they should be reconnected.
      4. After completing the job, double check that the vacuum hoses are properly connected. The label under the hood shows the proper layout.
      5. When using a vacuum gauge, never force the hose onto a connector that is too large. Use a step-down adapter for adjustment. Once the hose has been stretched, it may leak air.
      6. Fig 8: Identifying Vacuum Gauge
        G03367465Courtesy of © TOYOTA, LICENSE AGREEMENT TMS1002
    9. TORQUE WHEN USING TORQUE WRENCH WITH EXTENSION TOOL
      1. When SST or extension tool is combined with the torque wrench to extend its entire length, if you tighten until the reading of the torque wrench reaches the specified torque value, the actual torque becomes excessive.
      2. In this service information, only the specified torque is described. In case of using SST or extension tool, calculate the reading of the torque wrench by the following formula.
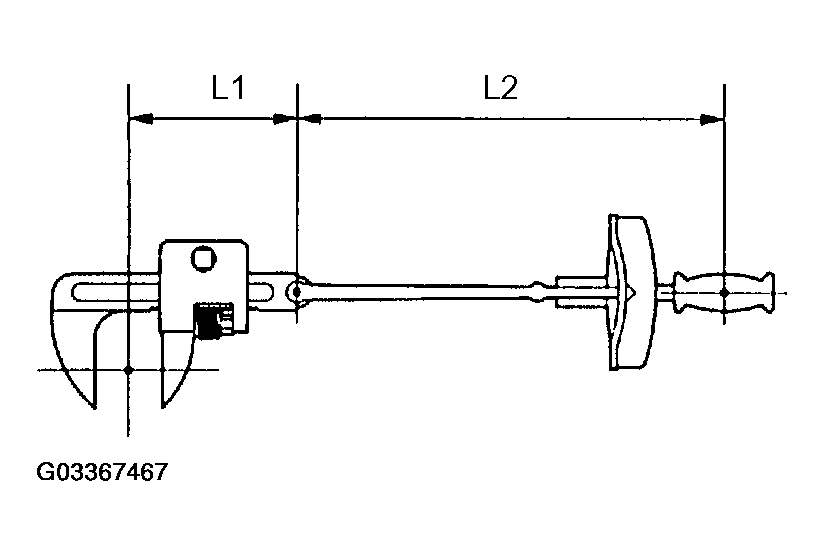
      3. Fig 9: Identifying Length Of Torque Wrench (1 Of 2)
        G03367466Courtesy of © TOYOTA, LICENSE AGREEMENT TMS1002
        Fig 10: Identifying Length Of Torque Wrench (2 Of 2)
        G03367467Courtesy of © TOYOTA, LICENSE AGREEMENT TMS1002
      4. Formula T'=T x L2/(L1 + L2)
        READING OF TORQUE WRENCH

        T' Reading of torque wrench {N.m (kgf.cm, ft.lbf)}
        T Torque {N.m (kgf.cm, ft.lbf)}
        L1 Length of SST or extension tool (cm)
        L2 Length of torque wrench (cm)
  2. FOR VEHICLES EQUIPPED WITH SRS AIRBAG AND SEAT BELT PRETENSIONER 

    HINT:

    The xB is equipped with a Supplemental Restraint System (SRS), and seat belt pretensioner. Failure to carry out the service operations in the correct sequence could cause the SRS to unexpectedly deploy during servicing and lead to serious injury.

    Furthermore, if a mistake is made when servicing the SRS, it is possible that the SRS may fail to operate properly. Before servicing (including removal or installation of parts, inspection or replacement), be sure to read the following items carefully. Then follow the correct procedures described in this service information.

    1. GENERAL NOTICE
      1. Malfunction symptoms of the SRS are difficult to confirm so the diagnostic trouble codes (DTCs) become the most important source of information when troubleshooting. When troubleshooting the SRS, always inspect the DTCs before disconnecting the battery.
      2. To avoid serious injury, servicing the SRS must be started 90 seconds after:
        • The ignition switch is tuned to the "LOCK" position.
        • The negative (-) terminal cable is disconnected from the battery.

          (The SRS is equipped with a back-up power source. So, if work is started within 90 seconds after disconnecting the negative (-) terminal cable from the battery, the SRS may deploy).

          Disconnecting the negative (-) terminal cable will erase clock memory and audio system presets.

          If you wish to do, mark down data as necessary before disconnecting the cable. To avoid erasing the memory settings, never use a back-up power supply.

      3. In minor collisions where the SRS does not deploy, the horn button assembly, instrument panel passenger airbag assembly and seat belt pretensioner should be inspected before further use of the vehicle.
      4. Never use the SRS parts from another vehicle. When replacing the parts, replace them with new parts.
      5. Before repairs, remove the airbag sensor if impacts are likely to be applied to the sensor during repairs.
      6. Never disassemble and repair the airbag sensor assembly, horn button assembly, instrument panel passenger airbag assembly or seat belt pretensioner.
      7. Replace if the center airbag sensor assembly, side airbag sensor assembly, horn button assembly or the instrument panel passenger airbag assembly if:
        1. Damage has occurred from being dropped.
        2. If there are cracks, dents or other defects in the case, bracket or connector.
      8. Do not directly expose the airbag sensor assembly, the horn button assembly, the instrument panel passenger airbag assembly or the seat belt pretensioner to hot air or flames.
      9. Use a volt/ohmmeter with high impedance (10 kΩ/V minimum) for troubleshooting an electrical circuits.
      10. Information labels are attached to the SRS components. Follow the instructions on the notices.
      11. After work on the SRS is completed, check the SRS warning light.
    2. SPIRAL CABLE (in Combination Switch)
      1. The steering wheel must be fitted correctly to the steering column with the spiral cable at the neutral position, otherwise cable disconnection and other problems may occur.
      2. Fig 11: Identifying Spiral Cable (In Combination Switch)
        G03367468Courtesy of © TOYOTA, LICENSE AGREEMENT TMS1002
    3. HORN BUTTON ASSEMBLY (with Airbag)
      1. When removing the horn button assembly or handling a new horn button, it should be placed with the pad top surface facing up. See illustration below.

        Placing it with the pad surface facing downward may lead to a serious accident if the airbag accidently inflates. Also, do not place horn buttons on top of one another.

      2. Never measure the resistance of the airbag squib. This may cause the airbag to inflate, which could cause serious injury.
      3. Grease or detergents of any kind should not be applied to the steering wheel pad.
      4. Store the horn button assembly where the ambient temperature remains below 93°C (200°F), has low humidity and is away from electrical noise.
      5. When using electric welding anywhere on the vehicle, disconnect the airbag ECU connectors (4 yellow pins). These connectors contain shorting springs. This feature reduces the possibility of the airbag or seat belt pretensioner deploying due to currents entering the squib wiring.
      6. When disposing of the vehicle or the horn button assembly by itself the airbag should be inflated using an SST before disposal. Perform the operation in a safe place away from electrical noise.
      7. Fig 12: Precaution For Handling Horn Switch Cover
        G03367469Courtesy of © TOYOTA, LICENSE AGREEMENT TMS1002
        Fig 13: Precaution For Handling Airbag Assembly & Related Components
        G03367470Courtesy of © TOYOTA, LICENSE AGREEMENT TMS1002
    4. INSTRUMENT PANEL PASSENGER AIRBAG ASSY
      1. Always place a removed or new instrument panel passenger airbag assembly with the airbag deployment direction facing upward.

        Placing the airbag assembly with the airbag deployment direction facing downward could cause a serious accident if the airbag inflates.

      2. Never measure the resistance of the airbag squib. This may cause the airbag to deploy, which could cause serious injury.
      3. Grease or detergents of any kinds should not be applied to the instrument panel passenger airbag assembly.
      4. Store the airbag assembly where the ambient temperature remains below 93°C (200°F), has low humidity and away from electrical noise.
      5. When using electric welding anywhere on the vehicle, disconnect the airbag ECU connectors (4 yellow pins). These connectors contain shorting springs. This feature reduces the possibility of the airbag or seat belt pretensioner deploying due to currents entering the squib wiring.
      6. When disposing of a vehicle or the airbag assembly unit by itself, the airbag should be deployed using SST before disposal.

        Activate in a safe place away from electrical noise.

      7. Fig 14: Passenger Airbag Facing Upward
        G03367471Courtesy of © TOYOTA, LICENSE AGREEMENT TMS1002
        Fig 15: Precaution For Handling Airbag Assembly & Related Components
        G03367472Courtesy of © TOYOTA, LICENSE AGREEMENT TMS1002
    5. SEAT BELT PRETENSIONER
      1. Never measure the resistance of the seat belt pretensioner. This may cause the seat belt pretensioner to activate, which could cause serious injury.
      2. Never disassemble the seat belt pretensioner.
      3. Never install the seat belt pretensioner on another vehicle.
      4. Store the seat belt pretensioner where the ambient temperature remains below 80°C (176°F), has low humidity and is away from electrical noise.
      5. When using electric welding anywhere on the vehicle, disconnect the airbag ECU connectors (2 yellow pins). These connectors contain shorting springs. This feature reduces the possibility of the airbag or seat belt pretensioner deploying due to currents entering the squib wiring.
      6. As a safety measure, always activate the seat belt pretensioner before disposal. Activate the pretensioner in a safe place away from electrical noise.

        (The seat belt pretensioner becomes hot after activation. Allow it to cool before disposing. Never use water to cool seat belt pretensioner.)

      7. Oil or water should not be put on the front seat outer belt and the front seat outer belt should not be cleaned with any type of detergent.
      8. Fig 16: Measuring Resistance Precaution Of The Seat Belt Pretensioner
        G03367473Courtesy of © TOYOTA, LICENSE AGREEMENT TMS1002
    6. AIRBAG SENSOR ASSEMBLY
      1. Never reuse an airbag sensor assembly has been involved in a collision where its SRS has deployed.
      2. The connectors to the airbag sensor assembly should be connected or disconnected with sensor mounted on the floor. If the connectors are connected or disconnected while the airbag sensor assembly is not mounted to the floor, it could cause accidental deployment the SRS.
      3. To avoid serious injury, servicing the SRS must be started 90 seconds after:
        • The ignition switch is turned to the "LOCK" position.
        • The negative (-) terminal cable is disconnected from the battery.
    7. WIRE HARNESS AND CONNECTOR
      1. The SRS wire harness is integrated with the instrument panel wire harness assembly. All connectors in the system are a standard yellow color. If the SRS wire harness becomes disconnected or the connector becomes broken, repair or replace it.
      2. Fig 17: Identifying Battery Negative Terminal
        G03367474Courtesy of © TOYOTA, LICENSE AGREEMENT TMS1002
  3. ELECTRONIC CONTROL 
    1. REMOVAL AND INSTALLATION OF BATTERY TERMINAL
      1. Before performing electronic work, disconnect the battery negative (-) terminal cable beforehand in order to prevent it from shorting and burning out.
      2. When disconnecting and installing the terminal cable, turn the ignition switch and lighting switch OFF and loosen the terminal nut completely. Perform these operations without twisting or prying the terminal.
      3. When the battery terminal cable is removed, all the data stored (clock, radio, DTCs, etc.) are erased.

        Before removing the cable, make a record of the settings of each memory system.

      4. When the battery negative (-) terminal cable is disconnected, memories of various systems are erased. Refer to the PRE-CHECK for each system to make sure whether or not the system needs to be initialized after the battery negative (-) terminal cable is disconnected. If necessary, be sure to initialize the system.
    2. HANDLING OF ELECTRONIC PARTS
      1. Do not open the cover or case of the ECU unless absolutely necessary (If the IC terminals are touched, the IC may be rendered inoperative by static electricity).
      2. To disconnect electronic connectors, pull the connector itself, not the wires.
      3. Be careful not to drop electronic components, such as sensors or relays. If they are dropped on a hard floor, they should be replaced and not be reused.
      4. When cleaning the engine with steam, protect the electronic components, air filter and emission-related components from water.
      5. Never use an impact wrench to remove or install temperature switches or temperature sensors.
      6. When checking the continuity at the wire connector, insert the tester probe carefully to prevent terminals from bending.
      7. Fig 18: Precaution Handling Of Electronic Parts
        G03367475Courtesy of © TOYOTA, LICENSE AGREEMENT TMS1002
  4. REMOVAL AND INSTALLATION OF FUEL CONTROL PARTS 
    1. PLACE FOR REMOVING AND INSTALLING OF FUEL SYSTEM PARTS
      1. Work in a place with good air ventilation without any ignition sources, such as a welder, grinder, drill, electric motor or stove.
      2. Never work in a place such as a pit or near a pit because vaporized fuel will collect in those places.
    2. REMOVING AND INSTALLING OF FUEL SYSTEM PARTS
      1. Prepare a fire extinguisher before starting operations.
      2. To prevent static electricity, install a ground cable on the fuel changer, vehicle and fuel tank, and do not spray the area with water. The work surface will become slippery. Do not clean up spills with water as this will spread the gasoline and create a fire hazard.
      3. Never use any electric equipment like an electric motor or a working light, as they may create sparks or a high temperature.
      4. Never use an iron hammer, as it may create sparks.
      5. Dispose of shop rags containing fuel deposits separately using a fire-resistant container.
  5. REMOVAL AND INSTALLATION OF ENGINE INTAKE PARTS 
    1. If any metal particle enters the inlet pass, this may damage the engine and turbocharger.
    2. When removing and installing the inlet system parts, cover the openings of the removed parts and engine openings. Use clean shop rags, gummed tape, or other suitable materials.
    3. When installing the inlet system parts, check that no metal particles have entered the engine or the installed part.
    4. Fig 19: Covering The Openings Of Removed Parts
      G03367476Courtesy of © TOYOTA, LICENSE AGREEMENT TMS1002
  6. HANDLING OF HOSE CLAMPS 
    1. Before removing the hose, check the clamp position so you can restore it in the same way.
    2. Replace a deformed or dented clamp with a new one.
    3. When reusing a hose, attach the clamp on the clamp track portion of the hose.
    4. For a spring type clamp, you may want to spread the tabs slightly after installation by pushing in the direction of the arrow marks as shown in the illustration.
    5. Fig 20: Identifying Hose Clamps
      G03367477Courtesy of © TOYOTA, LICENSE AGREEMENT TMS1002
  7. FOR VEHICLES EQUIPPED WITH MOBILE COMMUNICATION SYSTEMS 
    1. Install the antenna as far away from the ECU and sensors of the vehicle electronic systems as possible.
    2. Install an antenna feeder at least 20 cm (7.87 in.) away from the ECU and sensors of the vehicle electronic systems. For details of the ECU and sensors locations, refer to the section on applicable components.
    3. Keep the antenna feeder separate from other wirings as much as possible. This will prevent signals from the communication equipment from affecting vehicle equipment and vice-versa.
    4. Fig 21: Identifying Mobile Communication System Components
      G03367478Courtesy of © TOYOTA, LICENSE AGREEMENT TMS1002
    5. Check that the antenna and feeder are correctly adjusted.
    6. Do not install any high-powered mobile communication system.
  8. FOR VEHICLES EQUIPPED WITH TRACTION CONTROL (TRAC) SYSTEM 

    When using a 2-wheel drum tester such as a speedometer tester, a combination tester of speedometer and brake, chassis dynamometer, etc., or jacking up the front wheels and driving the wheels, always turn the TRAC system off via the TRAC OFF switch before measurement.

    Fig 22: Identifying TRAC Off Indicator Light
    G03367479Courtesy of © TOYOTA, LICENSE AGREEMENT TMS1002
    NOTE: TRAC system OFF condition can be confirmed by the "TRAC OFF" warning indicator in the combination meter.
    1. Confirm TRAC system is OFF
      1. Press the TRAC cut ("TRAC OFF") switch to turn off the TRAC system.
      2. Check that the TRAC OFF indicator light comes on.

        HINT:

        The SLIP indicator light should always operate right after the engine is restarted.

      3. Begin measurements.
      4. Press the TRAC cut switch to turn the TRAC system to the operative mode and check that the TRAC OFF indicator light goes off.

        HINT:

        The SLIP indicator light blinks when the TRAC system is operating.

      5. Fig 23: Identifying SLIP Indicator Light
        G03367480Courtesy of © TOYOTA, LICENSE AGREEMENT TMS1002
  9. FOR VEHICLES EQUIPPED WITH VEHICLE SKID CONTROL (VSC) SYSTEM 
    1. NOTICES WHEN USING DRUM TESTER
      1. Before beginning testing, disable the Vehicle Skid Control system (VSC). To disable the VSC, turn the ignition switch OFF and connect SST to terminals TS and CG of DLC3.

        SST 09843-18040

        NOTE:
        • Confirm that the VSC warning light blinks.
        • VSC system will be reset when the engine is restarted.
        • Fasten the vehicle with lock chains.
    2. NOTICES OF RELATED OPERATIONS TO VSC
      1. Do not carry out unnecessary installation and removal as it might affect the adjustment of VSC related parts.
      2. Be sure to follow the instructions for work preparation and final confirmation of proper operation of the VSC system.
      3. Fig 24: Identifying (VSC) System Connector
        G03367481Courtesy of © TOYOTA, LICENSE AGREEMENT TMS1002
  10. FOR VEHICLES EQUIPPED WITH CATALYTIC CONVERTER 
    CAUTION: If a large amount of unburned gasoline or gasoline vapors flow into the converter, it may cause overheat and create a fire hazard. To prevent this, observe the following precautions.
    1. Use only unleaded gasoline.
    2. Avoid prolonged idling. Avoid idling the engine for more than 20 minutes.
    3. Avoid a spark jump test.
      1. Perform a spark jump test only when absolutely necessary. Perform this test as rapidly as possible.
      2. While testing, never race the engine.
    4. Avoid a prolonged engine compression measurement. Engine compression measurements must be performed as rapidly as possible.
    5. Do not run the engine when the fuel tank is nearly empty. This may cause the engine to misfire and create an extra load on the converter.