LEMON Manuals: Even more car manuals for everyone
Home >> Scion >> 2004 >> xB Standard >> Repair and Diagnosis >> General Information >> Identification >> Introduction >> Identification Information >> Vehicle Identification And Serial Numbers

Vehicle Identification And Serial Numbers

  1. VEHICLE IDENTIFICATION NUMBER 
    1. The vehicle identification number is stamped on the vehicle identification number plate and certification label, as shown in the illustration.

      A: Vehicle Identification Number Plate 

      B: Certification Label 

    2. Fig 1: Identifying Vehicle Identification Number Plate
      G03367455Courtesy of © TOYOTA, LICENSE AGREEMENT TMS1002
      Fig 2: Identifying Certification Label
      G03367456Courtesy of © TOYOTA, LICENSE AGREEMENT TMS1002
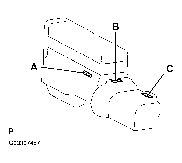
  2. ENGINE SERIAL NUMBER AND TRANSAXLE SERIAL NUMBER 
    1. The engine serial number is stamped on the cylinder block of the engine and the transmission serial number is stamped on the housing as shown in the illustration.

      A: 1NZ-FE 

      B: C50 

      C: U340E 

    2. Fig 3: Identifying Engine And Transmission Serial Numbers
      G03367457Courtesy of © TOYOTA, LICENSE AGREEMENT TMS1002