LEMON Manuals: Even more car manuals for everyone
Home >> Scion >> 2004 >> xA Standard >> Repair and Diagnosis >> General Information >> Identification >> Introduction >> Repair Instruction >> Precaution

Repair Instruction: Precaution

  1. BASIC REPAIR HINT 
    1. JACKING UP AND SUPPORTING VEHICLE
      1. Care must be taken when jacking up and supporting the vehicle. Be sure to lift and support the vehicle at the proper locations (See VEHICLE LIFT AND SUPPORT LOCATIONS ).
    2. PRECOATED PARTS
      1. Precoated parts such as bolts, nuts, etc. are coated with a seal lock adhesive at the factory.
      2. If a precoated part is retightened, loosened or caused to move in any way, it must be recoated with the specified adhesive.
      3. When reusing precoated parts, clean off the old adhesive and dry the part with compressed air. Then apply the specified seal lock adhesive to the bolt, nut or threads.
        Fig 1: Identifying Bolt With Seal Lock Adhesive
        G03366921Courtesy of © TOYOTA, LICENSE AGREEMENT TMS1002
        NOTE: Check the torque with the lower limit value of the torque tolerance.
      4. Depending on the seal lock agent to be applied, there may be cases where it is necessary to leave it for a specified time until it hardens.
    3. GASKETS
      1. When necessary, use a sealer on gaskets to prevent leaks.
    4. BOLTS, NUTS AND SCREWS
      1. Carefully follow all the specifications for tightening torques. Always use a torque wrench.
    5. FUSES
      1. When replacing fuses, be sure that a new fuse has the correct amperage rating. DO NOT exceed the rating, or use one with a lower rating.
        Fig 2: Identifying Fuse With Correct Amperage Rating
        G03366922Courtesy of © TOYOTA, LICENSE AGREEMENT TMS1002
        Fig 3: Fuse Specification Chart
        G03366923Courtesy of © TOYOTA, LICENSE AGREEMENT TMS1002
    6. CLIPS
      1. The removal and installation methods of typical clips used in body parts are shown in the table below.
      NOTE: If the clip is damaged during the a procedure, always replace it with a new clip.
      Fig 4: Removing & Installation Procedure Of Body Parts Clip (1 Of 2)
      G03366924Courtesy of © TOYOTA, LICENSE AGREEMENT TMS1002
      Fig 5: Removing & Installation Procedure Of Body Parts Clip (2 Of 2)
      G03366925Courtesy of © TOYOTA, LICENSE AGREEMENT TMS1002
    7. REMOVAL AND INSTALLATION OF VACUUM HOSES
      1. To disconnect vacuum hoses, pull them by holding the end of the hose, not the middle.
        Fig 6: Locating Wrong & Correct Procedure For Disconnecting Vacuum Hoses
        G03366926Courtesy of © TOYOTA, LICENSE AGREEMENT TMS1002
      2. When disconnecting vacuum hoses, use tags to identify where they should be reconnected.
      3. After completing the job, double check that the vacuum hoses are properly connected. The label under the hood shows the proper layout.
      4. When using a vacuum gauge, never force the hose onto a connector that is too large. Use a step-down adapter for adjustment. Once the hose has been stretched, it may leak air.
        Fig 7: Using Identify Tags For Disconnecting Vacuum Hose
        G03366927Courtesy of © TOYOTA, LICENSE AGREEMENT TMS1002
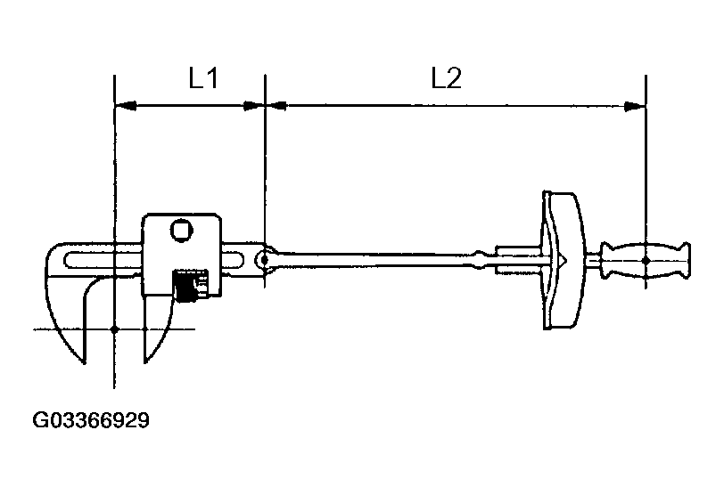
    8. TORQUE WHEN USING TORQUE WRENCH WITH EXTENSION TOOL
      1. When the torque wrench is combined with SST or an extension tool to extend the length, and you tighten until the torque wrench reads the specified torque value, the actual torque becomes excessive.
      2. Only the specified torque is described. In case of using SST or extension tool, calculate the reading of the torque wrench by the following formula.
        Fig 8: Identifying Length Of SST Or Extension Tool And & Torque Wrench (1 Of 2)
        G03366928Courtesy of © TOYOTA, LICENSE AGREEMENT TMS1002
      3. Formula T'=T x L2/(L1 + L2)
        FORMULA T DESCRIPTION

        T' Reading Of Torque Wrench {N.m (kgf.cm, ft.lbf)}
        T Torque {N.m (kgf.cm, ft.lbf)}
        L1 Length Of SST Or Extension Tool (cm)
        L2 Length Of Torque Wrench (cm)
        Fig 9: Identifying Length Of SST Or Extension Tool & Torque Wrench (2 Of 2)
        G03366929Courtesy of © TOYOTA, LICENSE AGREEMENT TMS1002
  2. FOR VEHICLES EQUIPPED WITH SRS AIRBAG AND SEAT BELT PRETENSIONER 
    NOTE: The xA is equipped with a Supplemental Restraint System (SRS) and seat belt pretensioner.

    Failure to carry out the service operations in the correct sequence could cause the SRS to unexpectedly deploy while servicing and cause a serious accident.

    Furthermore, if a mistake is made when servicing the SRS, it is possible that the SRS will fail to operate when required. Before servicing (including removal or installation of parts, inspection or replacement), be sure to read the following items carefully. Then follow the correct procedures described in this data.

    1. GENERAL NOTICE
      1. Malfunction symptoms of the SRS are difficult to confirm so the diagnostic trouble codes become the most important source of information when troubleshooting. When troubleshooting the SRS, always check the diagnostic trouble codes before disconnecting the battery (See DIAGNOSTICS ).
      2. Work must be started at least 90 seconds after the ignition switch is turned to the LOCK position and the negative (-) terminal cable is disconnected from the battery.

        (The SRS is equipped with a back-up power source. So, if work is started within 90 seconds after disconnecting the negative (-) terminal cable from the battery, the SRS may deploy). When the negative (-) terminal cable is disconnected from the battery, clock and audio system memory is erased. Before starting work, make a record of the settings of each memory system. When work is finished, reset the clock and audio systems as before. Never use a back-up power source (battery or other) to avoid erasing system memory. The back-up power source may power the SRS and cause it to deploy.

      3. Even in the case of a minor collision where the SRS does not deploy, the horn button assembly, instrument panel passenger airbag assembly and seat belt pretensioner should be inspected (See DISPOSAL PROCEDURES ).
      4. Never use the SRS related parts from another vehicle. When replacing the parts, replace them with new parts.
      5. Before repairs, remove the airbag sensor if there is a possibility of shock during repairs.
      6. Never disassemble and repair the center airbag sensor assembly, side airbag sensor assembly, horn button assembly, instrument panel passenger airbag assembly, front seat airbag assembly, curtain shield airbag assembly or seat belt pretensioner.
      7. Replace the center airbag sensor assembly, side airbag sensor assembly, horn button assembly or instrument panel passenger airbag assembly, curtain shield airbag assembly if: 1) damage has occurred from being dropped, or 2) if there are cracks, dents or other defects in the case, bracket or connector.
      8. Do not directly expose the airbag sensor assembly, side airbag sensor assembly, horn button assembly, instrument panel passenger airbag assembly or the seat belt pretensioner to hot air or flames.
      9. Use a volt/ohmmeter with high impedance (10 kW/V minimum) for troubleshooting electrical circuits.
      10. Information labels are attached to the SRS components. Follow the instructions on the notices.
      11. After work on the SRS is completed, check the SRS warning light (See DIAGNOSTICS ).
    2. SPIRAL CABLE (in Combination Switch)
      1. The steering wheel must be fitted correctly to the steering column with the spiral cable at the neutral position, otherwise cable disconnection and other troubles may occur. Refer to SPIRAL CABLE concerning the correct installation of the steering wheel.
      2. Fig 10: Identifying Marks For Fitting Steering Wheel
        G03366930Courtesy of © TOYOTA, LICENSE AGREEMENT TMS1002
    3. HORN BUTTON ASSEMBLY (with Airbag)
      1. When removing the horn button assembly or handling a new horn button, it should be placed with the top of the pad surface facing upward. Placing it with the pad surface facing downward may lead to a serious accident if the airbag deploys for under certain conditions. Also, do not place anything on top of the horn button.
      2. Never measure the resistance of the airbag squib (This may cause the airbag to inflate, which is very dangerous).
      3. Grease should not be applied to the horn button assembly, and the pad should not be cleaned with any type of detergent.
      4. Store the horn button assembly where the ambient temperature remains below 93°C (200°F), without high humidity and away from electrical noise.
      5. When using electric welding anywhere on the vehicle, disconnect the airbag ECU connectors (4 yellow pins). These connectors contain shorting springs. This feature reduces the possibility of the air bag or seat belt pretensioner deploying due to currents entering the squib wiring.
      6. When disposing of the vehicle or the horn button assembly by itself, the airbag should be inflated using an SST before disposal (See DISPOSAL PROCEDURES ).

        Perform the operation in a safe place away from electrical noise.

        Fig 11: Proper Method Of Placing Horn Button Assembly
        G03366931Courtesy of © TOYOTA, LICENSE AGREEMENT TMS1002
        Fig 12: Precautions For Measuring Resistance Of Airbag Squib
        G03366932Courtesy of © TOYOTA, LICENSE AGREEMENT TMS1002
    4. INSTRUMENT PANEL PASSENGER AIRBAG ASSEMBLY
      1. Always place a removed or new instrument panel passenger airbag assembly with the airbag inflation direction facing upward. Placing the airbag assembly with the airbag inflation direction facing downward could cause a serious accident if the airbag deploys.
      2. Never measure the resistance of the airbag squib (This may cause the airbag to inflate, which is very dangerous).
      3. Grease should not be applied to the instrument panel passenger airbag assembly and the airbag door should not be cleaned with detergents of any kind.
      4. Store the airbag assembly where the ambient temperature remains below 93°C (200°F), without high humidity and away from electrical noise.
      5. When using electric welding anywhere on the vehicle, disconnect the airbag ECU connectors (4 yellow pins). These connectors contain shorting springs. This feature reduces the possibility of the airbag or seat belt pretensioner deploying due to currents entering the squib wiring.
      6. When disposing of a vehicle or the airbag assembly unit by itself, the airbag should be deployed using SST before disposal (See DISPOSAL PROCEDURES ).

        Activate in a safe place away from electrical noise.

        Fig 13: Proper Method Of Placing Instrument Panel Passenger Airbag Assembly
        G03366933Courtesy of © TOYOTA, LICENSE AGREEMENT TMS1002
        Fig 14: Precautions For Measuring Resistance
        G03366934Courtesy of © TOYOTA, LICENSE AGREEMENT TMS1002
    5. FRONT SEAT AIRBAG ASSEMBLY
      1. Always place a removed or new front seat airbag assembly with the airbag inflation direction facing upward. Placing the airbag assembly with the airbag inflation direction facing downward could cause a serious accident if the airbag deploys.
      2. Never measure the resistance of the airbag squib (This may cause the airbag to inflate, which is very dangerous).
      3. Grease should not be applied to the front seat airbag assembly, and the airbag door should not be cleaned with detergents of any kind.
      4. Store the airbag assembly where the ambient temperature remains below 93°C (200°F), without high humidity and away from electrical noise.
      5. When using electric welding anywhere on the vehicle, disconnect the airbag ECU connectors (4 yellow pins). These connectors contain shorting spring. This feature reduces the possibility of the airbag or seat-belt pretensioner deploying due to currents entering the squib wiring.
      6. When disposing of a vehicle or the airbag assembly unit by itself, the airbag should be deployed using SST before disposal (See DISPOSAL PROCEDURES ).

        Activate in a safe place away from electrical noise.

      7. Fig 15: Precautions For Measuring Resistance
        G03366935Courtesy of © TOYOTA, LICENSE AGREEMENT TMS1002
    6. CURTAIN SHIELD AIRBAG ASSEMBLY
      1. Always place the removed or new curtain shield airbag assy in a clear plastic bag, and keep it in a safe place.
        NOTE: Protection bag is not reusable.
        CAUTION: Never disassemble the curtain shield airbag assembly.
      2. Never measure the resistance of the airbag squib (This may cause the airbag to inflate, which is very dangerous).
      3. Grease should not be attached to the curtain shield airbag assy, and the surface should not be cleared with detergents of any kind.
      4. Store the airbag assembly where the ambient temperature remains below 93°C (200°F), without high humidity and away from electrical noise.
      5. When using electric welding anywhere on the vehicle, disconnect the airbag ECU connectors (2 yellow pins). These connectors contain shorting springs. This feature reduces the possibility of the airbag or seat belt pretensioner deploying due to currents entering the squib wiring.
      6. When disposing of a vehicle or the curtain shield airbag assembly by itself, the airbag should be deployed using SST before the disposal (See DISPOSAL PROCEDURES ). Perform operation in a safe place away from electrical noise.
        Fig 16: Placing Curtain Shield Airbag Assy In Clear Plastic Bag
        G03366936Courtesy of © TOYOTA, LICENSE AGREEMENT TMS1002
        Fig 17: Precautions For Measuring Resistance
        G03366937Courtesy of © TOYOTA, LICENSE AGREEMENT TMS1002
    7. SEAT BELT PRETENSIONER
      1. Never measure the resistance of the seat belt pretensioner (This may cause the seat belt pretensioner to activate, which is very dangerous).
      2. Never disassemble the seat belt pretensioner.
      3. Never install the seat belt pretensioner on another vehicle.
      4. Store the seat belt pretensioner where the ambient temperature remains below 80°C (176°F) without high humidity and away from electrical noise.
      5. When using electric welding anywhere on the vehicle, disconnect the airbag ECU connectors (2 yellow pins). These connectors contain shorting springs. This feature reduces the possibility of the airbag or seat belt pretensioner deploying due to currents entering the squib wiring.
      6. When disposing of a vehicle or the seat belt pretensioner unit by itself, the seat belt pretensioner should be activated before disposal (See DISPOSAL PROCEDURES ). Activate operation in a safe place away from electrical noise.
      7. The seat belt pretensioner is hot after being activation, so allow some time for it to cool down sufficiently before disposal. Never apply water to cool down the seat belt pretensioner.
      8. Oil, water, and detergents should not come in contact with the front seat outer belt.
        Fig 18: Precautions For Measuring Resistance
        G03366938Courtesy of © TOYOTA, LICENSE AGREEMENT TMS1002
    8. AIRBAG SENSOR ASSEMBLY
      1. Never reuse an airbag sensor assembly that has been involved in a collision where the SRS has deployed.
      2. The connectors to the airbag sensor assembly should be connected or disconnected with the sensor mounted on the floor. If the connectors are connected or disconnected while the airbag sensor assembly is not mounted to the floor, it could cause accidental deployment of the SRS.
      3. Work must be started at least 90 seconds after the ignition switch is turned to the "LOCK" position and the negative (-) terminal cable is disconnected from the battery, even if only loosening the set bolts of the airbag sensor assembly.
    9. WIRE HARNESS AND CONNECTOR
      1. The SRS wire harness is integrated with the instrument panel wire harness assembly. All connectors in the system are a standard yellow color. If the SRS wire harness becomes disconnected or the connector becomes broken due to an accident, etc., repair or replace it.

  3. ELECTRONIC CONTROL 
    1. REMOVAL AND INSTALLATION OF BATTERY TERMINAL
      1. Before performing electronic work, disconnect the battery negative (-) terminal cable beforehand in order to prevent it from shorting and burning out.
      2. When disconnecting and installing the terminal cable, turn the ignition switch and lighting switch OFF and loosen the terminal nut completely. Perform these operations without twisting or prying the terminal.
        Fig 19: Disconnecting Battery Negative Terminal Cable
        G03366939Courtesy of © TOYOTA, LICENSE AGREEMENT TMS1002
      3. When the battery terminal cable is removed, all the data stored (clock, radio, DTCs, etc.) are erased. Before removing the cable, make a record of the settings of each memory system.
      4. When the battery negative (-) terminal cable is disconnected, memories of various systems are erased. Refer to the PRE-CHECK for each system to make sure whether or not the system needs to be initialized after the battery negative (-) terminal cable is disconnected. If necessary, be sure to initialize the system.
    2. HANDLING OF ELECTRONIC PARTS
      1. Do not open the cover or case of the ECU unless absolutely necessary (If the IC terminals are touched, the IC may be rendered inoperative by static electricity).
      2. To disconnect electronic connectors, pull the connector itself, not the wires.
      3. Be careful not to drop electronic components, such as sensors or relays. If they are dropped on a hard floor, they should be replaced and not be reused.
      4. When cleaning the engine with steam, protect the electronic components, air filter and emission-related components from water.
      5. Never use an impact wrench to remove or install temperature switches or temperature sensors.
      6. When checking the resistance at the wire connector, insert the tester probe carefully to prevent terminals from bending.
        Fig 20: Precautions For Measuring Resistance
        G03366940Courtesy of © TOYOTA, LICENSE AGREEMENT TMS1002
  4. REMOVAL AND INSTALLATION OF FUEL CONTROL PARTS 
    1. PLACE FOR REMOVING AND INSTALLING OF FUEL SYSTEM PARTS
      1. Work in a place with good air ventilation without any ignition sources, such as a welder, grinder, drill, electric motor or stove.
      2. Never work in a place such as a pit or near a pit because vaporized fuel will collect in those places.
    2. REMOVING AND INSTALLING OF FUEL SYSTEM PARTS
      1. Prepare a fire extinguisher before starting operations.
      2. To prevent static electricity, install a ground cable on the fuel changer, vehicle and fuel tank, and do not spray the area with water. The work surface will become slippery. Do not clean up spills with water as this will spread the gasoline and create a fire hazard.
      3. Never use any electric equipment like an electric motor or a working light, as they may create sparks or a high temperature.
      4. Never use an iron hammer, as it may create sparks.
      5. Dispose of shop rags containing fuel deposits separately using a fire-resistant container.
  5. REMOVAL AND INSTALLATION OF ENGINE INTAKE PARTS 
    1. If any metal particle enters the inlet pass, this may damage the engine and turbocharger.
    2. When removing and installing the inlet system parts, cover the openings of the removed parts and engine openings. Use clean shop rags, gummed tape, or other suitable materials.
    3. When installing the inlet system parts, check that no metal particles have entered the engine or the installed part.
    4. Fig 21: Covering Engine Openings
      G03366941Courtesy of © TOYOTA, LICENSE AGREEMENT TMS1002
  6. HANDLING OF HOSE CLAMPS 
    1. Before removing the hose, check the clamp position so you can restore it in the same way.
    2. Replace a deformed or dented clamp with a new one.
    3. When reusing a hose, attach the clamp on the clamp track portion of the hose.
    4. For a spring type clamp, you may want to spread the tabs slightly after installation by pushing in the direction of the arrow marks as shown in the illustration.
    5. Fig 22: Identifying Pushing Direction Of Spring Type Clamp Tabs
      G03366942Courtesy of © TOYOTA, LICENSE AGREEMENT TMS1002
  7. FOR VEHICLES EQUIPPED WITH MOBILE COMMUNICATION SYSTEMS 
    1. Install the antenna as far away from the ECU and sensors of the vehicle electronic systems as possible.
    2. Install an antenna feeder at least 20 cm (7.87 in.) away from the ECU and sensors of the vehicle electronic systems. For details of the ECU and sensors locations, refer to the section on applicable components.
    3. Keep the antenna feeder separate from other wirings as much as possible. This will prevent signals from the communication equipment from affecting vehicle equipment and vice-versa.
    4. Check that the antenna and feeder are correctly adjusted.
    5. Do not install any high-powered mobile communication system.
    6. Fig 23: Identifying Vehicles Equipped With Mobile Communication Systems
      G03366943Courtesy of © TOYOTA, LICENSE AGREEMENT TMS1002
  8. FOR VEHICLES EQUIPPED WITH TRACTION CONTROL (TRAC) SYSTEM 

    When using a 2-wheel drum tester such as a speedometer tester, a combination tester of speed meter and brake, chassis dynamometer, etc., or jacking up the front wheels and driving the wheels, always turn the TRAC system off via the TRAC OFF switch before measurement.

    NOTE: TRAC system OFF condition can be confirmed by the "TRAC OFF" warning indicator in the combination meter.
    1. Confirm TRAC system is OFF
      1. Press the TRAC cut ("TRAC OFF") switch to turn off the TRAC system.
      2. Check that the TRAC OFF indicator comes on.
        NOTE: The SLIP indicator light should always operate right after the engine is restarted.
      3. Begin measurements.
      4. Fig 24: Locating TRAC OFF Indicator
        G03366944Courtesy of © TOYOTA, LICENSE AGREEMENT TMS1002
      5. Press the TRAC cut switch to turn the TRAC system to the operative mode and check that the TRAC OFF indicator goes off.
      NOTE: The SLIP indicator light blinks when the TRAC system is operating.
      Fig 25: Locating SLIP Indicator Light
      G03366945Courtesy of © TOYOTA, LICENSE AGREEMENT TMS1002
  9. FOR VEHICLES EQUIPPED WITH VEHICLE SKID CONTROL (VSC) SYSTEM 
    1. NOTICES WHEN USING DRUM TESTER
      1. Before beginning testing, disable the Vehicle Skid Control system (VSC). To disable the VSC, turn the ignition switch OFF and connect SST to terminals TS and CG of DLC3.

      SST 09843-18040

      NOTE:
      • Confirm that the VSC warning light blinks.
      • VSC system will be reset when the engine is restarted.
      • Fasten the vehicle with lock chains.
    2. NOTICES OF RELATED OPERATIONS TO VSC
      Fig 26: Identifying DLC3 Connector Terminals
      G03366946Courtesy of © TOYOTA, LICENSE AGREEMENT TMS1002
      1. Do not carry out unnecessary installation and removal as it might affect the adjustment of VSC related parts.
      2. Be sure to follow the instructions for work preparation and final confirmation of proper operation of the VSC system.
  10. FOR VEHICLES EQUIPPED WITH CATALYTIC CONVERTER 
    CAUTION: If a large amount of unburned gasoline or gasoline vapors flow into the converter, it may cause overheat and create a fire hazard. To prevent this, observe the following precautions.
    1. Use only unleaded gasoline.
    2. Avoid prolonged idling.

      Avoid idling the engine for more than 20 minutes.

    3. Avoid a spark jump test.
      1. Perform a spark jump test only when absolutely necessary. Perform this test as rapidly as possible.
      2. While testing, never race the engine.
    4. Avoid a prolonged engine compression measurement.

      Engine compression measurements must be performed as rapidly as possible.

    5. Do not run the engine when the fuel tank is nearly empty. This may cause the engine to misfire and create an extra load on the converter.