LEMON Manuals: Even more car manuals for everyone
Home >> Saturn >> 2009 >> Sky Base, Standard >> Repair and Diagnosis >> Accessories & Equipment >> Memory Modules >> Configurable Customer Control System >> Repair Instructions >> Steering Wheel Control Switch Assembly Replacement

Steering Wheel Control Switch Assembly Replacement

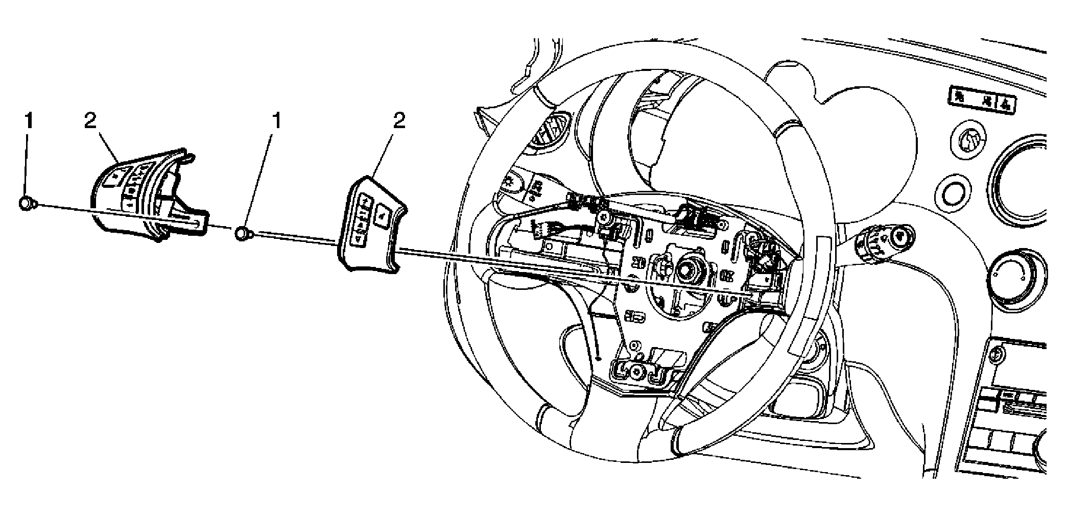
Fig 1: Identifying Steering Wheel Control Switch Assembly
GM1581898Courtesy of GENERAL MOTORS CORP.
Callout Component Name
Preliminary Procedure: 
Remove the inflatable restraint steering wheel module. Refer to Steering Wheel Inflatable Restraint Module Replacement .
1 Steering Wheel Control Assembly Screw
CAUTION: Refer to Fastener Caution .

Tighten:  2 N.m (18 lb in)

2 Steering Wheel Control Assembly