LEMON Manuals: Even more car manuals for everyone
Home >> Saturn >> 2008 >> Vue Red Line, AWD >> Repair and Diagnosis >> Quick Lookups >> Electrical Component Locations >> Wiring Systems And Power Management - Component Views & Component Connector End Views >> Component Connector End Views >> Trailer Relay Module (V92)

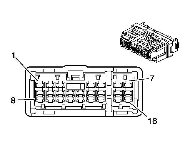
Trailer Relay Module (V92)

Fig 1: Trailer Relay Module (V92)
GM1962091Courtesy of GENERAL MOTORS CORP.
Trailer Relay Module (V92)

Pin Wire Circuit Function
1-4 - - Not Used
5 0.5 RD/WH 3140 Battery Positive Voltage
6-7 - - Not Used
8 0.5 RD/WH 3140 Battery Positive Voltage
9 0.5 RD/WH 3140 Battery Positive Voltage
10 0.35 YE 5187 Right Trailer Turn Signal Lamp
11 0.8 D-GN 1619 Trailer Right Rear Turn/Stop Lamp Supply Voltage
12 0.5 RD/WH 3140 Battery Positive Voltage
13 0.35 OG 5186 Left Trailer Turn Signal Lamp
14 0.8 YE 1618 Trailer Left Rear Turn/Stop Lamp Supply Voltage
15-16 - - Not Used
Connector Part Information 
  • OEM: 13598967
  • Service: See Catalog
  • Description: 16-Way F CONN ()
Terminal Part Information 
  • Pins: 5, 8-14
  • Terminal/Tray: See Terminal Repair Kit
  • Core/Insulation Crimp: See Terminal Repair Kit
  • Release Tool/Test Probe: See Terminal Repair Kit