LEMON Manuals: Even more car manuals for everyone
Home >> Saturn >> 2008 >> Vue Red Line, AWD >> Repair and Diagnosis >> Quick Lookups >> Electrical Component Locations >> Wiring Systems And Power Management - Component Views & Component Connector End Views >> Component Connector End Views >> Radio Antenna

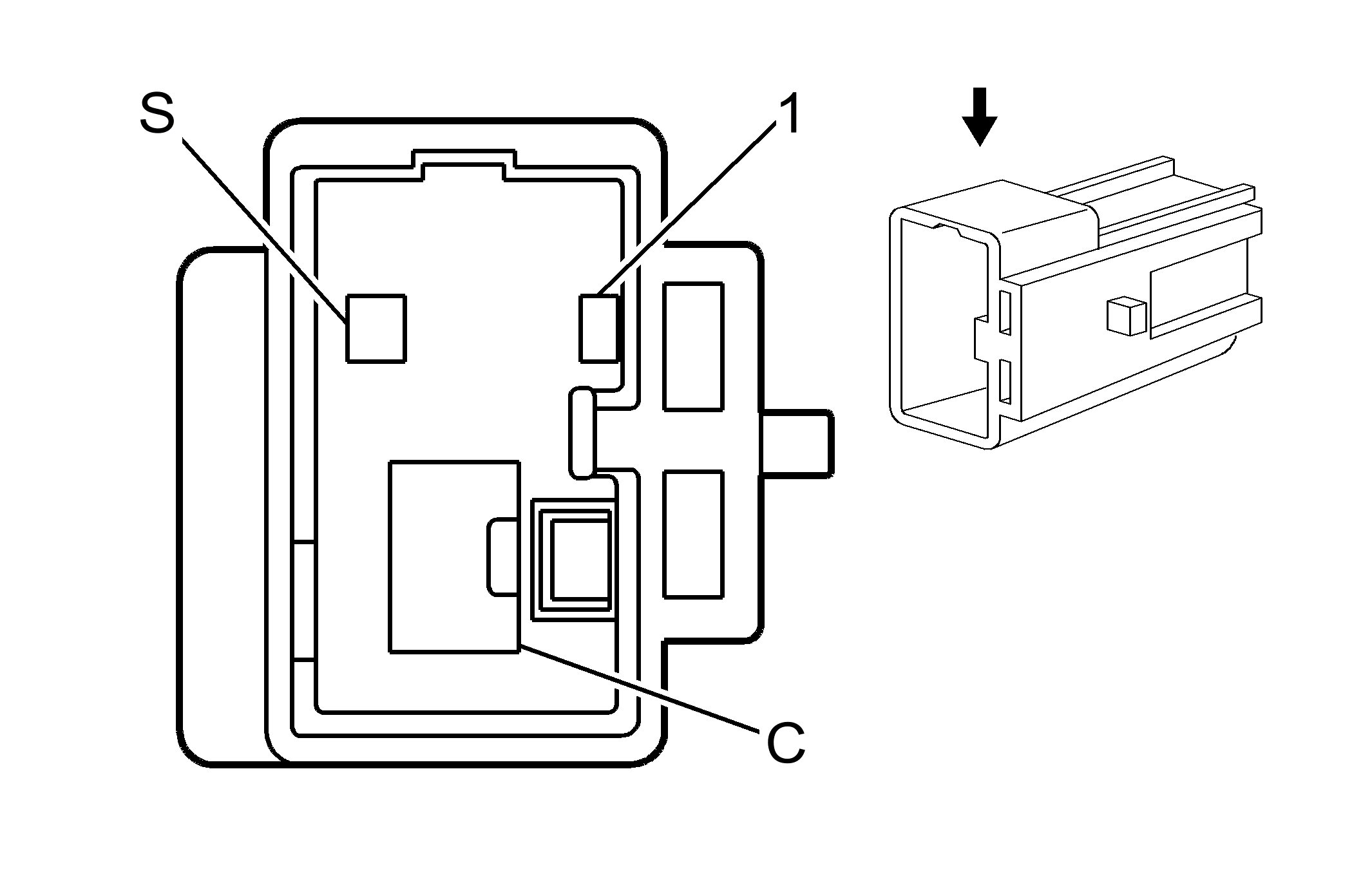
Radio Antenna

Fig 1: Radio Antenna
GM1850607Courtesy of GENERAL MOTORS CORP.
Radio Antenna

Pin Wire Circuit Function
1 0.35 RD 7066 Entertainment Remote Enable Signal
C - - Coax
S - - Not Used
Connector Part Information 
  • OEM: GT13GM-1/1S-HU
  • Service: See Catalog
  • Description: 3-Way M GT13 Coaxial Series (WH)
Terminal Part Information 
  • Terminal/Tray: See Terminal Repair Kit
  • Core/Insulation Crimp: See Terminal Repair Kit
  • Release Tool/Test Probe: See Terminal Repair Kit