LEMON Manuals: Even more car manuals for everyone
Home >> Saturn >> 2008 >> Vue Red Line, AWD >> Repair and Diagnosis >> Quick Lookups >> Electrical Component Locations >> Wiring Systems And Power Management - Component Views & Component Connector End Views >> Component Connector End Views >> Inside Rearview Mirror

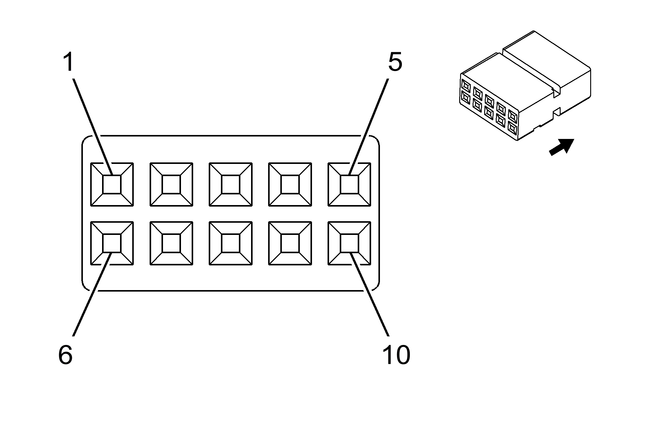
Inside Rearview Mirror

Fig 1: Inside Rearview Mirror
GM1962079Courtesy of GENERAL MOTORS CORP.
Inside Rearview Mirror

Pin Wire Circuit Function
1 0.35 BK 650 Ground
2-7 - - Not Used
8 0.35 PK 239 Ignition 1 Voltage
9 - - Not Used
10 0.35 L-GN 24 Backup Lamp Supply Voltage
Connector Part Information 
  • OEM: 15327252
  • Service: See Catalog
  • Description: 10-Way F 0.64 MQS (BK)
Terminal Part Information 
  • Terminal/Tray: 928999-5/15
  • Core/Insulation Crimp: H/H
  • Release Tool/Test Probe: 12094429/J-35616-64B (L-BU)