LEMON Manuals: Even more car manuals for everyone
Home >> Saturn >> 2008 >> Sky Base, Standard >> Repair and Diagnosis >> Quick Lookups >> Electrical Component Locations >> Wiring Systems And Power Management - Component Views & Component Connector End Views >> Door Component Views

Door Component Views

Fig 1: Driver Door Components
GM1883671Courtesy of GENERAL MOTORS CORP.
Callout Component Name
1 Outside Rearview Mirror - Driver
2 Door Lock Switch - Driver
3 Speaker - Left Front Door
4 Outside Rearview Mirror - Driver
5 Window Switch - Driver
6 Door Lock Actuator - Driver
Fig 2: Driver Door Components (Panel Removed)
GM1876040Courtesy of GENERAL MOTORS CORP.
Callout Component Name
1 Outside Rearview Mirror - Driver
2 Door Lock Switch - Driver
3 Outside Rearview Mirror Switch
4 Speaker - Driver Door
5 Window Switch - Driver
6 Door Lock Actuator - Driver
7 X501
8 X500
9 Window Motor - Driver
Fig 3: Driver Door (Solstice)
GM1583482Courtesy of GENERAL MOTORS CORP.
Callout Component Name
1 Outside Rearview Mirror Switch
2 Outside Rearview Mirror - Driver
3 Outside Rearview Mirror Connector - Driver
4 X501
5 X500
6 J501
7 Speaker Connector - Left Front Door
8 J500
9 Window Motor - Driver
10 Window Switch - Driver
11 Door Lock Actuator - Driver
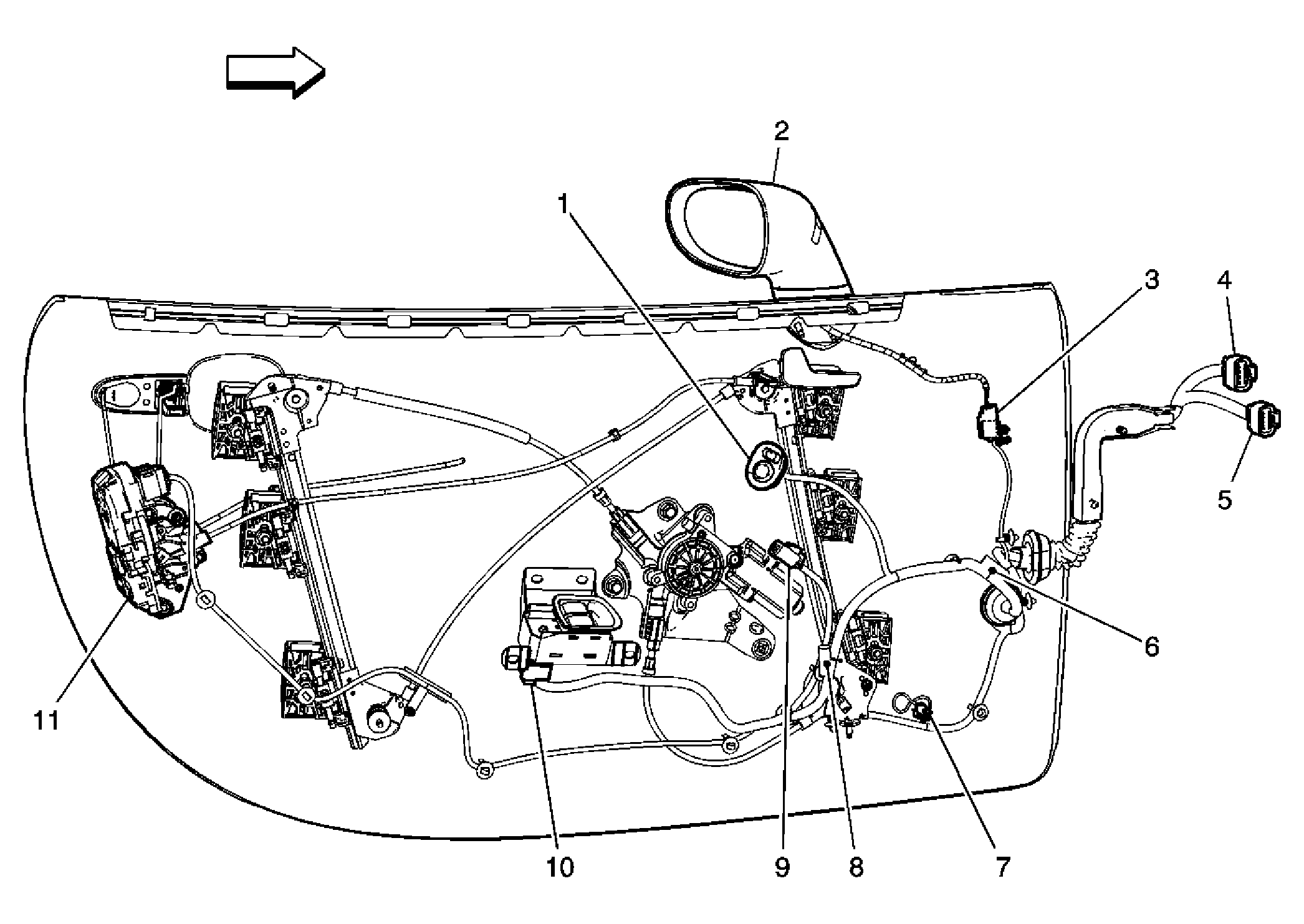
Fig 4: Driver Door Components (Sky)
GM1852011Courtesy of GENERAL MOTORS CORP.
Callout Component Name
1 Outside Rearview Mirror - Driver (D48)
2 Outside Rearview Mirror Connector (D48)
3 X501
4 X500
5 J500
6 J501
7 Window Motor - Driver
8 X505
9 Door Lock Actuator - Driver
Fig 5: Passenger Door Components
GM1883673Courtesy of GENERAL MOTORS CORP.
Callout Component Name
1 Outside Rearview Mirror - Passenger
2 Door Lock Actuator - Passenger
3 Window Switch - Passenger
4 Speaker - Right Front Door
5 Door Lock Switch - Passenger
Fig 6: Passenger Door Components (Panel Removed)
GM1851994Courtesy of GENERAL MOTORS CORP.
Callout Component Name
1 Outside Rearview Mirror - Passenger (D48)
2 Door Lock Actuator - Passenger
3 Door Lock Switch - Passenger
4 Window Motor - Passenger
5 J600
6 Outside Rearview Mirror Connector (D48)
7 X600