LEMON Manuals: Even more car manuals for everyone
Home >> Saturn >> 2008 >> Sky Base, Standard >> Repair and Diagnosis >> Quick Lookups >> Electrical Component Locations >> Wiring Systems And Power Management - Component Views & Component Connector End Views >> Component Connector End Views >> Rear Compartment Lid Ajar Switch

Rear Compartment Lid Ajar Switch

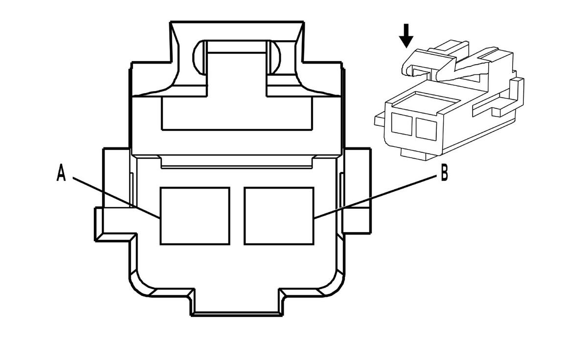
Fig 1: Rear Compartment Lid Ajar Switch Connector End View
GM1542255Courtesy of GENERAL MOTORS CORP.
Rear Compartment Lid Ajar Switch

Pin Wire Circuit Function
A 0.35 OG/BK 744 Rear Compartment Lid Ajar Switch Signal
B 0.5 BK 850 Ground
Connector Part Information 
  • OEM: 12129082
  • Service: 15305896
  • Description: 2-Way F Metri-Pack 280 Series, Flexlock (GY)
Terminal Part Information 
  • Pins: A, B
  • Terminal/Tray: 12110844/4
  • Core/Insulation Crimp: Pins: E/C
  • Core/Insulation Crimp: Pins: E/A
  • Release Tool/Test Probe: 15315247/J-35616-4A (PU)