LEMON Manuals: Even more car manuals for everyone
Home >> Saturn >> 2008 >> Sky Base, Standard >> Repair and Diagnosis >> Quick Lookups >> Electrical Component Locations >> Wiring Systems And Power Management - Component Views & Component Connector End Views >> Component Connector End Views >> License Lamp

License Lamp

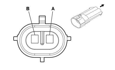
Fig 1: License Lamp Connector End View
GM333041Courtesy of GENERAL MOTORS CORP.
License Lamp

Pin Wire Circuit Function
A 0.5 BN 9 Tail/License Lamps Supply Voltage
B 0.5 BK 750 Ground
Connector Part Information 
  • OEM: 12162000
  • Service: 12167120
  • Description: 2-Way M Metri-Pack 280 Series, Sealed (BK)
Terminal Part Information 
  • Terminal: See Terminal Repair Kit
  • Core/Insulation Crimp: See Terminal Repair Kit
  • Release Tool/Test Probe: See Terminal Repair Kit