LEMON Manuals: Even more car manuals for everyone
Home >> Saturn >> 2008 >> Sky Base, Standard >> Repair and Diagnosis >> Quick Lookups >> Electrical Component Locations >> Wiring Systems And Power Management - Component Views & Component Connector End Views >> Component Connector End Views >> Inflatable Restraint Front End Sensor - Right

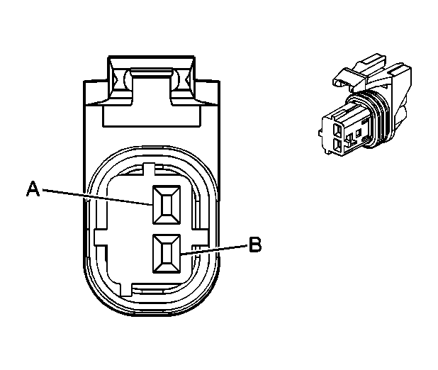
Inflatable Restraint Front End Sensor - Right

Fig 1: Inflatable Restraint Front End Sensor - Right Connector End View
GM744055Courtesy of GENERAL MOTORS CORP.
Inflatable Restraint Front End Sensor - Right

Pin Wire Circuit Function
A 0.5 GY 5600 Low Reference
B 0.5 YE/BK 2160 Front End Discriminating Sensor Signal
Connector Part Information 
  • OEM: 15356722
  • Service: 15306405
  • Description: 2-Way F GT 150 Series Sealed 4.0 (YE)
Terminal Part Information 
  • Terminal/Tray: Serviced w/Pigtail
  • Core/Insulation Crimp: N/A
  • Release Tool/Test Probe: 15315247/J-35616-2A (GY)