LEMON Manuals: Even more car manuals for everyone
Home >> Saturn >> 2008 >> Sky Base, Standard >> Repair and Diagnosis >> Quick Lookups >> Electrical Component Locations >> Wiring Systems And Power Management - Component Views & Component Connector End Views >> Component Connector End Views >> Engine Cooling Fan (LE5)

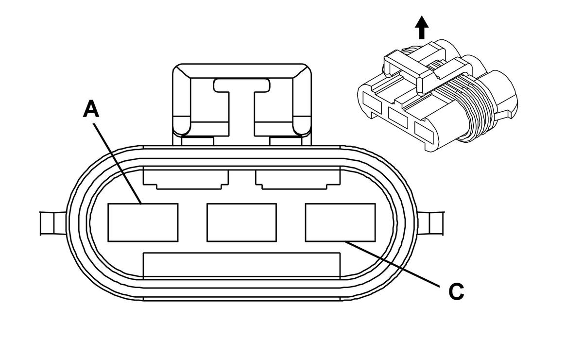
Engine Cooling Fan (LE5)

Fig 1: Engine Cooling Fan (LE5) Connector End View
GM668832Courtesy of GENERAL MOTORS CORP.
Engine Cooling Fan (LE5)

Pin Wire Circuit Function
A 3.0 BK 250 Ground
B 3.0 L-BU 409 Cooling Fan Motor Supply Voltage
C 3.0 GY 532 Cooling Fan Motor Supply Voltage
Connector Part Information 
  • OEM: 12124685
  • Service: 12116243
  • Description: 3-Way F Metri-Pack 630 Series, Sealed (BK)
Terminal Part Information 
  • Terminal: 15305232/23
  • Core/Insulation Crimp: F/3
  • Release Tool/Test Probe: J-38125-11A/J-35616-42 (RD)