LEMON Manuals: Even more car manuals for everyone
Home >> Saturn >> 2008 >> Sky Base, Standard >> Repair and Diagnosis >> Quick Lookups >> Electrical Component Locations >> Wiring Systems And Power Management - Component Views & Component Connector End Views >> Component Connector End Views >> Backup Lamp Switch (MA5)

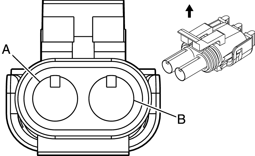
Backup Lamp Switch (MA5)

Fig 1: Backup Lamp Switch (MA5) Connector End View
GM516604Courtesy of GENERAL MOTORS CORP.
Backup Lamp Switch (MA5)

Pin Wire Circuit Function
A 0.8 PK 539 Ignition 1 Voltage
B 0.8 L-GN 24 Backup Lamp Supply Voltage
Connector Part Information 
  • OEM: 12103584
  • Service: 12085485
  • Description: 2-Way M Weather Pack (BK)
Terminal Part Information 
  • Terminal/Tray: 12089040/3
  • Core/Insulation Crimp: See Terminal Repair Kit
  • Release Tool/Test Probe: 12014012-1/J-35616-9 (OG)