LEMON Manuals: Even more car manuals for everyone
Home >> Saturn >> 2007 >> Vue Red Line, AWD >> Repair and Diagnosis >> External Pages >> Different car >> Section 589 (Cellular System, Entertainment System, And Navigation System) >> Component Locator >> Entertainment/Communication Component Views

Entertainment/Communication Component Views

WARNING: This page is about a different car, the 2007 Chevrolet Malibu. However, it is still accessible from the selected car via links, so may be relevant.
Fig 1: Front of Vehicle
GM1719241Courtesy of GENERAL MOTORS CORP.
Callout Component Name
1 Headlamp - Low Beam - Right
2 Headlamp - High Beam - Right
3 Cellular/Navigation and Digital Radio Antenna (UE1/U2K)
4 Headlamp - High Beam - Left
5 Headlamp - Low Beam - Left
6 Park/Turn Signal Lamp - LF
7 Fog Lamp - LF (T96)
8 Fog Lamp - RF (T96)
9 Park/Turn Signal Lamp - RF
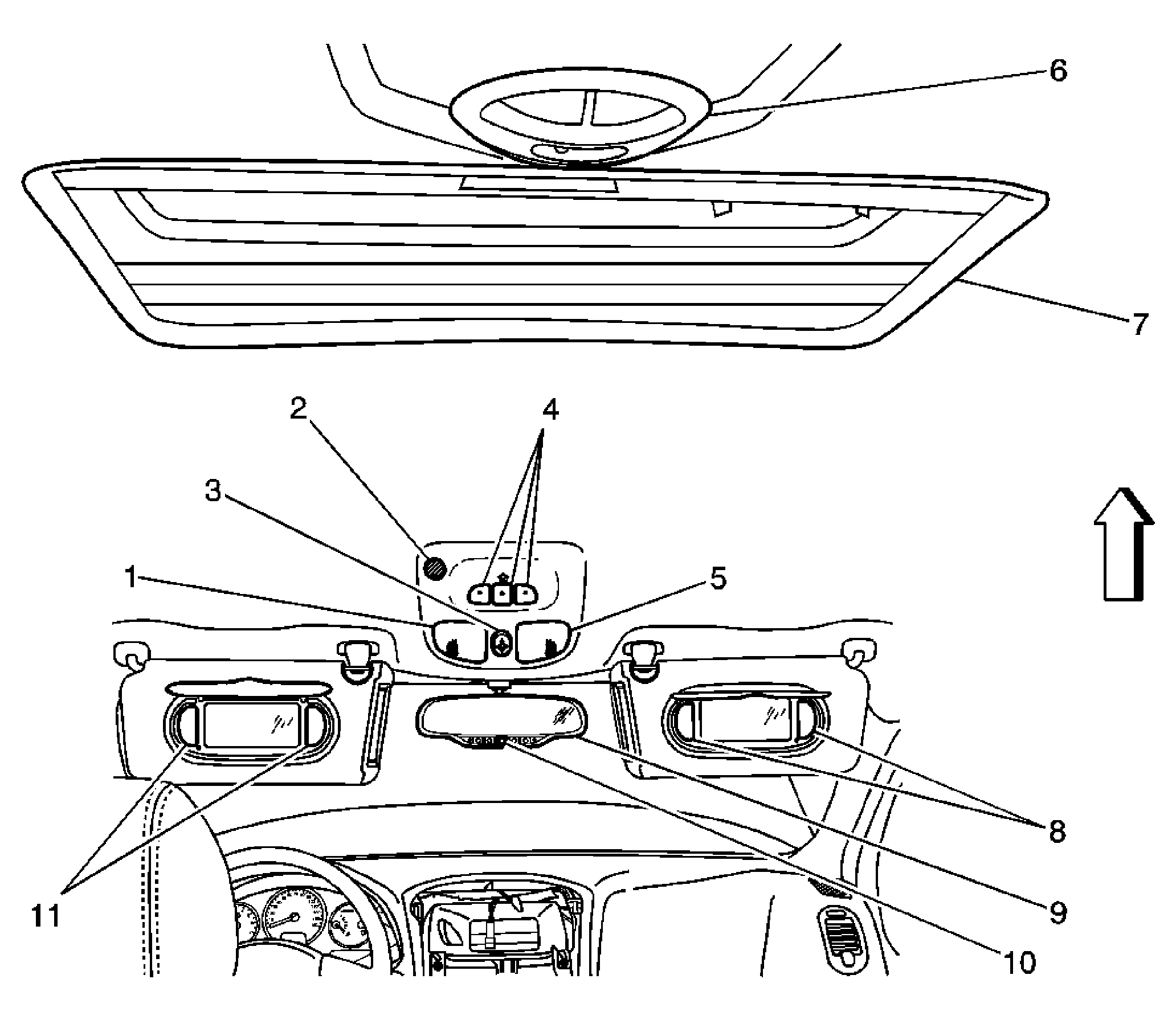
Fig 2: Forward Overhead View Component Views
GM1394517Courtesy of GENERAL MOTORS CORP.
Callout Component Name
1 Courtesy/Reading Lamps - Front, Left Reading
2 Cellular Telephone Microphone (UE1)
3 Sunroof Switch (CF5)
4 Garage Door Opener Transmitter (UG1)
5 Courtesy/Reading Lamps - Front, Right Reading
6 Dome/Reading Lamp
7 Sunroof (CF5)
8 Vanity Mirror Lamp - Right (DH6)
9 Inside Rearview Mirror
10 OnStar Keypad (UE1)
11 Vanity Mirror Lamp - Left (DH6/D74)
Fig 3: Instrument Panel
GM1511329Courtesy of GENERAL MOTORS CORP.
Callout Component Name
1 Turn Signal/Multifunction Switch
2 Steering Wheel Controls - Left (K34/UK3)
3 Instrument Panel Cluster (IPC)
4 Steering Wheel Controls - Right (K34/UK3)
5 Windshield Washer/Wiper Switch
6 Ignition Switch
7 Hazard Switch
8 Ambient Light Sensor
9 Radio
10 HVAC Control Module
11 Inflatable Restraint I/P Module
12 Rear Wiper/Washer Switch (C25)
13 Auxiliary Power Outlet - Front (w/o NW7, NW9)
14 Transmission Shifter
15 Cigar Lighter
16 Horn Buttons/Inflatable Restraint Steering Wheel Module
17 Data Link Connector (DLC)
18 Fog Lamp Switch
19 Dimmer Switch
20 Adjustable Pedals Position Switch (JF4)
Fig 4: Behind Right Side of Instrument Panel Compartment Component Views
GM1394532Courtesy of GENERAL MOTORS CORP.
Callout Component Name
1 Vehicle Communication Interface Module (VCIM)(UE1)
Fig 5: Left Front Door Component Views
GM1394475Courtesy of GENERAL MOTORS CORP.
Callout Component Name
1 Door Lock Switch - Driver
2 Outside Rearview Mirror - Driver
3 Outside Rearview Mirror - Switch
4 Speaker - LF Door Tweeter (UZ6)
5 Window Switch - Driver
6 Speaker - LF Door
7 Rear Compartment/Liftgate Release Switch
8 Window Motor - Driver
9 Door Latch Assembly - Driver
Fig 6: Rear of Center Console (UK6, U32) Component Views
GM1406116Courtesy of GENERAL MOTORS CORP.
Callout Component Name
1 Video Screen (U32)
2 DVD Player (U32) (Rear Seat Audio (RSA) Controller (UK6))
Fig 7: Right Front Door Component Views
GM1394481Courtesy of GENERAL MOTORS CORP.
Callout Component Name
1 Speaker - RF Door Tweeter (UZ6)
2 Outside Rearview Mirror - Front Passenger
3 Door Lock Switch - Passenger
4 Window Switch - Passenger
5 Door Latch Assembly - Passenger
6 Window Motor - Passenger
7 Speaker - RF Door
Fig 8: Left Rear Door Component Views
GM1394486Courtesy of GENERAL MOTORS CORP.
Callout Component Name
1 Window Switch - LR
2 Speaker - LR Door (Extended Sedan)
3 Window Motor - LR
4 Door Latch Assembly - LR
Fig 9: Right Rear Door Component Views
GM1394490Courtesy of GENERAL MOTORS CORP.
Callout Component Name
1 Door Latch Assembly - RR
2 Window Motor - RR
3 Speaker - RR Door (Extended Sedan)
4 Window Switch - RR
Fig 10: Rear Roof Rail Antenna - Sedan
GM1266701Courtesy of GENERAL MOTORS CORP.
Callout Component Name
1 Radio Antenna Amplifier Module
2 Radio Rear Window Antenna
Fig 11: Rear Speakers (Sedan)
GM1266702Courtesy of GENERAL MOTORS CORP.
Callout Component Name
1 Speaker - RR
2 Speaker - LR
Fig 12: Right Side of Rear Compartment (Sedan) Component Views
GM1266719Courtesy of GENERAL MOTORS CORP.
Callout Component Name
1 Digital Radio Receiver
Fig 13: Right Rear of Passenger Compartment Component Views - Extended Sedan
GM1263949Courtesy of GENERAL MOTORS CORP.
Callout Component Name
1 G301
2 Inflatable Restraint Side Impact Module - Right (AY0)
3 C701
4 Digital Radio Receiver (U2K)
Fig 14: Rear of Vehicle Component Views - Extended Sedan
GM1394516Courtesy of GENERAL MOTORS CORP.
Callout Component Name
1 Tail/Stop and Turn Signal Lamp - Left
2 Tail Lamp - Left
3 Center High Mounted Stop Lamp (CHMSL)
4 Liftgate Release Switch
5 Antenna - Radio
6 Tail Lamp - Right
7 Tail/Stop and Turn Signal Lamp - Right
8 Backup Lamp - Right
9 License Lamp
10 Backup Lamp - Left