LEMON Manuals: Even more car manuals for everyone
Home >> Saturn >> 2007 >> Ion Red Line >> Repair and Diagnosis (Single Page) >> Engine Mechanical >> Cooling System (Mechanical) >> Engine Cooling System >> Component Locator >> Cooling System Component Views

Cooling System Component Views

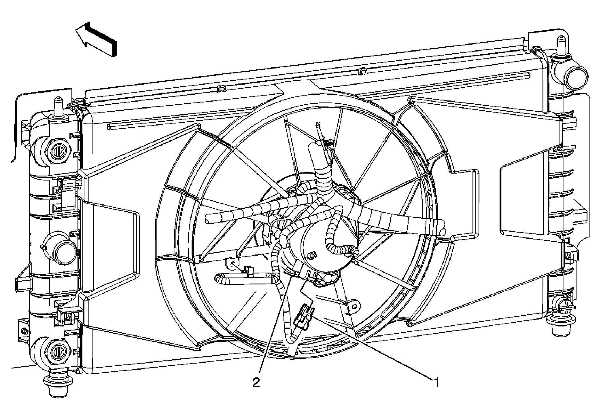
Fig 1: Front Of Engine Compartment Component View (2.2L)
GM1402788Courtesy of GENERAL MOTORS CORP.
Callout Component Name
1 Cooling Fan Connector
2 Cooling Fan
Fig 2: Front Of Engine Compartment Component View (2.0L)
GM1402791Courtesy of GENERAL MOTORS CORP.
Callout Component Name
1 Cooling Fan 1 Connector
2 Cooling Fan 1
3 Cooling Fan S/P Relay
4 Cooling Fan 2
5 Cooling Fan 2 Relay
6 Cooling Fan 2 Connector
Fig 3: Front of Engine Compartment View
GM1614946Courtesy of GENERAL MOTORS CORP.
Callout Component Name
1 A/C Compressor
2 A/C Refrigerant Pressure Sensor
3 Cooling Fan Resistor
4 Cooling Fan 2 Relay
5 Cooling Fan Connector
6 Engine Harness
Fig 4: LR Of Engine Compartment Component View
GM1402792Courtesy of GENERAL MOTORS CORP.
Callout Component Name
1 Radiator Surge Tank
2 Coolant Level Switch Connector