LEMON Manuals: Even more car manuals for everyone
Home >> Saturn >> 2007 >> Ion Red Line >> Repair and Diagnosis (Single Page) >> Electrical >> Wiring Diagrams >> OEM Connector End Views >> SIR Connector End Views >> Inflatable Restraint Front Passenger Presence System (PPS) Module Connector End View C1

Inflatable Restraint Front Passenger Presence System (PPS) Module Connector End View C1

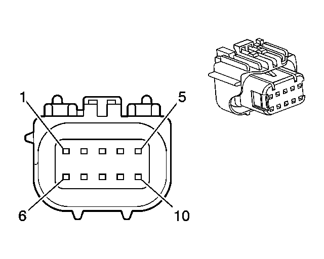
Fig 1: Inflatable Restraint Front Passenger Presence System (PPS) Module C1 Connector End View
GM1590076Courtesy of GENERAL MOTORS CORP.
Inflatable Restraint Front Passenger Presence System (PPS) Module C1 Connector & Terminal Parts Information

Connector Part Information 
  • OEM: 15456260
  • Service: See Catalog
  • Description: 10-Way F Type 3 Socket Housing Sealed (BK)
Terminal Part Information 
  • Terminal/Tray: Service with Terminated Lead
  • Core/Insulation Crimp: N/A
  • Release Tool/Test Probe: See Terminal Repair Kit
Inflatable Restraint Front Passenger Presence System (PPS) Module C1 Terminal Identification

Pin Wire Color Circuit No. Function
1 OG 2540 Battery Positive Voltage
2 PK 539 Ignition 1 Voltage
3 D-BU 2307 Passenger Air Bag ON Indicator Control
4 D-GN 2038 Passenger Air Bag OFF Indicator Control
5 PK 2306 Passenger Presence System Signal
6 BK/WH 651 Ground
7-9 - - Not Used
10 OG 1540 Not Used