LEMON Manuals: Even more car manuals for everyone
Home >> Saturn >> 2007 >> Ion Red Line >> Repair and Diagnosis (Single Page) >> Accessories & Equipment >> Headlights >> Lighting System >> Component Locator >> Lighting Systems Component Views

Lighting Systems Component Views

Fig 1: Top Of I/P Component View
GM897561Courtesy of GENERAL MOTORS CORP.
Callout Component Name
1 Ambient Light Sensor (T82)
Fig 2: Center Console Of Vehicle (M43 or M75) Component View
GM897547Courtesy of GENERAL MOTORS CORP.
Callout Component Name
1 A/T Shift Lock Control Solenoid
2 Ignition Lock Cylinder Control Switch
3 A/T Shift Indicator Lamp
4 C351
Fig 3: Driver Door Component View
GM1538473Courtesy of GENERAL MOTORS CORP.
Callout Component Name
1 Driver Outside Rearview Mirror
2 LF Door Tweeter Speaker (UZ6)
3 Driver Door Jamb Switch
4 Instrument Panel (I/P) Dimmer Switch
5 Fog Lamp Switch (T37)
6 Rear Compartment Lid Release Switch
7 LF Door Speaker
8 Outside Rearview Mirror Switch (DG7)
9 Window Switch - Driver (A31)
10 Door Lock Switch - Driver (AU3)
Fig 4: Front Passenger Door Component View
GM1538474Courtesy of GENERAL MOTORS CORP.
Callout Component Name
1 Radio
2 Passenger Door Jamb Switch
3 RF Door Tweeter Speaker (UZ6)
4 Radio Antenna
5 Passenger Outside Rearview Mirror
6 Front Passenger Door Lock Switch (AU3)
7 Front Passenger Window Switch (A31)
8 RF Door Speaker
Fig 5: Luggage Compartment Component View
GM1538475Courtesy of GENERAL MOTORS CORP.
Callout Component Name
1 LR Speaker
2 Audio Amplifier (UZ6)
3 Rear Compartment Courtesy Lamp
4 RR Speaker
Fig 6: Headliner Component View
GM1538477Courtesy of GENERAL MOTORS CORP.
Callout Component Name
1 Courtesy/Reading Lamp (C74)
2 Sunroof Switch (CF5)
3 Sunroof (CF5)
4 Dome Lamp
Fig 7: Rear Of Passenger Compartment Component View
GM1538491Courtesy of GENERAL MOTORS CORP.
Callout Component Name
1 Dome Lamp
2 Center High Mounted Stop Lamp (CHMSL)
3 Rear Window Defogger Grid
Fig 8: Left Rear End Of Vehicle Component View
GM897595Courtesy of GENERAL MOTORS CORP.
Callout Component Name
1 Tail/Turn Signal Lamp - Left
2 Tail/Stop Lamp - Left
3 Backup Lamp - Left
Fig 9: Right Rear End Of Vehicle Component View
GM897588Courtesy of GENERAL MOTORS CORP.
Callout Component Name
1 Tail/Turn Signal Lamp - Right
2 Tail/Stop Lamp - Right
3 Backup Lamp - Right
Fig 10: Right Rear Door Jamb Switch In B-Pillar Component View - Sedan
GM897782Courtesy of GENERAL MOTORS CORP.
Callout Component Name
1 Door Jamb Switch - RR, LR Similar
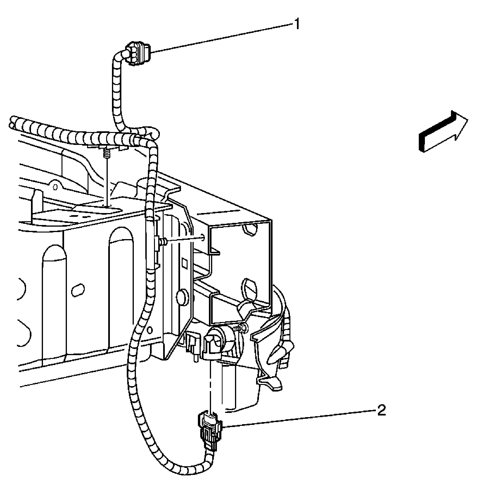
Fig 11: Left Front Side Of Vehicle Component View
GM897835Courtesy of GENERAL MOTORS CORP.
Callout Component Name
1 Windshield Washer Fluid Pump
2 Horn
3 Fog Lamp - LF
Fig 12: Right Front Of Vehicle (T37) Component View
GM897608Courtesy of GENERAL MOTORS CORP.
Callout Component Name
1 C110
2 Fog Lamp RF
Fig 13: Instrument Panel Component Views
GM1538303Courtesy of GENERAL MOTORS CORP.
Callout Component Name
1 Turn Signal/Multifunction Switch
2 Windshield Wiper/Washer Switch
3 Hazard Switch
4 Instrument Panel Cluster (IPC)
5 Traction Control Switch (NW7)
6 Radio
7 A/T Shifter (MN5)
8 HVAC Control Assembly
9 Steering Wheel Controls - Right (K34)
10 Steering Wheel Controls - Left (K34)
11 Rear Compartment Lid Release Switch
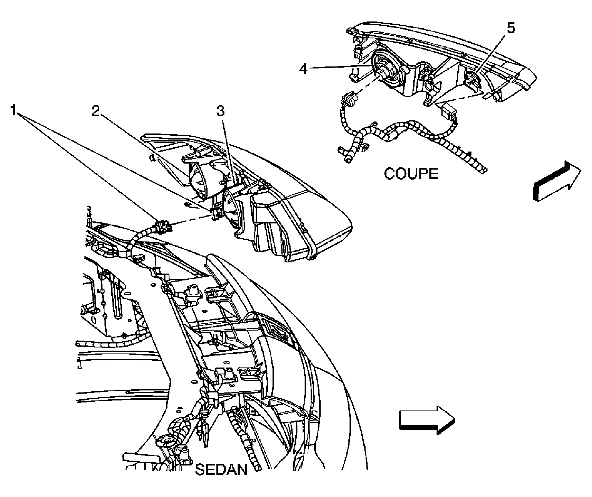
Fig 14: Left Front Of Vehicle Component View
GM897864Courtesy of GENERAL MOTORS CORP.
Callout Component Name
1 C111 (Sedan), C110 Similar on Right
2 Park/Turn Signal Lamp - LF (Sedan), RF Similar
3 Headlamp - Left (Sedan), Right Similar
4 Headlamp - Left (Coupe), Right Similar
5 Park/Turn Signal Lamp - LF (Coupe), RF Similar
Fig 15: Left Side Of I/P, Under Tie Bar (T82) Component View
GM1547344Courtesy of GENERAL MOTORS CORP.
Callout Component Name
1 I/P Tie Bar
2 Data Link Connector (DLC)
3 Headlamp Relay
Fig 16: Vehicle Rear Gate Component View
GM897671Courtesy of GENERAL MOTORS CORP.
Callout Component Name
1 Rear Component Lid Latch
2 License Lamp
3 C401
Fig 17: Left Front Side Of Vehicle Component View (Coupe)
GM897937Courtesy of GENERAL MOTORS CORP.
Callout Component Name
1 Marker Lamp - LF, RF Similar
Fig 18: Lower Left Front Of I/P Component View
GM898038Courtesy of GENERAL MOTORS CORP.
Callout Component Name
1 Stop Lamp Switch - Upper
2 Stop Lamp Switch - Lower
Fig 19: Rear Of Engine Component View (2.2L)
GM897816Courtesy of GENERAL MOTORS CORP.
Callout Component Name
1 Backup Lamp Switch (M86)
2 Engine Coolant Tempareture Sensor (ECT)
3 Heated Oxygen Sensor (HO2S)1
4 Heated Oxygen Sensor (HO2S)2 Connector
Fig 20: Top Of Transmission (MU3) Component View
GM1540077Courtesy of GENERAL MOTORS CORP.
Callout Component Name
1 Backup Lamp Switch