LEMON Manuals: Even more car manuals for everyone
Home >> Saturn >> 2005 >> Relay AWD >> Repair and Diagnosis (Single Page) >> Quick Lookups >> Wiring Diagrams >> OEM Connector End Views >> SIR Connector End Views >> Inflatable Restraint I/P Module Connector End View C1

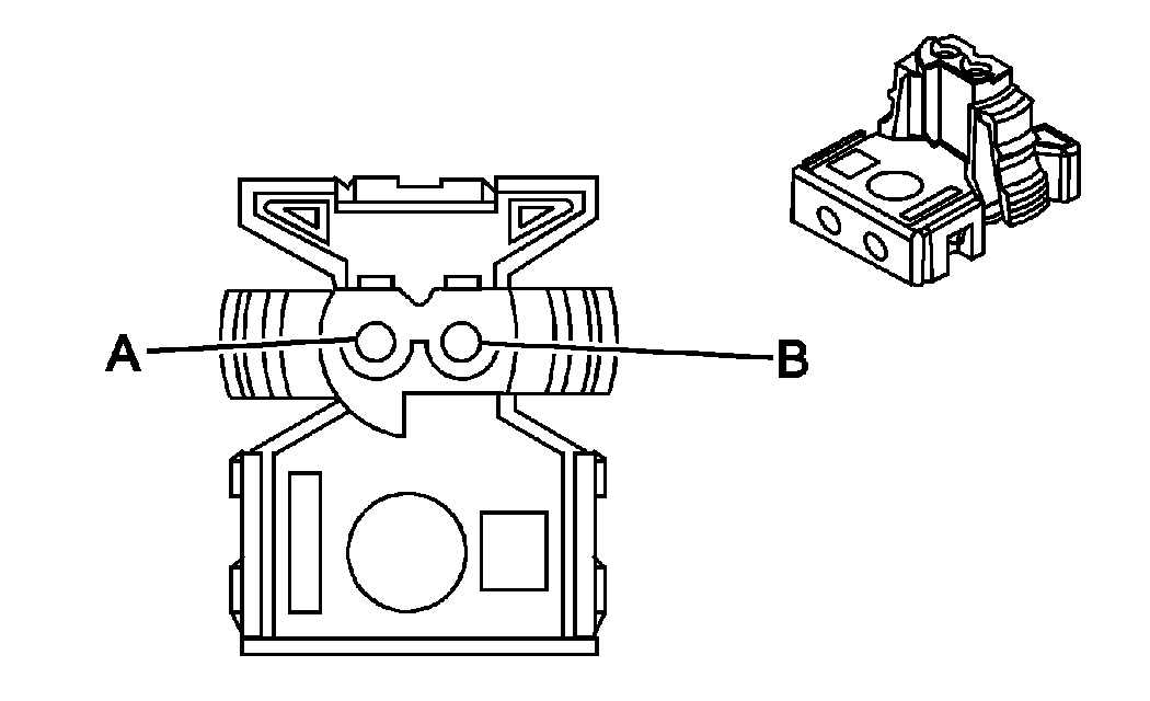
Inflatable Restraint I/P Module Connector End View C1

Fig 1: Inflatable Restraint I/P Module C1 Connector End View
GM966373Courtesy of GENERAL MOTORS CORP.
SIR Connector End Views

Connector Part Information 
  • OEM: 54550267
  • Service: See Catalog
  • Description: 2-Way F ABX-3 Code B (WH)
Terminal Part Information 
  • Terminal: Not Serviced in Kit
  • Core/Insulation Crimp: N/A
  • Release Tool/Test Probe: N/A
Inflatable Restraint I/P Module C1

Pin Wire Color Circuit No. Function
A YE 3025 I/P Module Stage 1 - High Control
B OG 3024 I/P Module Stage 1 - Low Control