LEMON Manuals: Even more car manuals for everyone
Home >> Saturn >> 2005 >> Relay AWD >> Repair and Diagnosis (Single Page) >> Quick Lookups >> Wiring Diagrams >> OEM Connector End Views >> Computer/Integrating Systems Connector End Views >> Body Control Module (BCM) Connector End View C3

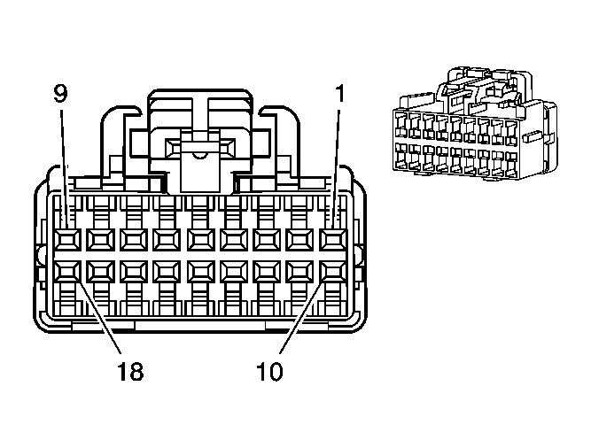
Body Control Module (BCM) Connector End View C3

Fig 1: Identifying Body Control Module (BCM) C3 Connector End View
GM1243603Courtesy of GENERAL MOTORS CORP.
Computer/Integrating Systems Connector End Views

Connector Part Information 
  • OEM: 15383281
  • Service: See Catalog
  • Description: 18-Way F AMP Unsealed (BK)
Terminal Part Information 
  • Terminal: 638551-1/Tray 16
  • Core/Insulation Crimp: J/J
  • Release Tool/Test Probe: 15315247/J-35616-64A
Body Control Module (BCM) C3

Pin Wire Color Circuit No. Function
1-3 - - Not Used
4 L-BU/WH 1414 Left Turn Signal Switch Signal
5 L-BU 1714 Windshield Wiper Switch Low Signal
6 L-GN 696 Cruise Control Cancel Signal (K34)
7 WH 103 Headlamp Switch Headlamps On Signal
8 BN/WH 301 Park Lamp Switch On Signal
9 - - Not Used
10 L-BU 1872 Headlamp Switch Headlamps Off Signal
11 - - Not Used
12 PU 524 Headlamp Dimmer Switch High Beam Signal
13 PK 94 Windshield Washer Switch Signal
14 BN 1356 Flash To Pass Switch Signal
15 BK/WH 1251 Ground
16 TN 2144 Hazard Switch Signal
17 D-BU/WH 1415 Right Turn Signal Switch Signal
18 L-GN 1715 Windshield Wiper Switch High Signal