LEMON Manuals: Even more car manuals for everyone
Home >> Saturn >> 2005 >> Relay AWD >> Repair and Diagnosis (Single Page) >> Quick Lookups >> Wiring Diagrams >> OEM Connector End Views >> Computer/Integrating Systems Connector End Views >> Body Control Module (BCM) Connector End View C1

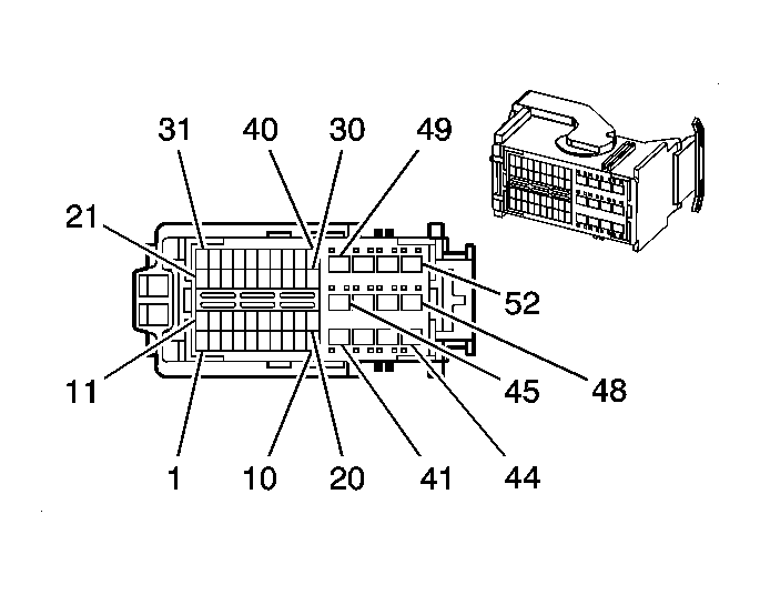
Body Control Module (BCM) Connector End View C1

Fig 1: Identifying Body Control Module (BCM) C1 Connector End View
GM1243543Courtesy of GENERAL MOTORS CORP.
Computer/Integrating Systems Connector End Views

Connector Part Information 
  • OEM: 15448125
  • Service: Not Serviced
  • Description: 52-Way F AMP Hybrid (BK)
Terminal Part Information 
  • Pins: 1-40
  • Terminal: 638551-1/Tray 16
  • Core/Insulation Crimp: Pins 1-16, 21-31, 34-38, 40: J/J
  • Core/Insulation Crimp: Pins 17-20, 33, 39: K/K
  • Release Tool/Test Probe: 15315247/J-35616-64A
  • Pins: 41-52
  • Terminal: 1326030-6/Tray 17
  • Core/Insulation Crimp: Pins 41, 42, 47: E/2
  • Core/Insulation Crimp: Pins 43-46, 48-52: E/C
  • Release Tool/Test Probe: 12094429/J-35616-4A
Body Control Module (BCM) C1

Pin Wire Color Circuit No. Function
1 TN 860 Front Windshield Wiper Switch High Signal
2 WH 1459 Security System Sensor Supply Voltage
3 PK 1439 Ignition 1 Voltage
4 TN 28 Horn Relay Control
5 OG 300 Run Relay Control
6 TN 707 RAP Relay Coil Control
7 TN/WH 1969 Headlamp High Beam Relay Control
8 - - Not Used
9 PK/WH 1970 Headlamp Low Beam Relay Control
10 WH 1080 Park Lamp Relay Control
11 YE 749 Security Indicator Control
12 GY 91 Windshield Wiper Switch Signal 2
13 YE 196 Windshield Wiper Motor Park Switch Signal
14 TN 1835 Low Reference
15 L-GN/BK 1137 DRL Ambient Light Sensor Signal
16 YE 5066 Brake Pedal Position Sensor Signal
17 BK/WH 1651 Ground
18 - - Not Used
19 BK/WH 151 Ground
20 BK/WH 1651 Ground
21 YE 5 Crank Voltage
22 PK 1239 Ignition 1 Voltage
23 BN 1141 Ignition 3 Voltage
24 - - Not Used
25 WH/BK 644 12-Volt Reference
26 PK/BK 109 Hood Ajar Switch Signal
27 OG 5688 10-Volt Reference
28 GY/BK 5689 Low Reference
29 BN/WH 230 Low Reference
30 PK 1444 I/P Dimming Control
31 OG/WH 812 I/P Dimming Voltage
32 - - Not Used
33 BN 5077 Low Reference
34 BN/WH 1571 Traction Control Switch Signal
35 GY/BK 1598 Courtesy Lamps Switch Off Signal
36 PK/BK 1597 Courtesy Lamps Switch On Signal
37 TN/WH 1455 Keyless Entry Signal
38 L-GN 1037 Class 2 Serial Data
39 L-GN 526 Stop Lamp Supply Voltage
40 L-GN 80 Key In Ignition Switch Signal
41 L-BU/WH 1314 Left Front Turn Signal Lamp Supply Voltage
42 D-BU/WH 1315 Right Front Turn Signal Lamp Supply Voltage
43 GY/BK 690 Courtesy Lamp High Control
44 OG 1732 Inadvertent Power Courtesy Lamp
45 - - Not Used
46 RD/WH 340 Battery Positive Voltage
47 OG 228 Windshield Washer Pump Control
48 GY 8 Instrument Panel Lamp Supply Voltage
49 D-GN/WH 1135 A/T Shift Lock Control Solenoid Control (w/o AQW)
GN/WH 1135 A/T Shift Lock Control Solenoid Control (AQW)
50 RD/WH 240 Battery Positive Voltage
51 RD/WH 2440 Battery Positive Voltage
52 RD/WH 1240 Battery Positive Voltage