LEMON Manuals: Even more car manuals for everyone
Home >> Saturn >> 2005 >> Relay AWD >> Repair and Diagnosis (Single Page) >> Engine Performance >> System >> Engine Control System - 3.5L - Introduction (2 Of 2) >> Description and Operation >> Fuel System Description >> Fuel Sender Assembly

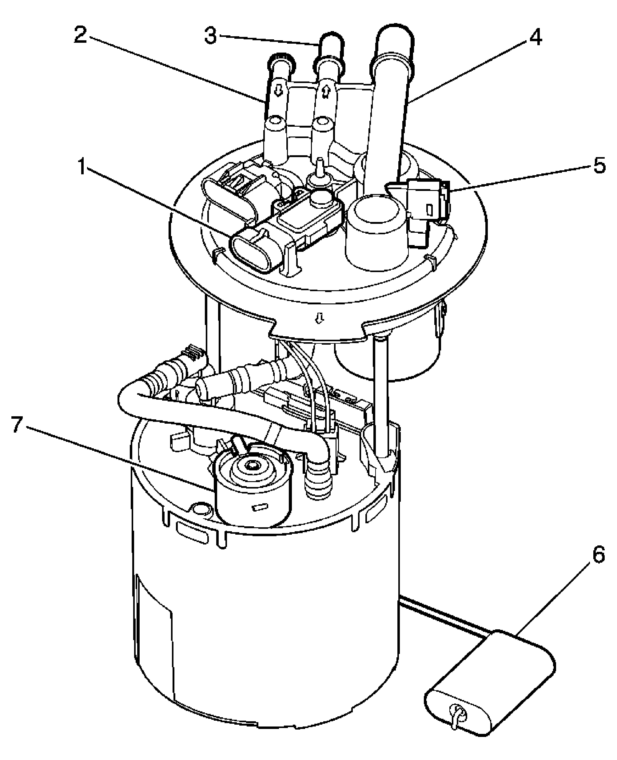
Fuel Sender Assembly

Fig 1: View Of Fuel Sender Assembly
GM1509865Courtesy of GENERAL MOTORS CORP.

The fuel sender assembly consists of the following major components: