LEMON Manuals: Even more car manuals for everyone
Home >> Saturn >> 2005 >> Relay AWD >> Repair and Diagnosis (Single Page) >> Engine Performance >> System >> Engine Control System - 3.5L - Introduction (2 Of 2) >> Component Locator >> Engine Controls Connectors >> Throttle Actuator Control (TAC) Module

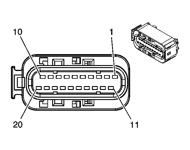
Throttle Actuator Control (TAC) Module

Fig 1: Throttle Actuator Control (TAC) Module Connector End View
GM1243581Courtesy of GENERAL MOTORS CORP.
Engine Controls Connector End Views

Connector Part Information 
  • OEM: 15355368
  • Service: 15355368
  • Description: 20-Way F GT 150 Series Sealed (GY)
Terminal Part Information 
  • Terminal: 15326267/Tray 19
  • Core/Insulation Crimp: E/4
  • Release Tool/Test Probe: 15315247/J-35616-2A
Throttle Actuator Control (TAC) Module

Pin Wire Color Circuit No. Function
1 TN 1274 5-Volt Reference
2 PU 1272 Low Reference
3 L-BU 1162 APP Sensor 2 Signal
4 D-GN 389 Vehicle Speed Signal
5 - - Not Used
6 L-GN 526 Stop Lamp Supply Voltage
7 OG/BK 1061 UART Serial Data (Secondary)
8 BK/WH 451 Ground
9-10 - - Not Used
11 D-BU 1161 APP Sensor 1 Signal
12 BN 1271 Low Reference
13 WH/BK 1164 5-Volt Reference
14-15 - - Not Used
16 TN 800 UART Serial Data (Primary)
17 BK/WH 451 Ground
18 PK 39 Ignition 1 Voltage
19-20 - - Not Used