LEMON Manuals: Even more car manuals for everyone
Home >> Saturn >> 2005 >> Relay AWD >> Repair and Diagnosis (Single Page) >> Electrical >> Wiring Diagrams >> OEM Connector End Views >> Powertrain Control Module (PCM) Connector End Views >> Powertrain Control Module (PCM) Connector End View C1

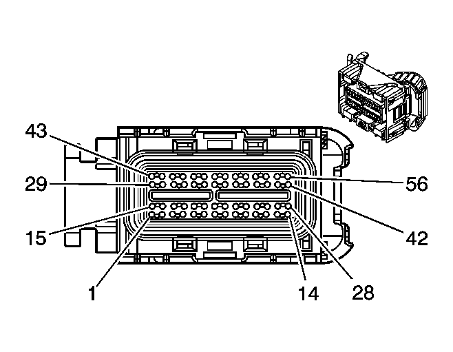
Powertrain Control Module (PCM) Connector End View C1

Fig 1: Powertrain Control Module (PCM) C1 Connector End View
GM1228485Courtesy of GENERAL MOTORS CORP.
Powertrain Control Module (PCM) Connector End Views

Connector Part Information 
  • OEM: 15452125
  • Service: 88953346
  • Description: 56-Way F Micro-Pack 64 Series (BU)
Terminal Part Information 
  • Terminal: 15359541/Tray 4
  • Core/Insulation Crimp: M/M
  • Release Tool/Test Probe: 15381651-2/J-35616-64A
Powertrain Control Module (PCM) C1

Pin Wire Color Circuit No. Function
1-3 - - Not Used
4 GY 2700 5-Volt Reference
5 - - Not Used
6 BN/WH 419 MIL Control
7 BK/WH 2751 Low Reference
8 TN 2759 Low Reference
9 - - Not Used
10 WH 1310 EVAP Canister Vent Solenoid Control
11-14 - - Not Used
15 D-GN 1049 Class 2 Serial Data
16-17 - - Not Used
18 BN 1141 Ignition 3 Voltage
19 PK 439 Ignition 1 Voltage
20 RD/WH 540 Battery Positive Voltage
21 - - Not Used
22 D-GN 389 Vehicle Speed Signal
23 YE/BK 625 Starter Enable Relay Control
24 BN 5069 Powertrain Relay Control
25 - - Not Used
26 D-GN 890 Fuel Tank Pressure Sensor Signal
27-30 - - Not Used
31 OG/BK 380 A/C Refrigerant Pressure Sensor Signal
32 L-GN 526 Stop Lamp Supply Voltage
33 D-GN/WH 459 A/C Compressor Clutch Relay Control
34-36 - - Not Used
37 D-GN/WH 465 Fuel Pump Relay Control
38-42 - - Not Used
43 PU 1589 Fuel Level Sensor Signal
44 GY 1884 Cruise Control Switch Signal
45-47 - - Not Used
48 D-GN 335 Low Speed Cooling Fan Relay Control
49 - - Not Used
50 D-BU 473 High Speed Cooling Fan Relay Control
51-52 - - Not Used
53 GY 2709 5-Volt Reference
54-56 - - Not Used