LEMON Manuals: Even more car manuals for everyone
Home >> Saturn >> 2005 >> Relay AWD >> Repair and Diagnosis (Single Page) >> Brakes >> Antilock Brake System, Traction Control System & Stability Control System >> Component Locator >> ABS Connectors >> Electronic Brake Control Module (EBCM)

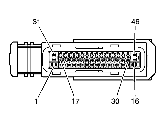
Electronic Brake Control Module (EBCM)

Fig 1: Electronic Brake Control Module (EBCM) Connector End View
GM1538768Courtesy of GENERAL MOTORS CORP.
ABS Connector End Views

Connector Part Information 
  • OEM: 15487791
  • Service: See Catalog
  • Description: 46-Way F Receptacle 1.5, 2.8, 4.8 Series Sealed (BK)
Terminal Part Information 
  • Pins: 1, 12-16, 24-28, 39-43
  • Terminal: 60012931/Tray 21
  • Core/Insulation Crimp: Pins 1, 12-16: C/1
  • Core/Insulation Crimp: Pins 24-28, 39-43: 2/1
  • Release Tool/Test Probe: 12122378/J-35616-4A
  • Pins: 5-11, 18-23, 29, 34-38, 44
  • Terminal: 60000611/Tray 21
  • Core/Insulation Crimp: 8/8
  • Release Tool/Test Probe: 15314260/J-35616-2A
  • Pins: 31, 46
  • Terminal: 60040461/Tray 21
  • Core/Insulation Crimp: D/3
  • Release Tool/Test Probe: 12093647/J-35616-40
Electronic Brake Control Module (EBCM)

Pin Wire Color Circuit No. Function
1 BK/WH 251 Ground
2-4 - - Not Used
5 D-GN/WH 2087 5-Volt Reference (JL4)
6 - - Not Used
7 L-BU 910 Yaw Rate Sensor Signal (JL4)
8-10 - - Not Used
11 L-BU 1122 Class 2 Serial Data
12 OG 885 Left Rear Wheel Speed Sensor Low Reference
13 TN 884 Left Rear Wheel Speed Sensor Signal
14-15 - - Not Used
16 PK 1039 Ignition 1 Voltage
17 - - Not Used
18 TN/BK 464 Delivered Torque Signal
19 D-GN 2087 5-Volt Reference (JL4)
20-22 - - Not Used
23 L-GN 1338 Lateral Accelerometer Signal (JL4)
24 TN 833 Right Front Wheel Speed Sensor Low Reference
25-26 - - Not Used
27 L-BU 830 Left Front Wheel Speed Sensor Signal
28 YE 873 Left Front Wheel Speed Sensor Low Reference
29 L-BU/WH 2088 Low Reference (JL4)
30 - - Not Used
31 BK/WH 251 Ground
32-33 - - Not Used
34 L-GN 1763 Steering Wheel Position Signal A (JL4)
35 L-BU 1764 Steering Wheel Position Signal B (JL4)
36-37 - - Not Used
38 OG/BK 463 Requested Torque Signal
39 D-GN 872 Right Front Wheel Speed Sensor Signal
40 - - Not Used
41 L-GN 526 Stop Lamp Supply Voltage
42 BN 882 Right Rear Wheel Speed Sensor Signal
43 WH 883 Right Rear Wheel Speed Sensor Low Reference
44 L-BU 2088 Low Reference (JL4)
45 - - Not Used
46 RD/BK 1442 Battery Positive Voltage