LEMON Manuals: Even more car manuals for everyone
Home >> Saturn >> 2005 >> Relay AWD >> Repair and Diagnosis (Single Page) >> Accessories & Equipment >> Wiper/Washer Systems >> Wiper System & Washer System >> Repair Instructions >> Wiper Motor Module Replacement >> Installation Procedure

Installation Procedure

    Fig 1: Removing/Installing Wiper Module
    GM1480117Courtesy of GENERAL MOTORS CORP.
  1. Position the wiper module (5) to the lower plenum in the driver side fender flange opening first.
  2. Fig 2: Positioning Wiper Module Assembly
    GM1527641Courtesy of GENERAL MOTORS CORP.
  3. Rotate the module (5) into the opening at the passenger side plenum.
  4. Ensure the rear center mount is secure into the sheet metal flange at the rear of the module.
  5. NOTE: Refer to Fastener Notice in Cautions and Notices.
  6. Install the wiper module bolts.

    Tighten:  Tighten the bolts in sequence, as shown, to 10 N.m (89 lb in).

  7. Fig 3: Disconnecting/Reconnecting Wiper Motor Connector
    GM1501847Courtesy of GENERAL MOTORS CORP.
  8. Connect the electrical connector (2) to the motor (1).
  9. Install the air inlet grille panel. Refer to Air Inlet Grille Panel Replacement (Chevrolet) or Air Inlet Grille Panel Replacement (Pontiac) or Air Inlet Grille Panel Replacement (Buick) in Body Front End.
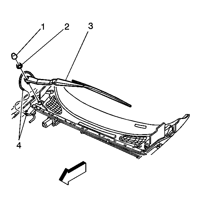
  10. Fig 4: Removing/Installing Wiper Arm
    GM1480118Courtesy of GENERAL MOTORS CORP.
  11. Install the driver side wiper arm (2). Refer to Wiper Arm Replacement (Driver Side)  or Wiper Arm Replacement (Passenger Side) .
  12. Fig 5: Removing/Installing Passenger Side Wiper Arm
    GM1480119Courtesy of GENERAL MOTORS CORP.
  13. Install the passenger side wiper arm (3). Refer to Wiper Arm Replacement (Driver Side)  or Wiper Arm Replacement (Passenger Side) .
  14. Secure the washer container. Refer to Washer Solvent Container Replacement .
  15. Close the hood.
  16. Inspect the wiper system for proper operation.