LEMON Manuals: Even more car manuals for everyone
Home >> Saturn >> 2005 >> L300 >> Repair and Diagnosis >> Engine Performance >> System >> Engine Controls - Introduction >> Component Locator >> Engine Controls Connector End Views

Engine Controls Connector End Views

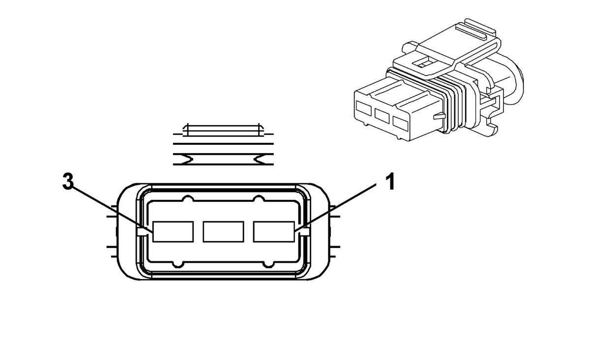
Accelerator Pedal Position (APP) Sensors

GM1468854Courtesy of GENERAL MOTORS CORP.
Connector Part Information
  • 6-929264-1
  • 6-Way F MT2 Housing (BK)
Pin Wire Color Circuit No. Function
1 YE 1274 5-Volt Reference
2 BN 1164 5-Volt Reference
3 GY 1161 APP Sensor 1 Signal
4 PK 1271 Low Reference
5 GN 2759 Low Reference
6 WH 1162 APP Sensor 2 Signal
Camshaft Position (CMP) Sensor

GM1282881Courtesy of GENERAL MOTORS CORP.
Connector Part Information
  • 15326597
  • 3-Way F Junior Power Timer Series Sealed (BK)
Pin Wire Color Circuit No. Function
1 PU/WH 652 Low Reference
2 BN/WH 633 CMP Sensor Signal
3 GY 416 5-Volt Reference A
Crankshaft Position (CKP) Sensor

GM1282881Courtesy of GENERAL MOTORS CORP.
Connector Part Information
  • 15326597
  • 3-Way F Junior Power Timer Series Sealed (BK)
Pin Wire Color Circuit No. Function
1 PU 574 Low Reference
2 YE 573 CKP Sensor Signal
3 BK/WH 451 Ground
Evaporative Emissions (EVAP) Canister Purge Solenoid

GM1283861Courtesy of GENERAL MOTORS CORP.
Connector Part Information
  • 12186308
  • 2-Way F Junior Power Timer Series Sealed (BK)
Pin Wire Color Circuit No. Function
1 OG 2440 Battery Positive Voltage
2 D-GN/WH 428 EVAP Canister Purge Solenoid Control
Evaporative Emissions (EVAP) Canister Vent Solenoid

GM684795Courtesy of GENERAL MOTORS CORP.
Connector Part Information
  • 12052643
  • 2-Way F Metri-Pack 150 Series Sealed (RD)
Pin Wire Color Circuit No. Function
A OG 2740 Ignition 1 Voltage
B WH 1310 EVAP Canister Vent Solenoid Control
Fuel Injectors

GM811175Courtesy of GENERAL MOTORS CORP.
Connector Part Information
  • 12065454
  • 2-Way F Metri-Pack 150 Series Sealed (BK)
Pin Wire Color Circuit No. Function
1 RD/BU 2640 Ignition 1 Voltage
2 BN/YE 1744 Fuel Injector 1 Control (Injector 1)
BN/L-GN 1745 Fuel Injector 2 Control (Injector 2)
BN/BU 1746 Fuel Injector 3 Control (Injector 3)
BN/RD 844 Fuel Injector 4 Control (Injector 4)
BN/BK 845 Fuel Injector 5 Control (Injector 5)
BN/PU 846 Fuel Injector 6 Control (Injector 6)
Fuel Pump and Sender Assembly

GM456551Courtesy of GENERAL MOTORS CORP.
Connector Part Information
  • 12160482
  • 4-Way F Metri-Pack 150 Series Sealed (BK)
Pin Wire Color Circuit No. Function
A PU 30 Fuel Level Sensor Signal
B GY 120 Fuel Pump Supply Voltage
C BK 650 Ground
D BK 2759 Low Reference
Fuel Tank Pressure (FTP) Sensor

GM816171Courtesy of GENERAL MOTORS CORP.
Connector Part Information
  • 15318087
  • 3-Way F Junior Power Timer Series Sealed (BK)
Pin Wire Color Circuit No. Function
1 GY 2709 5-Volt Reference A
2 BK 2759 Low Reference
3 D-GN 890 Fuel Tank Pressure Sensor Signal
Heated Oxygen Sensor (HO2S) Bank 1 Sensor 1

GM1341477Courtesy of GENERAL MOTORS CORP.
Connector Part Information
  • 15358613
  • 6-Way F Timer Micro II Series Sealed (BK)
Pin Wire Color Circuit No. Function
1 PU/WH 1665 HO2S Input Pump Current
2 PU 412 HO2S Reference Voltage
3 TN 413 HO2S Low Reference
4 BK/WH 751 HO2S Heater Low Control
5 OG 2740 Ignition 1 Voltage
6 TN 1667 HO2S Output Pump Current
Heated Oxygen Sensor (HO2S) Bank 1 Sensor 2

GM1341475Courtesy of GENERAL MOTORS CORP.
Connector Part Information
  • 15354677
  • 4-Way F Junior Power Timer Series Sealed (BK)
Pin Wire Color Circuit No. Function
1 OG 2440 Ignition 1 Voltage
2 BK/WH 151 HO2S Heater Low Control
3 TN/WH 1669 HO2S Low Signal
4 PU/WH 1668 HO2S High Signal
Heated Oxygen Sensor (HO2S) Bank 2 Sensor 1

GM1341477Courtesy of GENERAL MOTORS CORP.
Connector Part Information
  • 15358613
  • 6-Way F Timer Micro II Series Sealed (BK)
Pin Wire Color Circuit No. Function
1 PU 1666 HO2S Input Pump Current
2 TN/WH 1653 HO2S Reference Voltage
3 GY 1979 HO2S Low Reference
4 TN/WH 551 HO2S Heater Low Control
5 OG 2440 Ignition 1 Voltage
6 TN 1664 HO2S Output Pump Current
Heated Oxygen Sensor (HO2S) Bank 2 Sensor 2

GM1341475Courtesy of GENERAL MOTORS CORP.
Connector Part Information
  • 15354677
  • 4-Way F Junior Power Timer Series (BK)
Pin Wire Color Circuit No. Function
1 OG 2740 Ignition 1 Voltage
2 BK/WH 51 HO2S Heater Low Control
3 GY 1981 HO2S High Signal
4 TN 1671 HO2S Low Signal
Ignition Control Module (ICM) Bank 1

GM816175Courtesy of GENERAL MOTORS CORP.
Connector Part Information
  • 12186712
  • 6-Way F Junior Power Timer Series Sealed (BK)
Pin Wire Color Circuit No. Function
1 BK 250 Ground
2 PK 1539 Ignition 1 Voltage
3 YE 1157 Ignition Coil 5 Control
4 PK 1155 Ignition Coil 3 Control
5 L-BU 1153 Ignition Coil 1 Control
6 - - Not Used
Ignition Control Module (ICM) Bank 2

GM816174Courtesy of GENERAL MOTORS CORP.
Connector Part Information
  • 15336396
  • 6-Way F Junior Power Timer Series Sealed (BK)
Pin Wire Color Circuit No. Function
1 BK 250 Ground
2 PK 1539 Ignition 1 Voltage
3 TN 1158 Ignition Coil 6 Control
4 PU 1156 Ignition Coil 4 Control
5 D-BU 1154 Ignition Coil 2 Control
6 - - Not Used
Intake Manifold Runner Control Solenoid

GM811175Courtesy of GENERAL MOTORS CORP.
Connector Part Information
  • 12131678
  • 2-Way F Timer Series Sealed (BK)
Pin Wire Color Circuit No. Function
1 L-BU 1110 IMRC Solenoid Control
2 OG 2640 Ignition 1 Voltage
Knock Sensor (KS) 1

GM1283861Courtesy of GENERAL MOTORS CORP.
Connector Part Information
  • 12186308
  • 2-Way F Junior Power Timer Series Sealed (BK)
Pin Wire Color Circuit No. Function
1 D-BU 496 Knock Sensor 1 Signal
2 YE/BK 457 Low Reference
Knock Sensor (KS) 2

GM1283861Courtesy of GENERAL MOTORS CORP.
Connector Part Information
  • 12186308
  • 2-Way F Junior Power Timer Series Sealed (BK)
Pin Wire Color Circuit No. Function
1 L-BU 1876 Knock Sensor 2 Signal
2 YE/BK 452 Low Reference
Mass Air Flow (MAF) Sensor

GM1341472Courtesy of GENERAL MOTORS CORP.
Connector Part Information
  • 12186307
  • 5-Way F Junior Power Timer Series Sealed (BK)
Pin Wire Color Circuit No. Function
1 TN 472 IAT Sensor Signal
2 OG 2440 Ignition 1 Voltage
3 PU/WH 652 Low Reference
4 GY 416 5-Volt Reference A
5 YE 492 MAF Sensor Signal
Throttle Actuator Control (TAC) Module

GM831393Courtesy of GENERAL MOTORS CORP.
Connector Part Information
  • 15355474
  • 6-Way F Quadlok Micro Series Sealed (BK)
Pin Wire Color Circuit No. Function
1 YE 581 TAC Motor Control 1
2 PU/WH 652 Low Reference
3 PU - 5-Volt Reference
4 BN 582 TAC Motor Control 2
5 D-GN - TP Sensor 2 Signal
6 YE/BK - TP Sensor 1 Signal