LEMON Manuals: Even more car manuals for everyone
Home >> Saturn >> 2005 >> Ion 1 Standard >> Repair and Diagnosis >> Engine Performance >> System >> Engine Controls - Introduction >> Component Locator >> Engine Controls Connector End Views

Engine Controls Connector End Views

Accelerator Pedal Position (APP) Sensor

GM886053Courtesy of GENERAL MOTORS CORP.
Connector Part Information
  • 15326830
  • 6-Way F GT 150 Series Sealed (BK)
Pin Wire Color Circuit No. Function
A TN 1274 5-Volt Reference
B L-BU 1162 APP Sensor 2 Signal
C PU 1272 Low Reference
D BN 1271 Low Reference
E D-BU 1161 APP Sensor 1 Signal
F WH/BK 1164 5-Volt Reference
Crankshaft Position (CKP) Sensor

GM666646Courtesy of GENERAL MOTORS CORP.
Connector Part Information
  • 15336024
  • 2-Way F Metri-Pack 150 Series GT (BK)
Pin Wire Color Circuit No. Function
1 PU 574 Low Reference
2 YE 573 CKP Sensor Signal
Engine Coolant Temperature (ECT) Sensor

GM666646Courtesy of GENERAL MOTORS CORP.
Connector Part Information
  • 15336024
  • 2-Way F Metri-Pack 150 Series GT (BK)
Pin Wire Color Circuit No. Function
1 BK 2761 Low Reference
2 YE 410 ECT Sensor Signal
Evaporative Emission (EVAP) Canister Purge Solenoid

GM684795Courtesy of GENERAL MOTORS CORP.
Connector Part Information
  • 12052643
  • 2-Way F Metri-Pack 150 Series Sealed (RD)
Pin Wire Color Circuit No. Function
A PK/BK 5291 Ignition 1 Voltage
B D-GN/WH 428 EVAP Canister Purge Solenoid Control
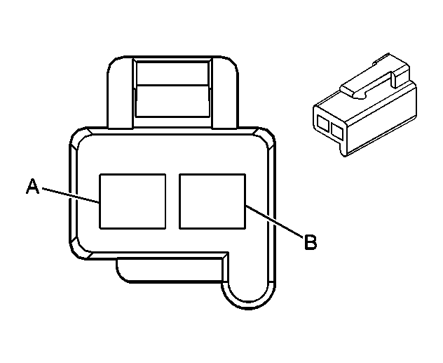
Evaporative Emission (EVAP) Canister Vent Solenoid

GM684795Courtesy of GENERAL MOTORS CORP.
Connector Part Information
  • 12052643
  • 2-Way F Metri-Pack 150 Series Sealed (RD)
Pin Wire Color Circuit No. Function
A OG 840 Battery Positive Voltage
B WH 1310 EVAP Canister Vent Solenoid Control
Fuel Injector 1

GM366123Courtesy of GENERAL MOTORS CORP.
Connector Part Information
  • 15326181
  • 2-Way F (BK)
Pin Wire Color Circuit No. Function
A PK 139 Ignition 1 Voltage
B BK 1744 Fuel Injector 1 Control
Fuel Injector 2

GM366123Courtesy of GENERAL MOTORS CORP.
Connector Part Information
  • 15326181
  • 2-Way F (BK)
Pin Wire Color Circuit No. Function
A PK 139 Ignition 1 Voltage
B L-GN/BK 1745 Fuel Injector 2 Control
Fuel Injector 3

GM366123Courtesy of GENERAL MOTORS CORP.
Connector Part Information
  • 15326181
  • 2-Way F (BK)
Pin Wire Color Circuit No. Function
A PK 139 Ignition 1 Voltage
B PK/BK 1746 Fuel Injector 3 Control
Fuel Injector 4

GM366123Courtesy of GENERAL MOTORS CORP.
Connector Part Information
  • 15326181
  • 2-Way F (BK)
Pin Wire Color Circuit No. Function
A PK 139 Ignition 1 Voltage
B L-BU/BK 844 Fuel Injector 4 Control
Fuel Pump

GM872554Courtesy of GENERAL MOTORS CORP.
Connector Part Information
  • 776127-2
  • 2-Way F AMP (BK)
Pin Wire Color Circuit No. Function
1 PK/BK 120 Fuel Pump Supply Voltage
2 BK 650 Ground
Fuel Tank Pressure (FTP) Sensor

GM516611Courtesy of GENERAL MOTORS CORP.
Connector Part Information
  • 12059595
  • 3-Way Metri-Pack 150 Series Sealed (BK)
Pin Wire Color Circuit No. Function
A RD/PK 469 Low Reference
B GY/RD 890 Fuel Tank Pressure Sensor Signal
C BN/WH 416 5-Volt Reference
Heated Oxygen Sensor (HO2S) 1

GM474210Courtesy of GENERAL MOTORS CORP.
Connector Part Information
  • 12176897
  • 4-Way F Metri-Pack 150 Series Sealed (GY)
Pin Wire Color Circuit No. Function
A TN 1667 HO2S Low Signal Sensor 1
B PU 1666 HO2S High Signal Sensor 1
C D-GN 676 HO2S Heater Low Control Sensor 1
D PK/BK 5291 Ignition 1 Voltage
Heated Oxygen Sensor (HO2S) 2

GM280761Courtesy of GENERAL MOTORS CORP.
Connector Part Information
  • 12160825
  • 4-Way M Metri-Pack 150 Series (BK)
Pin Wire Color Circuit No. Function
A TN/WH 1669 HO2S Low Signal Sensor 2
B PU/WH 1668 HO2S High Signal Sensor 2
C BK/WH 1423 HO2S Heater Low Control Sensor 2
D PK/BK 5291 Ignition 1 Voltage
Ignition Control Module (ICM)

GM877917Courtesy of GENERAL MOTORS CORP.
Connector Part Information
  • 15464996
  • 9-Way F GT 150 Series Sealed (BK)
Pin Wire Color Circuit No. Function
A PK/BK 5292 Ignition 1 Voltage
B WH 423 IC Timing Control
C-D - - Not Used
E BK/WH 451 Ground
F BN/WH 633 CMP Sensor Signal
G OG 406 IC Timing Control (B)
H-J - - Not Used
Knock Sensor (KS)

GM684799Courtesy of GENERAL MOTORS CORP.
Connector Part Information
  • 12077900
  • 2-Way F Metri-Pack 280 Series (BK)
Pin Wire Color Circuit No. Function
A D-BU 496 Knock Sensor Signal
B GY 1716 Low Reference
Manifold Absolute Pressure (MAP) Sensor

GM684840Courtesy of GENERAL MOTORS CORP.
Connector Part Information
  • 12129946
  • 3-Way F Metri-Pack 150 Series Sealed (M-GY)
Pin Wire Color Circuit No. Function
A OG/BK 469 Low Reference
B L-GN 432 MAP Sensor Signal
C GY 2704 5-Volt Reference
MAF/IAT Sensor

GM647974Courtesy of GENERAL MOTORS CORP.
Connector Part Information
  • 15326822
  • 5-Way F GT 150 Series Sealed (BK)
Pin Wire Color Circuit No. Function
A YE 492 MAF Sensor Signal
B BK/WH 451 Ground
C PK/BK 5291 Ignition 1 Voltage
D BK 2760 Low Reference
E TN 472 IAT Sensor Signal
Stop Lamp Switch - Lower (K34)

GM287957Courtesy of GENERAL MOTORS CORP.
Connector Part Information
  • 12041433
  • 2-Way F Metri-Pack 280 Series (BK)
Pin Wire Color Circuit No. Function
A PK 339 Ignition 1 Voltage
B PU 420 Stop Lamp Switch Signal
Stop Lamp Switch - Lower (w/o K34)

GM40397Courtesy of GENERAL MOTORS CORP.
Connector Part Information
  • 12033706
  • 4-Way F Metri-Pack 280 Series (BU)
Pin Wire Color Circuit No. Function
A PK 339 Ignition 1 Voltage
B PU 420 Stop Lamp Switch Signal
C-D - - Not Used
Throttle Body

GM646400Courtesy of GENERAL MOTORS CORP.
Connector Part Information
  • 15326835
  • 8-Way F GT 150 Sealed (BK)
Pin Wire Color Circuit No. Function
A D-GN 485 TP Sensor 1 Signal
B BK/WH 1704 Low Reference
C GY 2701 5-Volt Reference
D PU 486 TP Sensor 2 Signal
E BN 582 TAC Motor Control - 2
F YE 581 TAC Motor Control - 1
G BK 2752 Low Reference
H L-BU/BK 1688 5-Volt Reference