LEMON Manuals: Even more car manuals for everyone
Home >> Saturn >> 2004 >> Ion Red Line >> Repair and Diagnosis >> Engine Performance >> System >> Engine Controls (Introduction) >> Repair Instructions >> Fuel Level Sensor Replacement >> Installation Procedure

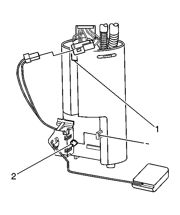
Installation Procedure

  1. Carefully slide the fuel level sensor into the slots on the fuel pump module bowl.
  2. Secure the retaining tab (2) on the sensor into the slot on the pump module bowl.
  3. Connect the fuel level sensor electrical connector to the pump module.
  4. Install the fuel level sensor wiring harness to the molded-in tab (1) on the pump module bowl.
  5. Fig 1: View Of Fuel Level Sensor Tabs
    GM889989Courtesy of GENERAL MOTORS CORP.
  6. Install the fuel pump module assembly. Refer to Fuel Pump Module Replacement .