LEMON Manuals: Even more car manuals for everyone
Home >> Saturn >> 2004 >> Ion Red Line >> Repair and Diagnosis >> Engine Performance >> System >> Engine Controls (Introduction) >> Description and Operation >> Fuel System Description >> Fuel Injectors

Fuel Injectors

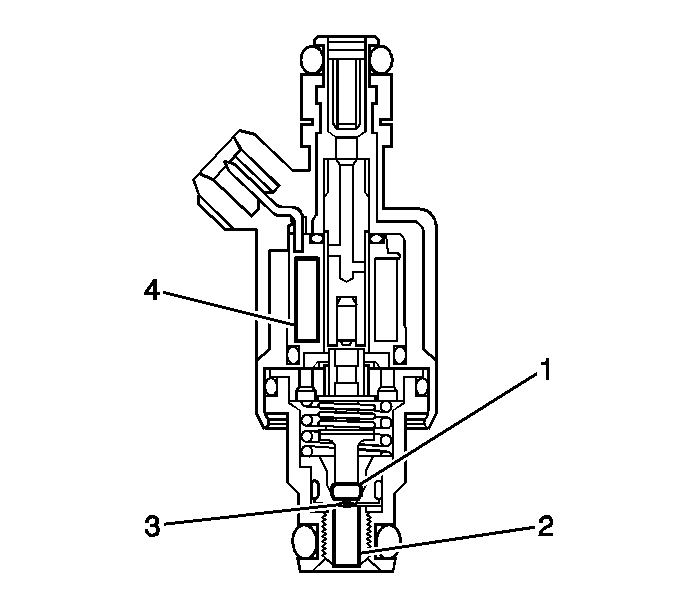
The fuel injector assembly is a solenoid device controlled by the control module that meters pressurized fuel to a single engine cylinder. The control module energizes the high-impedance, 12 ohm, injector solenoid (4) to open a normally closed ball valve (1). This allows fuel to flow into the top of the injector, past the ball valve, and through a director plate (3) at the injector outlet. The director plate has machined holes that control the fuel flow, generating a spray of finely atomized fuel at the injector tip. Fuel from the injector tip is directed at the intake valve, causing the fuel to become further atomized and vaporized before entering the combustion chamber. This fine atomization improves fuel economy and emissions.

Fig 1: Fuel Injector Assembly Cross Sectional View
GM783437Courtesy of GENERAL MOTORS CORP.