LEMON Manuals: Even more car manuals for everyone
Home >> Saturn >> 2004 >> Ion Red Line >> Repair and Diagnosis >> Engine Performance >> System >> Engine Controls (Introduction) >> Component Locator >> Engine Controls Connector End Views

Engine Controls Connector End Views

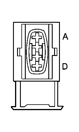
Accelerator Pedal Position (APP) Sensor Terminal Identification

GM886053Courtesy of GENERAL MOTORS CORP.
Connector Part Information
  • 15326830
  • 6-Way F GT 150 Series Sealed (BK)
Pin Wire Color Circuit No. Function
A TN 1274 5-Volt Reference
B L-BU 1162 APP Sensor 2 Signal
C PU 1272 Low Reference
D BN 1271 Low Reference
E D-BU 1161 APP Sensor 1 Signal
F WH/BK 1164 5-Volt Reference
After Cooler Pump Terminal Identification

GM811175Courtesy of GENERAL MOTORS CORP.
Connector Part Information
  • 12084126
  • 2-Way F Metri-Pack 280 Series (BK)
Pin Wire Color Circuit No. Function
1 BK 2022 Coolant Pump Control
2 BK/WH 1050 Ground
Barometric Pressure Sensor Terminal Identification

GM684840Courtesy of GENERAL MOTORS CORP.
Connector Part Information
  • 12129946
  • 3-Way F Metri-Pack 150 Series Sealed (GY)
Pin Wire Color Circuit No. Function
A OG/BK 6014 Low Reference
B GY/BK 433 BARO Sensor Signal
C WH/BK 2932 5-Volt Reference
Camshaft Position (CMP) Sensor Terminal Identification

GM1400090Courtesy of GENERAL MOTORS CORP.
Connector Part Information
  • 15336029
  • 3-Way GT 150 Series Sealed (BK)
Pin Wire Color Circuit No. Function
1 GY 596 5-Volt Reference
2 BN/WH 633 CMP Sensor Signal
3 PK/BK 632 Low Reference
Crankshaft Position (CKP) Sensor Terminal Identification

GM1403270Courtesy of GENERAL MOTORS CORP.
Connector Part Information
  • 1928403698
  • 2-Way F Bosch Kompakt (BK)
Pin Wire Color Circuit No. Function
1 PU 574 Low Reference
2 YE 573 CKP Sensor Signal
Engine Coolant Temperature (ECT) Sensor Terminal Identification

GM1403270Courtesy of GENERAL MOTORS CORP.
Connector Part Information
  • 1928403698
  • 2-Way F Bosch Kompakt (BK)
Pin Wire Color Circuit No. Function
1 BK 2761 Low Reference
2 YE 410 ECT Sensor Signal
Evaporative Emission (EVAP) Canister Purge Solenoid Terminal Identification

GM684795Courtesy of GENERAL MOTORS CORP.
Connector Part Information
  • 12052643
  • 2-Way F Metri-Pack 150 Series Sealed (RD)
Pin Wire Color Circuit No. Function
A PK/BK 5291 Ignition 1 Voltage
B D-GN/WH 428 EVAP Canister Purge Solenoid Control
Evaporative Emission (EVAP) Canister Vent Solenoid Terminal Identification

GM684795Courtesy of GENERAL MOTORS CORP.
Connector Part Information
  • 12052643
  • 2-Way F Metri-Pack 150 Series Sealed (RD)
Pin Wire Color Circuit No. Function
A OG 840 Battery Positive Voltage
B WH 1310 EVAP Canister Vent Solenoid Control
Fuel Injector 1 Terminal Identification

GM366123Courtesy of GENERAL MOTORS CORP.
Connector Part Information
  • 15326181
  • 2-Way F Micro-Pack 064 Sealed (BK)
Pin Wire Color Circuit No. Function
A PK/BK 5293 Ignition 1 Voltage
B BK 1744 Fuel Injector 1 Control
Fuel Injector 2 Terminal Identification

GM366123Courtesy of GENERAL MOTORS CORP.
Connector Part Information
  • 15326181
  • 2-Way F Micro-Pack 064 Sealed (BK)
Pin Wire Color Circuit No. Function
A PK/BK 5293 Ignition 1 Voltage
B L-BU/BK 844 Fuel Injector 2 Control
Fuel Injector 3 Terminal Identification

GM366123Courtesy of GENERAL MOTORS CORP.
Connector Part Information
  • 15326181
  • 2-Way F Micro-Pack 064 Sealed (BK)
Pin Wire Color Circuit No. Function
A PK/BK 5293 Ignition 1 Voltage
B PK/BK 1746 Fuel Injector 3 Control
Fuel Injector 4 Terminal Identification

GM366123Courtesy of GENERAL MOTORS CORP.
Connector Part Information
  • 15326181
  • 2-Way F Micro-Pack 064 Sealed (BK)
Pin Wire Color Circuit No. Function
A PK/BK 5293 Ignition 1 Voltage
B L-GN/BK 1745 Fuel Injector 4 Control
Fuel Pump Terminal Identification

GM872554Courtesy of GENERAL MOTORS CORP.
Connector Part Information
  • 776127-2
  • 2-Way F AMP (BK)
Pin Wire Color Circuit No. Function
1 PK/BK 120 Fuel Pump Supply Voltage
2 BK 650 Ground
Fuel Tank Pressure (FTP) Sensor Terminal Identification

GM516611Courtesy of GENERAL MOTORS CORP.
Connector Part Information
  • 12059595
  • 3-Way Metri-Pack 150 Series Sealed (BK)
Pin Wire Color Circuit No. Function
A RD/PK 469 Low Reference
B GY/RD 890 Fuel Tank Pressure Sensor Signal
C BN/WH 416 5-Volt Reference
Heated Oxygen Sensor (HO2S) 1 Terminal Identification

GM456551Courtesy of GENERAL MOTORS CORP.
Connector Part Information
  • 12160482
  • 4-Way F Metri-Pack 150 Series Sealed (BK)
Pin Wire Color Circuit No. Function
A TN 1667 HO2S Low Signal Sensor 1
B PU 1666 HO2S High Signal Sensor 1
C D-GN 676 HO2S Heater Low Control Sensor 1
D PK/BK 5291 Ignition 1 Voltage
Heated Oxygen Sensor (HO2S) 2 Terminal Identification

GM280761Courtesy of GENERAL MOTORS CORP.
Connector Part Information
  • 12160825
  • 4-Way M Metri-Pack 150 Series (BK)
Pin Wire Color Circuit No. Function
A TN/WH 1669 HO2S Low Signal Sensor 2
B PU/WH 1668 HO2S High Signal Sensor 2
C BK/WH 1423 HO2S Heater Low Control Sensor 2
D PK/BK 5291 Ignition 1 Voltage
Ignition Coil 1 Terminal Identification

GM1384254Courtesy of GENERAL MOTORS CORP.
Connector Part Information
  • 1928403440
  • 4-Way F Kompakt (BK)
Pin Wire Color Circuit No. Function
A PK/BK 5292 Ignition 1 Voltage
B TN/WH 6405 IC 1 Control
C VT 6413 Low Reference
D BK/WH 451 Ground
Ignition Coil 2 Terminal Identification

GM1384254Courtesy of GENERAL MOTORS CORP.
Connector Part Information
  • 1928403440
  • 4-Way F Kompakt (BK)
Pin Wire Color Circuit No. Function
A PK/BK 5292 Ignition 1 Voltage
B L-BU/WH 6408 IC 2 Control
C VT 6413 Low Reference
D BK/WH 451 Ground
Ignition Coil 3 Terminal Identification

GM1384254Courtesy of GENERAL MOTORS CORP.
Connector Part Information
  • 1928403440
  • 4-Way F Kompakt (BK)
Pin Wire Color Circuit No. Function
A PK/BK 5292 Ignition 1 Voltage
B D-BU/WH 6406 IC 3 Control
C VT 6413 Low Reference
D BK/WH 451 Ground
Ignition Coil 4 Terminal Identification

GM1384254Courtesy of GENERAL MOTORS CORP.
Connector Part Information
  • 1928403440
  • 4-Way F Kompakt (BK)
Pin Wire Color Circuit No. Function
A PK/BK 5292 Ignition 1 Voltage
B D-GN/WH 6407 IC 4 Control
C VT 6413 Low Reference
D BK/WH 451 Ground
Knock Sensor (KS) Terminal Identification

GM684799Courtesy of GENERAL MOTORS CORP.
Connector Part Information
  • 12077900
  • 2-Way F Metri-Pack 280 Series Sealed (BK)
Pin Wire Color Circuit No. Function
A D-BU 496 Knock Sensor Signal
B GY 1716 Low Reference
MAF/IAT Sensor Terminal Identification

GM647974Courtesy of GENERAL MOTORS CORP.
Connector Part Information
  • 15326822
  • 5-Way F GT 150 Sealed (BK)
Pin Wire Color Circuit No. Function
A YE 492 MAF Sensor Signal
B BK/WH 451 Ground
C PK/BK 5291 Ignition 1 Voltage
D BK 2760 Low Reference
E TN 472 IAT Sensor Signal
Manifold Absolute Pressure (MAP) Sensor Terminal Identification

GM1381341Courtesy of GENERAL MOTORS CORP.
Connector Part Information
  • 1928403736
  • 4-Way F (BK)
Pin Wire Color Circuit No. Function
1 D-GN/WH 6292 Low Reference
2 L-BU 6118 IAT 2 Sensor Signal
3 D-GN 6291 5-Volt Reference
4 GY 6337 MAP Sensor Signal
Super Charge Inlet Pressure Sensor Terminal Identification

GM684840Courtesy of GENERAL MOTORS CORP.
Connector Part Information
  • 12129946
  • 3-Way F Metri-Pack 150 Series Sealed (GY)
Pin Wire Color Circuit No. Function
A OG/BK 469 Low Reference
B L-GN 432 SCIP Sensor Signal
C GY 2704 5-Volt Reference
Supercharger By-Pass Valve Solenoid Terminal Identification

GM635009Courtesy of GENERAL MOTORS CORP.
Connector Part Information
  • 12052641
  • 2-Way F Metri-Pack 150 Series Sealed (BK)
Pin Wire Color Circuit No. Function
A PK 1039 Ignition 1 Voltage
B GY 1724 Boost Control Solenoid Control
Throttle Actuator Control (TAC) Module Terminal Identification

GM646400Courtesy of GENERAL MOTORS CORP.
Connector Part Information
  • 15326835
  • 8-Way F GT 150 Sealed (BK)
Pin Wire Color Circuit No. Function
A D-GN 485 TP Sensor 1 Signal
B L-BU/BK 1688 5-Volt Reference
C BK 2752 Low Reference
D PU 486 TP Sensor 2 Signal
E YE 581 TAC Motor Control - 1
F BN 582 TAC Motor Control - 2
G GY 2701 5-Volt Reference
H BK/WH 1704 Low Reference