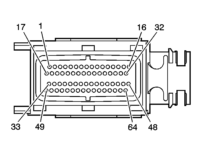
Transmission Control Module Harness 64-way Connector End View C2
Transmission Control Module Harness 64-way Connector End View C2
| Connector Part Information |
|
||
|---|---|---|---|
| Cavity | Wire Color | Circuit No. | Function |
| 1 | - | - | Not Used |
| 2 | YE | 657 | Transmission Fluid Pressure Sensor Signal |
| 3-5 | - | - | Not Used |
| 6 | PU | 401 | OSS Low Signal |
| 7-10 | - | - | Not Used |
| 11 | PU/WH | 5506 | Ratio Control Motor B1 Low Control |
| 12 | - | - | Not Used |
| 13 | D-GN | 5507 | Ratio Control Motor A2 Low Control |
| 14 | L-GN/WH | 5505 | Ratio Control Motor A1 Low Control |
| 15 | - | - | Not Used |
| 16 | D-BU/ WH | 5502 | TCC Enable Solenoid Valve Low Control |
| 17 | - | - | Not Used |
| 18 | BK/WH | 771 | Transmission Range Switch Signal A |
| 19 | - | - | Not Used |
| 20 | OG/BK | 586 | Transmission Fluid Temperature Sensor Low Reference |
| 21-28 | - | - | Not Used |
| 29 | BK | 452 | Low Reference |
| 30 | PK/ BK | 5501 | TCC Enable Solenoid Valve High Control |
| 31 | OG/BK | 5504 | Ratio Control Motor B2 Low Control |
| 32-43 | - | - | Not Used |
| 44 | YE/ BK | 5500 | TCC Pressure Control Solenoid Valve Low Control |
| 45 | BN | 418 | TCC Pressure Control Solenoid Valve High Control |
| 46-48 | - | - | Not Used |
| 49 | WH | 776 | Transmission Range Switch Signal P |
| 50 | WH | 5503 | Line Pressure Control Solenoid Valve Low Control |
| 51 | D-BU | 1530 | Line Pressure Control Solenoid Valve High Control |
| 52 | GY | 773 | Transmission Range Switch Signal C |
| 53 | - | - | Not Used |
| 54 | YE | 400 | OSS High Signal |
| 55 | D-BU/WH | 1231 | ISS Low Signal |
| 56 | TN/WH | 585 | Transmission Fluid Temperature Sensor Signal |
| 57 | GY | 596 | 5-Volt Reference |
| 58 | RD/BK | 1230 | ISS High Signal |
| 59 | YE | 772 | Transmission Range Switch Signal B |
| 60-64 | - | - | Not Used |