LEMON Manuals: Even more car manuals for everyone
Home >> Saturn >> 2002 >> L100 >> Repair and Diagnosis (Single Page) >> Quick Lookups >> Wiring Diagrams >> OEM Connector End Views >> Connector End Views >> 80-Pin Powertrain Control Module Connector End View

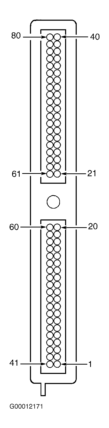
80-Pin Powertrain Control Module Connector End View

Fig 1: 80-Pin Powertrain Control Module
G00012171Courtesy of GENERAL MOTORS CORP.