LEMON Manuals: Even more car manuals for everyone
Home >> Saturn >> 2002 >> L100 >> Repair and Diagnosis (Single Page) >> Body & Frame >> Windows >> Mirror System, Window System & Rear Window Defogger >> Diagnostic Information and Procedures >> DTC B0285: Open Or Short To Ground In The Rear Defog Relay Control Circuit >> Notes

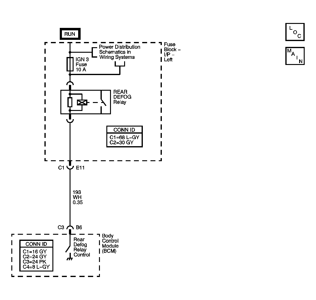
DTC B0285: Open Or Short To Ground In The Rear Defog Relay Control Circuit: Notes

Fig 1: DTC B0285
GM1247917Courtesy of GENERAL MOTORS CORP.