LEMON Manuals: Even more car manuals for everyone
Home >> Saturn >> 2000 >> SL1 Standard >> Repair and Diagnosis (Single Page) >> Engine Performance >> Testing & Diagnosis >> Engine Control System - Testing & Engine Component Testing >> Computerized Engine Controls >> Powertrain Control Module Connector Terminal Identification >> Notes

Powertrain Control Module Connector Terminal Identification: Notes

NOTE: The following connector terminal identification tables do not apply to Saturn vehicles. For circuit identification on Saturn vehicles, see appropriate SYSTEM WIRING DIAGRAMS article.
Fig 1: Identifying Powertrain Control Module Harness Connector Terminals (Except Saturn)
G98F00864Courtesy of GENERAL MOTORS CORP.
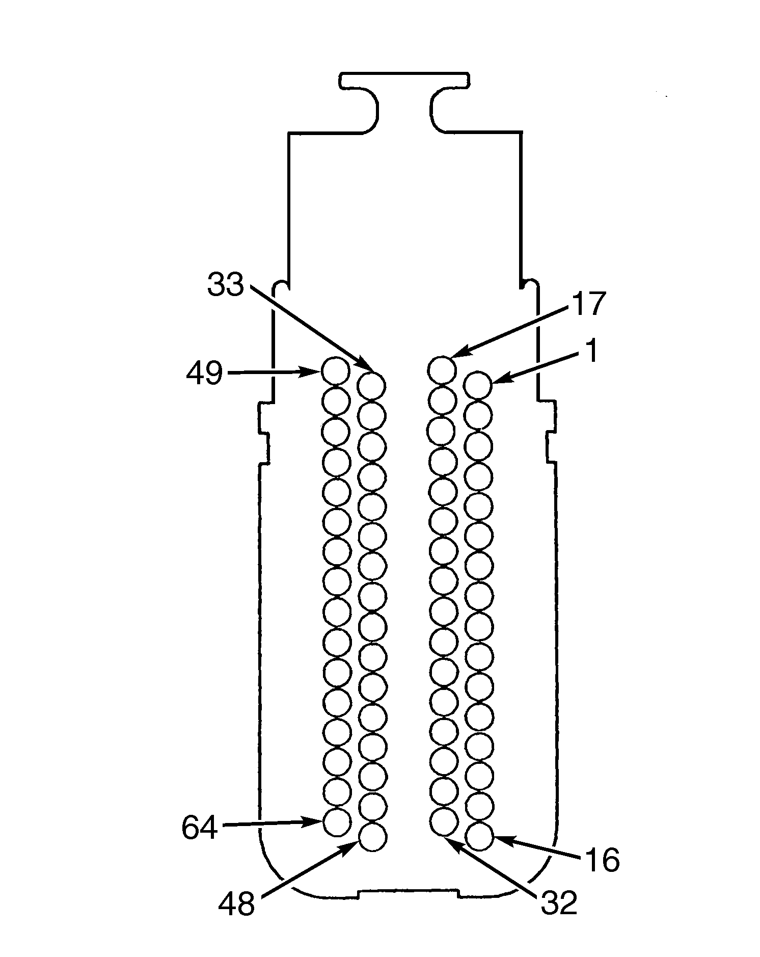
Fig 2: Identifying Powertrain Control Module Harness Connector Terminals (Saturn (Except 3.0L))
G00501055Courtesy of GENERAL MOTORS CORP.
Fig 3: Identifying Powertrain Control Module Harness Connector Terminals (J1) (Saturn 3.0L)
G00531717Courtesy of GENERAL MOTORS CORP.
Fig 4: Identifying Powertrain Control Module Harness Connector Terminals (J2) (Saturn 3.0L)
G00531718Courtesy of GENERAL MOTORS CORP.