LEMON Manuals: Even more car manuals for everyone
Home >> Saturn >> 1994 >> SW2 Standard >> Repair and Diagnosis >> Engine Performance >> System >> Engine Controls - System/Component Tests >> Engine Sensors & Switches >> Engine Controls - System/Component Tests >> Throttle Position (TP) Sensor

Throttle Position (TP) Sensor

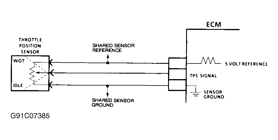
Install jumper wires to enable connection of a DVOM in parallel between TP sensor harness connectors. Connect DVOM positive lead to Dark Blue TP sensor signal wire terminal. Connect negative lead to Black, Black/Orange or Purple sensor ground wire terminal. See Fig 1 . Turn ignition on, with engine off. Signal voltage should gradually change from less than one volt at closed throttle to about 5.0 volts at wide open throttle position. If reading is not as specified, adjust or replace TP sensor. See ADJUSTMENTS article in this section.

A malfunction in the TP sensor circuit should set a related diagnostic trouble code. For further information, refer to the TESTS W/CODES article in this section.

Fig 1: Throttle Position (TP) Sensor Circuit (Saturn)
G91C07385Courtesy of GENERAL MOTORS CORP.