LEMON Manuals: Even more car manuals for everyone
Home >> Saab >> 2005 >> 9-7X Arc >> Repair and Diagnosis >> Engine Performance >> System >> Engine Controls - 5.3L - Introduction >> Component Locator >> Engine Controls Component Views

Engine Controls Component Views

Fig 1: View Of Engine Control Module (ECM)
GM1488862Courtesy of GENERAL MOTORS CORP.
Callout Component Name
1 Engine Control Module (ECM)
2 Engine Control Module (ECM) C3
3 Engine Control Module (ECM) C2
4 Engine Control Module (ECM) C1
Fig 2: View Of Camshaft Position (CMP) Sensor
GM1488863Courtesy of GENERAL MOTORS CORP.
Callout Component Name
1 Camshaft Position (CMP) Sensor
2 Camshaft Position (CMP) Sensor Jumper Harness
3 C110
4 Engine Harness
5 Engine
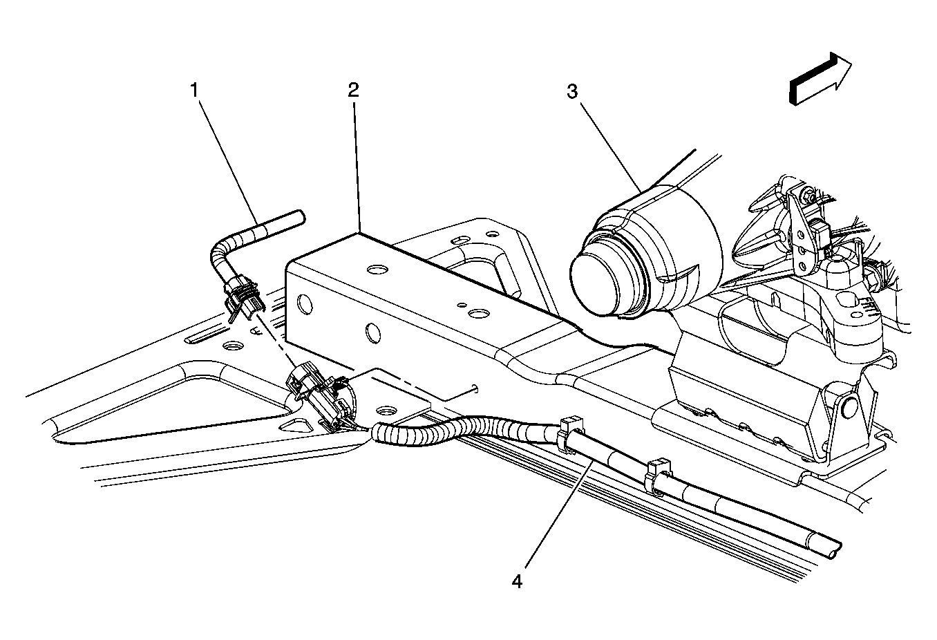
Fig 3: View Of Upper Left Side Of The Engine
GM1488867Courtesy of GENERAL MOTORS CORP.
Callout Component Name
1 Fuel Injector 1
2 Evaporative Emission (EVAP) Canister Purge Solenoid
3 Fuel Injector 3
4 Manifold Absolute Pressure (MAP) Sensor
5 Fuel Injector 5
6 Fuel Injector 7
7 Engine
8 Ignition Coil 7
9 Ignition Coil 5
10 Ignition Coil Harness
11 C109
12 Ignition Coil 3
13 Ignition Coil 1
Fig 4: View Of Lower Left Side Of Engine - Rear
GM1488868Courtesy of GENERAL MOTORS CORP.
Callout Component Name
1 G107
2 Knock Sensor (KS) 1 - Left
3 Engine
4 G109
5 Engine Harness
Fig 5: View Of Upper Right Side Of The Engine
GM1488864Courtesy of GENERAL MOTORS CORP.
Callout Component Name
1 Engine
2 Fuel Injector 8
3 Fuel Injector 6
4 Fuel Injector 4
5 Fuel Injector 2
6 Throttle Body
7 Ignition Coil 2
8 Ignition Coil 4
9 Ignition Coil Harness
10 C108
11 Ignition Coil 6
12 Ignition Coil 8
Fig 6: View Of Upper Right Side Of The Engine - Front
GM1488865Courtesy of GENERAL MOTORS CORP.
Callout Component Name
1 Engine
2 Engine Harness
3 Air Duct
4 Mass Air Flow (MAF)/Intake Air Temperature (IAT) Sensor
Fig 7: View Of Lower Right Side Of The Engine - Rear
GM1488866Courtesy of GENERAL MOTORS CORP.
Callout Component Name
1 Crankshaft Position (CKP) Sensor
2 Knock Sensor (KS) 2 - Right
3 Engine Harness
4 Starter
5 Engine
Fig 8: View Of Rear Of The Engine
GM1559158Courtesy of GENERAL MOTORS CORP.
Callout Component Name
1 Engine
2 Engine Harness
3 Engine Oil Pressure (EOP) Sensor
4 Heated Oxygen Sensor (HO2S) Bank 2 Sensor 1
5 Transmission
6 Heated Oxygen Sensor (HO2S) Bank 1 Sensor 1
Fig 9: View Of Right Side Of The Transmission
GM1488874Courtesy of GENERAL MOTORS CORP.
Callout Component Name
1 Vehicle Speed Sensor (VSS)
2 Heated Oxygen Sensor (HO2S) Bank 2 Sensor 2
3 Transmission
4 C175
5 Engine Harness
Fig 10: View Of Rear Of The Transmission
GM1488877Courtesy of GENERAL MOTORS CORP.
Callout Component Name
1 Heated Oxygen Sensor (HO2S) Bank 1 Sensor 2
2 Transmission Crossmember
3 Transmission
4 Engine Harness
Fig 11: View Of Accelerator & Brake Pedals
GM1488336Courtesy of GENERAL MOTORS CORP.
Callout Component Name
1 Instrument Panel Harness
2 Accelerator Pedal Position (APP) Sensor
3 Accelerator Pedal
4 Brake Pedal
5 Stop Lamp Switch
Fig 12: View Of Fuel Tank
GM1490767Courtesy of GENERAL MOTORS CORP.
Callout Component Name
1 Fuel Tank Pressue (FTP) Sensor
2 Fuel Pump and Sender Assembly
3 Chassis Harness
4 Fuel Tank
5 Evaporative Emission (EVAP) Canister Vent Solenoid