LEMON Manuals: Even more car manuals for everyone
Home >> Saab >> 2005 >> 9-5 Linear, Automatic >> Repair and Diagnosis >> Engine Performance >> TRIONIC T7 Fuel Control System, 4-CYL. >> Technical Description >> Ignition, Basic Function

Ignition, Basic Function

  1. Idling speed ignition timing 

    With idle speed control active, the timing is adjusted to stabilize the idling speed. The value is sent to box 3.

    Fig 1: Illustration For Steps 1-6
    G03856281Courtesy of SAAB-SCANIA OF AMERICA, INC.
  2. Normal ignition timing 

    When idle speed control is inactive, the ignition timing is read from a load and engine speed dependent matrix. The value from the matrix is optimized for the lowest fuel consumption (best engine torque). The value is sent to box 3.

  3. Selection of ignition timing 

    One of the ignition timing calculations is selected depending on which function is active. The value is sent to box 6.

  4. Catalytic converter heating timing 

    In order to heat up the catalytic converter as fast as possible after start, the ignition will be retarded. This is a compensation matrix that is added to the value in box 3. The matrix is dependent on load and engine speed.

  5. Engagement of catalytic converter preheating timing 

    The function is active when the coolant temperature is above -10°C but below +64°C.

  6. Total 

    The value from box 5 is added to the value from box 3.

  7. Compensation 

    The ignition timing is corrected depending on the engine coolant temperature and intake air temperature. The value is sent to box 6.

    Fig 2: Illustration For Steps 7-9
    G03856282Courtesy of SAAB-SCANIA OF AMERICA, INC.
  8. Knock control 

    If knocking occurs, a timing retardation will be calculated. The value is sent to box 6.

  9. Total 

    The compensation angle and knock retardation are totalled to give the current ignition timing. The value is sent to box 7.

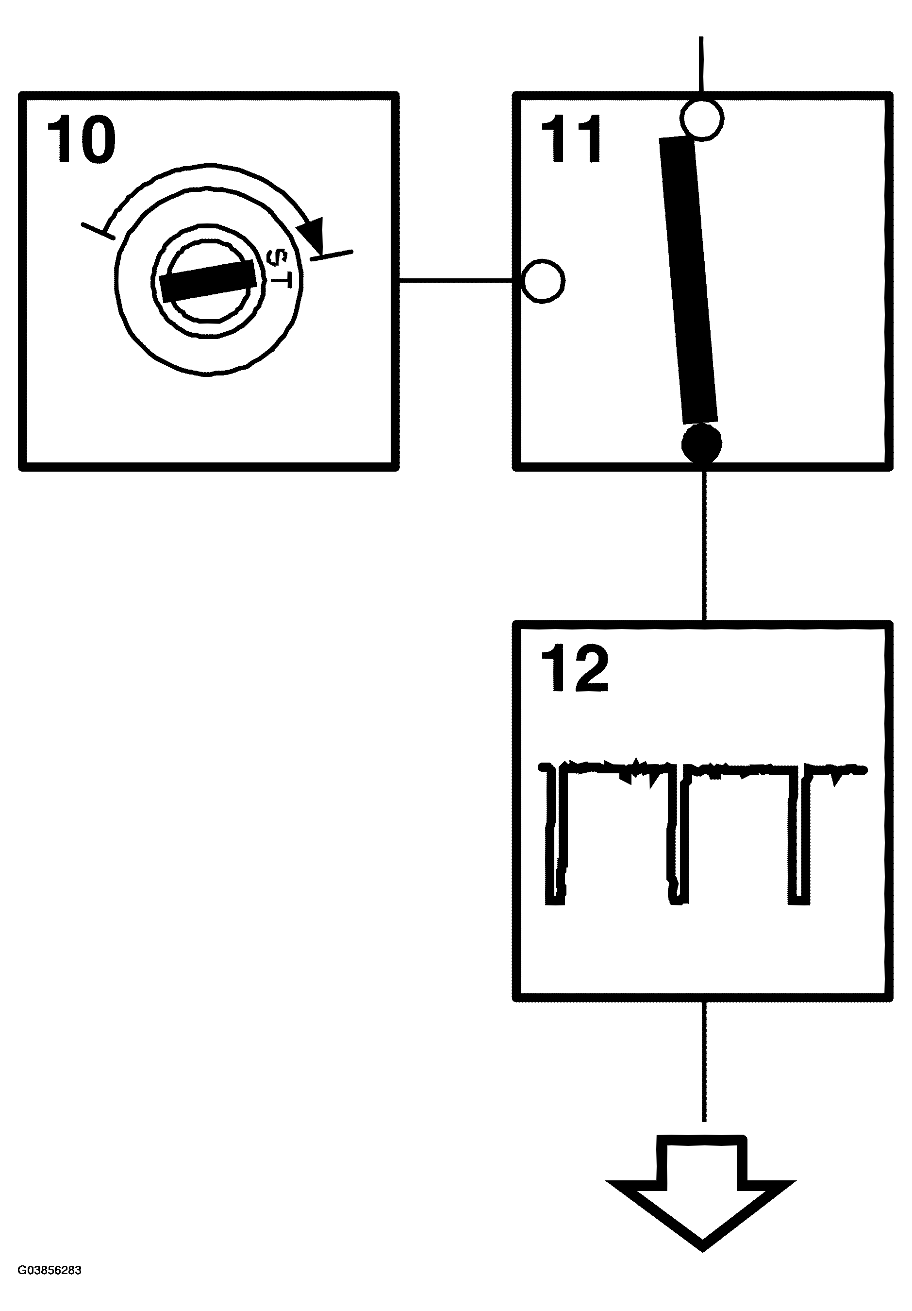
  10. Selection of ignition timing 

    Starting ignition timing is selected when the engine has not yet been started. The value is sent to box 9.

    Fig 3: Illustration For Steps 10-12
    G03856283Courtesy of SAAB-SCANIA OF AMERICA, INC.
  11. Starting ignition timing 

    Initial ignition timing is calculated depending on intake air temperature and engine coolant temperature. The value is sent to box 9 via box 7.

  12. Activate relevant trigger 

    At the calculated crankshaft angle, the microprocessor controls the transistor for the trigger that is next in the firing order.