LEMON Manuals: Even more car manuals for everyone
Home >> Saab >> 2005 >> 9-5 Linear, Automatic >> Repair and Diagnosis >> Engine Performance >> TRIONIC T7 Fuel Control System, 4-CYL. >> Fault Diagnosis, General >> Connectors, Handling And Checking >> Checking

Connectors, Handling And Checking: Checking

  1. Check for any contact problems in connections.
  2. Check contacts, connectors and crimp connections with respect to oxidation, loose pins and pin clamping force.
    IMPORTANT: Incorrect handing or the use of the wrong tool can damage the sleeves in the connector.
    Use a test cable (Part no. 81 12 731) of the correct size to avoid damaging the sleeves in the connector.
  3. To check the connector clamping force, use a test cable with the right pin size (from kit 86 12 731).
    NOTE: Using a test cable that is too big will damage connector sleeves.
    • Insert the test cable pin into the connector pin to feel the clamping force of the pins in question. Poor clamping force of the connector pins can cause bad contact.
      Fig 1: Precaution For Inserting Test Cable Pin Into Connector Pin
      G03856099Courtesy of SAAB-SCANIA OF AMERICA, INC.
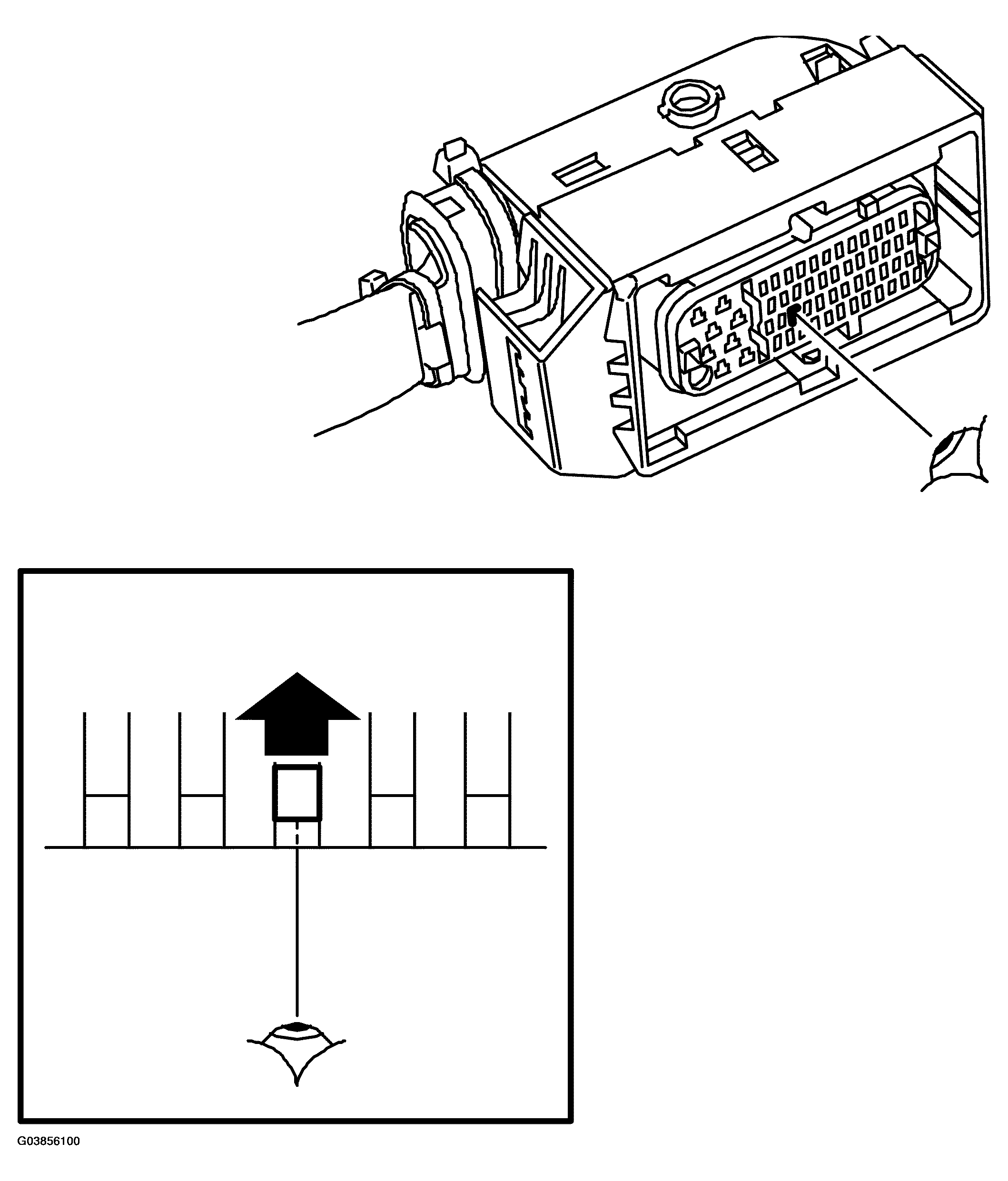
    • Also check that the engagement height of the pin is the same as the other pins in the connector. An engagement height that is too low could be an indication of a loose pin in the connector, which could cause bad contact.
      Fig 2: Inspecting Connector Pins Engagement Height
      G03856100Courtesy of SAAB-SCANIA OF AMERICA, INC.
  4. Check wires and connections for open circuits.
  5. Check wiring harness, connectors and ground connections.