LEMON Manuals: Even more car manuals for everyone
Home >> Saab >> 2004 >> 9-5 Linear, Automatic >> Repair and Diagnosis >> External Pages >> Different car >> Section 42 (Control Module (Late; 9440)) >> Adjustment-Replacement >> Tire Pressure Monitoring Module (753) >> To fit

To fit

WARNING: This page is about a different car, the 2003 Saab 9-3. However, it is still accessible from the selected car via links, so may be relevant.
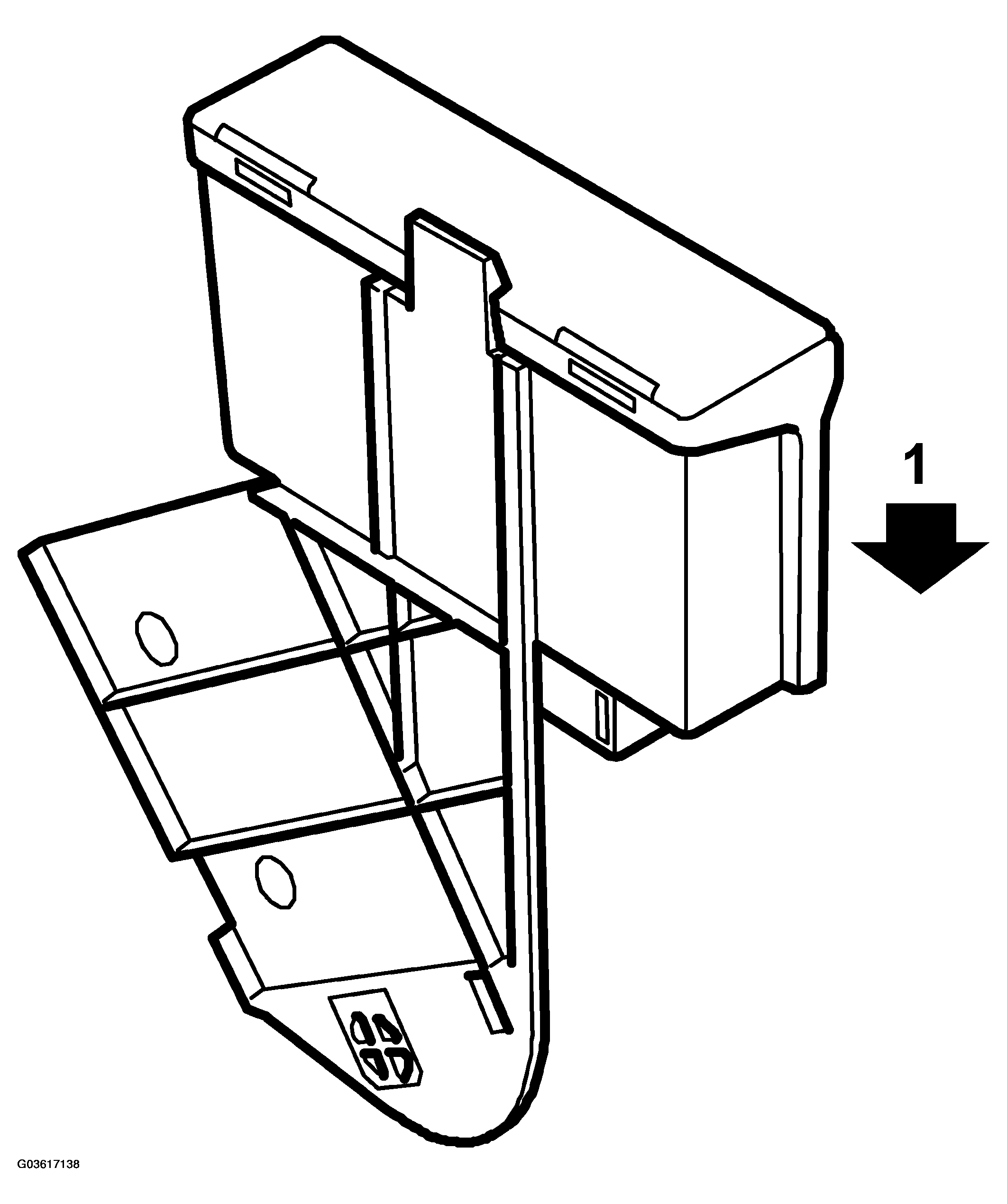
  1. Fit the receiver to the holder.
    Fig 1: Illustration For Step 1
    G03617138Courtesy of SAAB-SCANIA OF AMERICA, INC.
  2. Fit the holder with receiver.
    Fig 2: Illustration For Step 2 And 3
    G03617139Courtesy of SAAB-SCANIA OF AMERICA, INC.
    IMPORTANT: Take care when plugging in the connector so as not to damage or press out the pins/sleeves in the connector. For further information regarding connectors, refer to CONNECTORS, HANDLING AND INSPECTION .
  3. Plug in the connector.
    NOTE: Make sure that the switch locks properly.
  4. Fit the cover to the center console.
    Fig 3: Illustration For Step 4
    G03617140Courtesy of SAAB-SCANIA OF AMERICA, INC.
  5. When fitting a new control module:  Carry out procedures after fitting a control module.