LEMON Manuals: Even more car manuals for everyone
Home >> Saab >> 2004 >> 9-3 Linear, Standard >> Repair and Diagnosis >> Electrical >> Body Electrical >> Control Module >> Adjustment - Replacement >> Tire Pressure Monitoring Module (753) >> To remove

To remove

  1. If a new control module is to be fitted:  Carry out procedures before fitting a control module.
  2. Remove the LH cover from the center console.
    Fig 1: Illustration For Step 2
    G03719271Courtesy of SAAB-SCANIA OF AMERICA, INC.
  3. Remove the holder with the receiver.
    Fig 2: Illustration For Steps 3-4
    G03719272Courtesy of SAAB-SCANIA OF AMERICA, INC.
    IMPORTANT: Take care when releasing the locking mechanism on the connector so as not to damage the connector. Pull the halves straight apart to avoid bending the pins. For further information regarding connectors, refer to CONNECTORS, HANDLING AND INSPECTION  .
  4. Remove the connector.
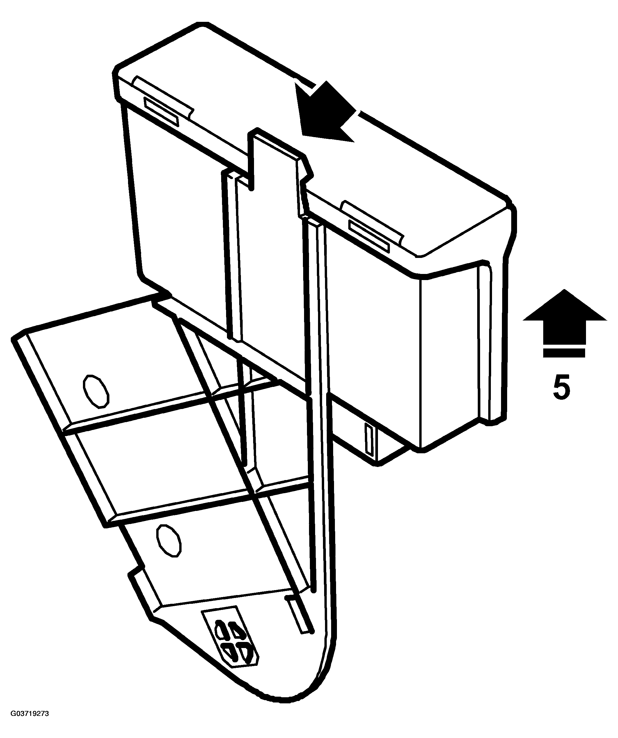
  5. Remove the receiver from the holder.
    Fig 3: Illustration For Step 5
    G03719273Courtesy of SAAB-SCANIA OF AMERICA, INC.