LEMON Manuals: Even more car manuals for everyone
Home >> Saab >> 2003 >> 9-3 Vector, Standard >> Repair and Diagnosis >> Engine Performance >> System >> TRIONIC T7 Fuel Control System >> Technical Description >> Ignition, basic function

Ignition, basic function

  1. IDLING SPEED IGNITION TIMING  

    With idle speed control active, the timing is adjusted to stabilize the idling speed. The value is sent to box 3.

    Fig 1: Illustration For Steps 1-6
    G03577002Courtesy of SAAB-SCANIA OF AMERICA, INC.
  2. NORMAL IGNITION TIMING  

    When idle speed control is inactive, the ignition timing is read from a load and engine speed dependent matrix. The value from the matrix is optimized for the lowest fuel consumption (best engine torque). The value is sent to box 3.

  3. Selection of ignition timing 

    One of the ignition timing calculations is selected depending on which function is active. The value is sent to box 6.

  4. CATALYTIC CONVERTER HEATING IGNITION  

    In order to heat the catalytic converter as quickly as possible after starting, the ignition will be retarded. This is a compensation matrix that is added to the value from box 3. The matrix is dependent on load and engine speed.

  5. Engaging catalytic converter heating ignition 

    The function is active when the coolant temperature is above -10°C but below +64°C.

  6. Total 

    The value from box 5 is added to the value from box 3.

  7. Compensation 

    The ignition timing is corrected depending on the engine coolant temperature and intake air temperature. The value is sent to box 6.

    Fig 2: Illustration For Steps 7-9
    G03577003Courtesy of SAAB-SCANIA OF AMERICA, INC.
  8. Knock control 

    If knocking occurs, a timing retardation will be calculated. The value is sent to box 6.

  9. Total 

    The compensation angle and knock retardation are totalled to give the current ignition timing. The value is sent to box 7.

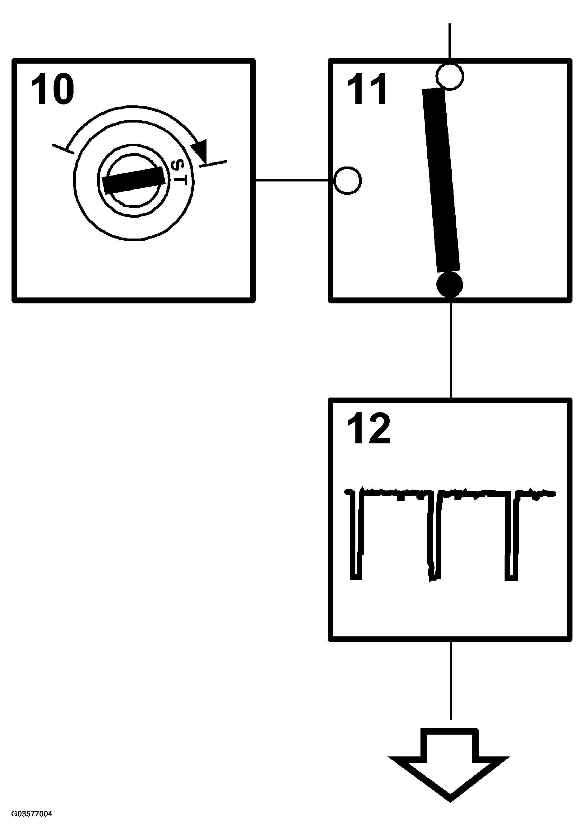
  10. Selection of ignition timing 

    Starting ignition timing is selected when the engine has not yet been started. The value is sent to box 9.

    Fig 3: Illustration For Steps 10-12
    G03577004Courtesy of SAAB-SCANIA OF AMERICA, INC.
  11. STARTING IGNITION TIMING  

    The starting ignition timing is calculated depending on the intake air temperature and the coolant temperature. The value is sent to box 9 via box 7.

  12. Activate relevant trigger 

    At the calculated crankshaft angle, the microprocessor controls the transistor for the trigger that is next in the firing order.